所屬科目:機械原理(機械概論、大意)
1.如圖所示之複式滑車,設重量 W 上升的線速度是 1cm/min,則作用力 P 的線速度應為若干 cm/min (A)32 (B)4 (C)8 (D)16。
4.如圖所示之機構,若不計摩擦損耗,其機械利益為(A)3(B)4(C)5 (D)6。
6.如圖所示之滑車組,若不計摩擦損失,則其機械利益為若干?(A)15 (B)12 (C)17 (D)4。
8.如圖所示滑車組,已知其機械效率為 85%,若欲吊起 W=3000N 之重物,則應施力 F 多少 N? (A)375 (B)441 (C)500 (D)583。
12.如圖所示之動滑車,若不計磨損,則其機械利益為 (A)4 (B)2 (C) 1/2(D)1。
17.如圖所示之滑車,其機械利益為 (A)2 (B)8 (C)4 (D)1。
21.如圖所示之滑車,其機械利益為 (A)4 (B)3 (C)1 (D)2。
24.如圖之滑車裝置,若機械效率為 70%,欲升起 2800 公斤的物體,則施力 F 為多少公斤 (A)500 (B)800 (C)1000 (D)1200。
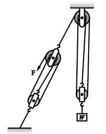
27.如圖所示之滑車,若 W = 960N,則施力 F 至少為 (A)120 N (B)360 N (C)180 N (D)480 N。
28.如圖所示之滑車組,若不計摩擦損失, W =1000 kg 時,F 須多少 kg 方可將之吊起? (A)250 (B)200 (C)333.3 (D)500。
29.如圖所示之滑車組,施力 F = 200N,且不計摩擦損失,則所能舉起之重物 W 為 (A)200N (B)800N (C)400N (D)50N。
31.一滑輪組機構如圖所示,其機械利益為何? (A)3 (B)4 (C)5 (D)7。
32.如圖所示,其機械利益為 (A)5 (B)6 (C)7 (D)4。
35.如圖,若 1 D = 24cm , 2 D = 20cm,W = 400kg ,則需拉力 F 多少公斤 (A)43 (B)53 (C)33 (D)23。
36.如圖所示之滑車,若施力 F 為 100N,且機械效率 40%,則可吊起重物 W 為 (A)300N (B)240N (C)120N (D)600N。
37.如圖所示之滑車組,其機械利益為 (A)8 (B)4 (C)6 (D)2。
44.如圖所示之機構,其機械利益為 (A)12 (B)14 (C)15 (D)16。
45.如圖所示之滑車組,若 F = 40N,則可吊起重物 W 為 (A)150 N (B)100 N (C)240 N (D)300 N。
47.如圖所示,若欲起 120kg 之重物W,則需拉力 F (A)8kg (B)10kg (C)12kg (D)15kg。
49.差動滑車中,定滑輪之大輪半徑為 R,小輪半徑為 r,作用力為 P,則可舉升之重量為 (A)(B)(C)(D)
50.如圖所示之西班牙滑車,機械效率為 60%,施力 80kg 可吊起重物若干 (A)144 kg (B)240 kg (C)344 kg (D)44 kg。