阿摩線上測驗
登入
首頁
>
鋼構工程-組配
> 無年度 - 18901 鋼構工程(組配) 丙級 工作項目 01:識圖#19769
無年度 - 18901 鋼構工程(組配) 丙級 工作項目 01:識圖#19769
科目:
鋼構工程-組配 |
選擇題數:
67 |
申論題數:
0
試卷資訊
所屬科目:
鋼構工程-組配
選擇題 (67)
1. 依 CNS 規定,形鋼符號中之
代表 (A)角鋼(B)槽形鋼(C)T形鋼(D)L形鋼。
2.
依 CNS 規定,如左圖所示,下列有關材料表示法何者正確? (A)L lxAxBxt1xt2 (B)L AxBxt1xt2─l (C)L AxBxt1xt2xl (D) L AxBxlxt1xt2。
3.
依 CNS 規定,有關左圖之表示法,下列何者正確? (A)L AxBxt1xt2xl (B)[ AxBxt1xt2─l (C)T AxBxt1xt 2xl (D)I AxBxt1xt2─l。
4. 請判斷下列符號與名稱之配對,何者錯誤?a─符號"L"、b─符號"I"、c─符號"["、d─符號"T", A─T 形鋼,B ─角鋼,C─槽鋼,D─I 形鋼 (A)b-D(B)a-C(C)a-B(D)d-A。
5. 請問圓鋼管表示符號為何? (A)d─x(B)d─t(C)dxt─l(D)dx─l。
6. 下列何種鋼材符號之表示方法為"□bxt─l"? (A)方鋼(B)方管(C)長方管(D)四角鋼。
7. 依 CNS 規定,鋼材符號"
",指的是: (A)鋼板(B)墊片(C)扁鋼(D)方鋼。
8. 下列有關鋼結構之畫法、敘述何者錯誤? (A)一般表示法依CNS﹝工程裝圖(一般準則)﹞之投影法繪製(B)可 持用簡易法,用粗實線表示每一構件,各接頭及需要顯示其詳細性質之處,應另附局部詳細圖表示(C)可採簡易 法,用粗實線表示每一構件,但不必另附詳圖,只依經驗施工即可(D)不管使用CNS3規範或簡易法畫圖,皆須 完整表現各部詳細圖示。
9. 下列有關螺栓、螺帽接合之表示法中,幾號直徑之螺栓做為螺栓孔(d+1)㎜及(d+15)㎜之開孔依據: (A)M16(B)M17(C)M18(D)M19。
10. 於螺栓、螺帽接合之表示法中,若螺栓標稱直徑在 M16 以下時,則螺栓孔之直徑約為: (A)d ㎜ (B)(d+0.1)㎜ (C)(d+ 1)㎜ (D)(d+2)㎜。
11. 於螺栓、螺帽接合之表示法中,若螺栓標稱直徑在 M16 以上時,則螺栓孔之直徑約為: (A)(d+1)㎜ (B)(d+1.5)㎜ (C)(d+2)㎜ (D)(d+2.5)㎜。
12. 下列有關螺栓、螺帽接合之表示法敘述何者正確? (A)不管任何直徑之螺栓,螺栓孔之直徑皆須大於螺栓直徑1㎜(B)不管任何直徑之螺栓,螺栓孔之直徑皆須大於螺栓直徑1.5㎜(C)為強化螺栓接合之強度,螺栓孔之開孔直 徑必須與螺栓直徑相同 (D)螺栓直徑為M16以下時,螺栓孔徑當為(d+1)㎜,螺栓直徑為M16以上時,螺栓孔徑 當為(d+1.5)㎜。
13.
如左圖,試問下列敘述何者錯誤? (A)螺栓直徑為10㎜,長度為25㎜ (B)螺栓於工廠栓接完成(C)螺栓於現場進行栓接(D)共有五支六角頭螺栓,且間距為100㎜。
14. 下列有關螺栓及螺栓孔之開孔及栓接栓接符號之描述,何者不正確? (A)
工廠鑽螺栓孔(B)
現場鑽螺 栓孔(C)
工廠鑽螺栓孔,現場栓接(D)
工廠鑽螺栓孔,現場栓接。
15. 下列有關螺栓及螺栓孔之開孔及栓接栓接符號之描述,何者正確? (A)
表示工廠鑽螺栓孔 (B)
工廠螺栓接(C)
工廠鑽螺栓孔,現場栓接(D)
現場鑽螺栓孔,現場栓接。
16.
如左圖之圖示,下列敘述何者正確? (A)工廠栓接(B)螺帽端用單線表示(C)現場鑽螺栓孔且現場栓接 (D)工廠鑽螺栓孔,現場栓接。
17. 在鋼結構施工圖中,下列有關「墊片」之敘述,何者不正確? (A)墊片用符號〝F〞表示,寫在墊片尺度之後, 如:8x80x315─2F(B)墊片用符號〝F〞表示,寫在墊片尺度之前,如:2F 8x80x315(C)墊片用平行斜線表示 (D)若墊 片面積很大時,其中間部分之平行線可省略不畫。
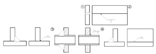
18.
如上圖,三種尺度標註法,在鋼結構中,何者正確? (A)圖1、圖2(B)圖2圖3(C)圖1、圖3(D)圖1、圖2、圖3。
19. 依 CNS 規定,下列有關尺度標註法之敘述,何者不正確? (A)構件呈弧形時,只需標記弧長即可,不必加註半徑 (B)結構件之符號及標稱尺度,可寫在構件上、下或側面附件(C)構件件號之編列,依順時針方向妥為安排,並以 較大之字體寫於符號及尺度之後(D)構件呈弧形時,必須同時標記弧長及半徑。
20. 依 CNS 規定,下列有關鋼鐵符號之編碼原則分為三段(如 S S 400),請問前半段部分、中段部分,後段部分,分 別表示何種意義: (A)標準名稱(製品名稱)、材質、種類(B)材質、種類、標準名稱(製品名稱)(C)材質、標準名稱(製 品名稱)、種類(D)種類、標準名稱(製品名稱)、材質。
21. 依 CNS 規定,一般鋼鐵符號後段部分之部分皆以數字表示,如:SS400,試問"400"之意義,下列何者正確? (A)材料種類號碼(B)最低抗拉強度、最低降伏強度(C)最低降伏強度(D)材料種類號碼、最低抗拉強度、最低降伏強度。
22. 下列鋼鐵符號中,何者為銲接結構用軋鋼料之代號? (A)SN(Steel New Structure) (B)SM(Steel Marine) (C)SR(Steel Roun d) (D)SS(Steel Structure)。
23. 請問建築結構用軋鋼料之鋼鐵符號為: (A)SN(Steel New Structure) (B)SM(Steel Marine) (C)SD(Steel Defromed) (D)SV(Ste el Rivet)。
24. 鋼鐵符號 SMA(Steel Marine Atmospheric)代表何種鋼料? (A)建築結構用軋鋼料(B)銲接結構用軋鋼料(C)高耐侯性軋 鋼料(D)銲接結構用耐侯性熱軋鋼料。
25. 鋼材符號 SWH(Steel weld H),指的是何種鋼料? (A)高耐候性軋鋼料(B)一般結構用銲接H型輕型鋼(C)一般結構用 輕型鋼(D)一般結構用軋鋼料。
26. 下列何者不是鋼結構工程中施工圖之內容? (A)電銲標準圖(B)柱、大樑結構圖(C)小樑、斜撐詳圖(D)門窗詳圖。
27. 下列何者不是鋼結構工程中施工圖之內容? (A)基地配置圖(B)安裝圖(C)電梯立柱環樑圖(D)帷幕掛件圖。
28. 一般鋼結構施工圖採用之圖紙尺寸,目前以何種規格為主? (A)A4(B)A3(C)B4(D)B3。
29. 有關鋼構造施工圖之圖號,下列何者不正確? (A)安裝圖為E(B)製造圖(C)C(D)通常圖 G 銲接圖 W。
30. 依 CNS 規定,鋼結構工程之施工圖,圖樣尺寸之單位為何? (A)㎜(B)cm(C)dm(D)m。
31. 依 CNS 規定,尺度界線與輪廓線距離為 (A)1㎜(B)3㎜(C)5㎜(D)7㎜。
32. 尺度界線依 CNS 規定是使用 (A)粗實線(B)粗鏈線(C)細鏈線(D)細實線。
33. 依 CNS 規定,在標註尺度時,下列敘述何者正確? (A)尺度線與尺度界線應避免相交叉(B)尺度界線與尺度界線應 避免相交叉(C)中心線可以作為尺度線(D)輪廓線可以作為尺度線。
34. 依 CNS 規定,尺度標記"□"符號,代表 (A)缺口(B)平面(C)端面(D)方形。
35. 依 CNS 規定,"?"此符號是表示 (A)錐度標註(B)斜度標註(C)角度標註(D)長度標註。
36. 依 CNS 規定,圓弧的半徑甚大,圓心不在圖面內,其半徑的尺度線應畫成:
。
37. 依 CNS 規定,標註尺度時,應儘量註記於視圖何處? (A)外側(B)內側(C)左側(D)右側。
38. 依 CNS 規定,下列各圖的尺度標註,何者錯誤?
。
39. 有關鋼結構構件編號,下列何者不正確? (A)CL或C,代表柱(B)WC,代表小樑(C)GR或G,代表大樑(D)ST代表 樓梯。
40. 下列有關鋼構工程之構件名稱代號,何者正確? (A)VB(Vertical Bracing)為水平斜撐 (B)BM 或 B(Beam)為大樑 (C)ST(S tair)為樓梯欄杆 (D)BC 代表 BOX 型柱或方型柱。
41.
如左圖所示,柱之編號為"CL10C"是指圖中那一支鋼柱? (A)a柱(B)b柱(C)c柱(D)d柱。
42. 下列何者為 CNS2473 一般結構用軋鋼料之編號? (A)SS490(B)SM400C(C)SMA400AW(D)SMA570P。
43. 下列何者為 CNS2947 熔接結構用軋鋼料之編號? (A)SS400(B)SM400B(C)SMA400CP(D)SMA490AP。
44. 下列何者為 CNS4269 耐大氣腐蝕熔接結構用熱軋鋼料之編號? (A)SS540(B)SM520C(C)SMA490AP(D)SSC400。
45. 依 CNS 規定,鋼結構繪圖時,輪廓線、圖框線等以何種線條繪製? (A)粗實線(B)中實線(C)細實線(D)虛線。
46. 依 CNS 規定,鋼結構繪圖時,下列何者不是採用連續細實線繪製? (A)尺度線(B)剖面線(C)中心線(D)尺度界線。
47. 有關繪圖線條之敘述,下列何者不正確? (A)構件輪廓線,以連續粗實線繪製(B)隱藏線以段約3㎜,間隔約1㎜ 之中心虛線表示(C)中心線、假想線,以線長約20㎜,中間為一點,間隔約為1㎜之鏈線表示(D)割面線以粗鏈線 表示。
48. 依 CNS 規定,下列何者不是銲接符號組成之要素? (A)標示線、尺度(B)基本符號、輔助符號(C)銲接方法及設備 (D)註解或特殊說明。
49. 依 CNS 規定,下列有關銲接標示線之描述不正確者? (A)標示由引線、基線、副基線及尾叉組成(B)標示線之引線、 基線及尾叉用細實線表示,副基線用虛線表示之(C)標示線之引線為末端帶一箭頭之傾斜線,向上或向下與基線 成45°,但引線不可與副基線相連接 (D)箭頭標註位置,可指在銲接接頭處之任一側。
50. 依 CNS 規定,有關銲接之"標示線",下列敘述何者正確? (A)基線為一直線,可傾斜但不可直立(B)副基線為平行 於基線上方或下方之虛線,約與基線等長,且間隔約1.5㎜(C)尾叉係在基線之另一端成60°之開叉,且可視情況 而省略(D)若有兩處以上接頭,必須單獨使用標線不可共用基線。
51. 依 CNS 規定,請選出"凸緣銲接"之正確符號?
。
52. 依 CNS 規定,試問"I 形槽銲接"符號為何?
。
53. 依 CNS 規定,下列何者為"Y 形槽銲接"符號?
。
54. 依 CNS 規定,"V 形槽銲接"符號,下列何者正確?
。
55. 依 CNS 規定,銲接符號"
"表示何種銲接形式? (A)塞子銲接(B)填角銲接(C)V形槽銲接(D)單斜形槽銲接。
56. 依 CNS 規定,下列何種銲接方式不為"對接"形式之銲接符號?
。
57. 依 CNS 規定,下列銲接符號之標註方式,何者不正確?
。
58. 依 CNS 規定,有關銲接符號之標註方式,下列何者不正確?
。
59. 依 CNS 規定,下列有關銲接"輔助符號"之敘述何者正確? (A)
左圖為現場銲接(B)
左圖為現場銲接 (C)
左圖為全周銲接(D)
左圖為現場全周銲接。
60. 依 CNS 規定,有關銲接箭頭之圖示,下列何者不正確?
。
61. 依 CNS 規定,試分辨下列四組答案,何者不正確?
。
62.
如左圖所示,請回答下列問題,何者不正確? (A)於箭頭對邊,做"I形槽"銲接 (B)於箭頭邊,做"I形槽"銲接(C)其銲接說明圖為
(D)銲接符號亦可如右圖所示
。
【已刪除】63. 如右圖所示
試問,下列敘述何者不正確? (A)S代表銲道深度或強度,且全銲時應予省 略(B)
為"I形槽"銲接,且銲在箭頭邊(C)n為斷續銲接之斷續數目(D)l為斷續銲接各間斷之距離,且全銲時應 可省略。
64.
如左圖所示,試問下列敘述何者正確? (A)在箭頭邊及對邊皆進行I形槽對銲(B)箭頭邊之有效銲道深 度為4㎜,箭頭對邊為8㎜(C)斷續銲道接數目為4,長度為8㎜(D)箭頭邊之銲道深度為8㎜,銲接長度為4㎜。
65. 依 CNS 規定,請問下列圖示及說明何者不正確? (A)
左圖為:箭頭邊I形槽銲接,有效 深度S㎜、長度l㎜(B)
左圖為:箭頭邊I形槽銲接,有效深度l㎜、長度S㎜ (C)
左圖為:箭頭邊I形槽銲接(D)
左圖為:箭頭邊及對邊皆做填角銲接。
66. 依 CNS 規定,有關銲接深度之表示法,下列何者不正確?
。
67. 如右圖所示
請選出正確之符號?
申論題 (0)
相關試卷
無年度 - 18901 鋼構工程(組配) 丙級 工作項目 02:材料識別#19768
#19768
無年度 - 18901 鋼構工程(組配) 丙級 工作項目 03:切割,開槽,鑽孔與研磨 1-60#19767
#19767
無年度 - 18901 鋼構工程(組配) 丙級 工作項目 03:切割,開槽,鑽孔與研磨 61-123#19766
#19766
無年度 - 18901 鋼構工程(組配) 丙級 工作項目 04:銲接施工(假銲)#19765
#19765
無年度 - 18901 鋼構工程(組配) 丙級 工作項目 05:螺栓接合#19764
#19764
無年度 - 18901 鋼構工程(組配) 丙級 工作項目 06:組立預裝 1-60#19763
#19763
無年度 - 18901 鋼構工程(組配) 丙級 工作項目 06:組立預裝 61-116#19762
#19762
無年度 - 18901 鋼構工程(組配) 丙級 工作項目 07:表面處理與塗裝#19761
#19761
無年度 - 18901 鋼構工程(組配) 丙級 工作項目 08:儲放與成品運輸#19760
#19760
無年度 - 18901 鋼構工程(組配) 丙級 工作項目 09:作業及一般安全與衛生知識#19759
#19759