所屬科目:輪機保養與維修(概要)(包括輪機基本知識)
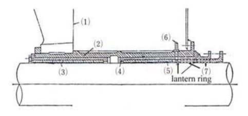
23.油浴式艉軸管軸承圖中所示⑶之部分的名稱為: (A)後軸承 (B)艉肋材 (C)艉軸套 (D)艉艙壁
24.鐵梨木艉軸軸承圖中所示⑷之部分的名稱為: (A)艉軸管 (B)艉套管 (C)艏套管 (D)支面材
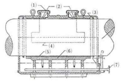
25.油環潤滑的線軸軸承圖中所示⑹之部分的名稱為: (A)軸承殼 (B)冠型底座 (C)軸承室下半部分 (D)承油碟