阿摩線上測驗
登入
首頁
>
1.機械概論;2.機械製造與識圖
> 104年 - 中鋼104員級機械#23197
104年 - 中鋼104員級機械#23197
科目:
1.機械概論;2.機械製造與識圖 |
年份:
104年 |
選擇題數:
56 |
申論題數:
0
試卷資訊
所屬科目:
1.機械概論;2.機械製造與識圖
選擇題 (56)
1、 如下圖之法蘭式聯軸器,利用 12 支相同螺栓平均承受剪力來傳遞 70,000 Nm (牛頓‧米) 之扭力,螺栓分佈之節圓直徑為 45 cm,若螺栓之容許剪斷應力為 40 N/mm
2
,則螺栓之 最小直徑為何?
(A) 9.1 cm (B) 2.9 cm (C) 2 cm (D) 5.8 cm
2、 A、B 兩物體,其質量比為 3:1,動量比為 2:1,則動能比為:
(A) 8:3 (B) 3:4 (C) 4:3 (D) 6:1
3、 如下圖所示,帶缺口的直桿在兩端承受拉力 F 作用。關於 A-A 截面上的內應力分佈有 四種答案,試判斷哪一種答案是合理的?
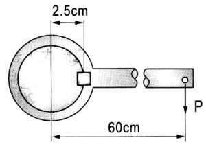
4、 如下圖所示,一長 60cm 之槓桿利用一鍵與心軸連結在一起,鍵長 2cm,橫斷面為邊長 0.7cm 之正方形,若鍵能承受之最大剪應力為 900MPa,請問負荷 P 之最大值為幾 N?
(A)4500 (B) 4750 (C) 5250 (D) 5500
5、 如下圖所示,若簡支梁之截面寬為 100 mm,高為 200 mm,則梁中點處之中立軸上方 1 cm 之彎曲應力為多少 MPa?
(A) 14 MPa (B) 18 MPa (C) 22.5 MPa (D) 36.5 MPa
6、 有一直徑為 100 mm 之軸,由皮帶繞於直徑為 300 mm 之皮帶輪傳動,皮帶之有效挽力 為 550kg,皮帶輪與軸用一 30 mm 長的鍵予以結合,設鍵材料之極限抗壓應力為 7000kg/cm
2
,安全因數為 5,極限抗剪應力為 6300kg/cm
2
,安全因數為 9,求鍵之寬及高 各為若干 mm ? (A) 44、66 (B) 66、66 (C) 66、88 (D) 88、88
7、 下圖為一種單行星齒輪系,齒輪 2 為太陽齒輪(T2 = 75),齒輪 3 為行星齒輪(T3 = 15),齒 輪 4 為環齒輪(T4 = 105),另有介於齒輪 2 與齒輪 3 之間的行星架 5。試問W5 /W2 之速比 rv 為何?
(A)0.417(B)0.583 (C) 0.609 (D) 0.851
8、 設有兩平行主軸相距 5 m,若使用直徑為 100cm 和 80cm 的皮帶輪,並以平皮帶作交叉 迴繞方式傳動,試問皮帶的長度約為何?( hint : sin
-1
(0.18) = 10.37
o
, cos (10.37
o
=0.984) (A) 1283 cm (B) 1299 cm (C) 1315 cm (D) 1331 cm
9.流量100 lpm(公升/分鐘),液壓缸面積 100cm
2
(平方公分),不考慮摩擦力的情況下,液 壓缸的速度應為多少? (A) 1 公尺/分鐘 (B) 10 公尺/分鐘 (C) 10 公尺/秒 (D) 1 公尺/秒
10、 下圖中之周轉輪系,A 輪有 54 齒,B 輪有 14 齒,C 輪有 28 齒,D 輪有 12 齒,若主 動輪 D 設計以 800 rpm 之轉速順轉,求搖臂 E 之轉速為多少 rpm?
(A) 60 (B) 70 (C) 80 (D) 90
11、 一皮帶輪傳動裝置,輪徑分別為 90 cm 及 60 cm,兩軸中心距離為 150 cm,則使用交叉 皮帶比開口皮帶所需長度差為多少 cm? (A) 42 cm (B) 39 cm (C) 36 cm (D) 33 cm
12、 如下圖所示之單塊制動器,若轉軸之扭矩 T = 1500 N.cm,輪鼓直徑 30 cm,摩擦係數 μ= 0.2,若輪鼓作順時針旋轉,請問制動作用力 F 為幾 N?
(A)72 (B) 76 (C) 86 (D) 96
13、 如下圖所示之符號為?
(A) 壓力控制閥 (B) 流量控制閥 (C) 方向控制閥 (D) 洩壓閥
14、 下列有關液壓油的敘述,何者有誤? (A) 一般液壓油的工作溫度為 20~60 ℃ (B) 大部分油壓系統的故障,是由於液壓油的不潔所造成 (C) 液壓油黏度太低時,會造成液壓元件的嚴重內漏 (D) 水乙二醇液壓油的潤滑性比礦物性液壓油佳
15、 當負載不大時,下圖之油壓迴路,何者敘述為正確?
(A) 方向閥激磁時,活塞桿慢速伸出 (B) 方向閥激磁時,活塞桿不動 (C) 方向閥激磁時,活塞桿快速伸出 (D) 液壓油從洩壓閥流回油箱
16、 下列方向控制閥中,何者適用於需要產生寸動的機構?
17、 流體在管路內流動時,其流動狀態一般均以雷諾數來判斷,下列數值何者會產生亂流? (A)2100 (B)2450 (C)2000 (D) 1800
18、 一個鋼管內徑為 12mm,每分鐘流過之水量為 30 公升,若不計管內之摩擦損失,則管 內流體之流速為多少 m/sec ? (A) 500 (B) 113 (C) 4.42 (D) 0.5
19、 如下圖,下列何者不正確?
(A) I1=I2 且 V1>V2 (B) I2=I3 且 V2=V3 (C) I=I1+I4 且 V=V2+V3 (D) I1=I4 且 V4=0
20、 三用電表之靈敏度愈佳,則其 Ω/V: (A) 愈大 (B) 愈小 (C) 無關 (D) 不一定
21、 控制箱裝置配線完成後,作通電試驗前,下列何項動作可不必實施? (A) 將器具上未接線之螺絲鎖緊 (B) 確認電磁接觸器線圈之額定電壓 (C) 依電路圖設定時間電驛 (D) 將栓型保險絲取下,換裝小安培數保險絲,以防短路
22、 電動機正逆轉控制電路之互鎖接點,是要防止? (A) 短路 (B) 開路 (C) 過載 (D) 接觸不良
23、 若有一交流電壓之方程式為 v = 100×sin(2t+ 70°) 伏特,請問下列選項何者錯誤? (A) 該電壓之平均值為 50 V (B) 該電壓最大值 100 V (C) 該電壓相位角 70° (D) 三用電表量測的電壓值約 70.72V
24、 一台車床上使用之三相交流馬達,極數為 8 時,轉速為 750 rpm,如改為 3 極時,則轉 速為多少 rpm? (A) 500 (B) 1000 (C) 1500 (D) 2000
25、 工件加工時的尺寸公差為 0.2mm,則應該優先考慮選用下列何種精度之量具? (A) 0.002mm (B) 0.02mm (C) 0.2mm (D) 2mm
26、 為了提高熱交換效率,一般金屬熱交換器之內管數量龐大且管徑細小,使用過程中產生 裂痕缺陷也不易察覺。下列非破壞性檢測方法中,何者
最適合
應用於熱交換器之內管缺 陷檢測? (A) 液滲檢測 (B) 磁粒檢測 (C) 射線檢測 (D) 渦電流檢測
27、 程式 G90G00G46Z3.0H02S800M03%,其中刀具位置補正指令是指: (A) G90 (B) G00 (C) G46 (D) H02
28、 下列何種品質管制方法,可以推測出產品發生變異之可能原因? (A) 管制圖法 (B) 抽樣檢查法 (C) 生產圖法 (D) 統計解析法
29、 機械製圖中的線條分成粗、中、細三種,下列有關線條的敘述何者不正確? (A) 可見的輪廓線用粗實線 (B) 折斷線用細實線 (C) 隱藏線用粗虛線 (D) 中心線用細鏈線
30、 如下圖之表面符號標註,依據 CNS B1001-3 工程製圖之標準規範,下列何者正確?
(A) 加工裕度為 10 (B) 基準長度為 2.5 (C) 刀痕方向為放射狀 (D) 表面粗糙值為 0.8
31、 有關滾珠軸承之軸承剖視圖之簡易表示法,下列繪製選項何者正確? (A) 黑圓點 (B) 空心圓圈 (C) 兩交叉線細實線 (D) 兩交叉線粗實線
32、 下列圖示何者為扭轉彈簧?
33、 關於軸承元件的敘述,下列何者正確? (A) 滾動軸承只要潤滑充足、沒有粉塵污染,不須考慮材料的疲勞壽命 (B) 自潤軸承係由套圈(內、外圈)、轉動體(滾珠&滾子)、石墨潤滑劑和保持器所構成 (C) 自潤軸承適用於高溫、高負載、低轉速之轉動設備 (D) 高粉塵環境、高轉速條件用之滾動軸承,須加設迷宮式油封,阻止粉塵的入侵與潤 滑油脂的溢出,為了簡化設計與簡化維護,可使用自潤軸承取代
34、 下列何者為齒輪轉位設計之目的? (A) 改變中心距 (B) 提高接觸率設計 (C) 避免小齒輪過切 (D) 以上皆是
35、 設計時,若大部份應用學理上之計算,而小部份採取實用係數,此設計方式稱為? (A) 理論設計 (B) 經驗設計 (C) 實務設計 (D) 應用設計
36、 某滾珠軸承之基本額定負荷為 1800 kg,若在 1200 rpm 之轉速下操作,欲使其壽命有 500 小時,則所允許之轉數為多少轉? (A) 72×10
6
(B) 36×10
6
(C) 72×10
5
(D) 36×10
5
37、 工件銲接完成後,為防止變形,可用何種熱處理方法? (A) 正常化 (B) 調質 (C) 退火 (D) 火焰淬火
38、 在 Fe、C 二元合金系統(如下圖)中,下列敘述何者正確?
(A) α 相為沃斯田鐵,其結構為 BCC、γ 相為肥粒鐵,其結構為 FCC (B) 共析點發生在 4.30wt% C 和 1147°C 、共晶點發生在 0.76wt% C 和 727°C (C) FeC
3
是溶解度極小的金屬間化合物 (D) 純鐵從高溫的肥粒鐵狀態冷卻到 912°C 時,就會變態成沃斯田鐵
39、 欲將含碳量 0.4%之碳鋼施以淬火處理,使其組織『完全沃斯田鐵化』再施以水冷或油 冷,其加熱溫度應該為? (A) A2 線上方 30-50℃ (B) A3 線上方 30-50℃ (C) A1 線上方 30-50℃ (D) Acm 線上方 30-50℃
40、 夏氏(Charpy)衝擊試驗法,可得到的材料性質是? (A) 疲勞極限 (B) 延性 (C) 潛變 (D) 靭性
複選題
41、 下列敘述何者正確? (A) 在 MKS 制中,力的絕對單位是 N(牛頓) = kg∙ m /s
2
(B) 二力大小相等,方向相反,作用在同一靜止物體時可能會移動 (C) 慣性矩為不具方向性的物理量 (D) 剛體所受之力可視為滑動向量
複選題
42、 有關力偶之敘述,下列選項何者正確? (A) 力偶為一自由向量 (B) 力偶單位與力矩單位不相同 (C) 力偶可合併為單力 (D) 力偶不能使物體移動,但可使物體轉動
複選題
43、 下圖為一常用之引擎機構,試問下列何者正確?
(A) 滑塊C之自由度為1 (B) 當滑塊作往復運動時,若曲柄半徑R2為50mm,則其最大行程 (Stroke)為100mm (C) 若曲柄R2以1500rpm 作等速轉動,而連桿L3=250mm,當θ轉過90度時,滑塊C之位移為65mm (D) 曲柄角速度為157 rad/sec
複選題
44、 有關制動器之敘述,下列選項何者
錯誤
? (A) 制動器是機件的動力來源 (B) 制動器可調節運動機件之速度 (C) 制動器是吸收熱能再轉變為動能或位能 (D) 制動器能使機件停止運動 θ
複選題
45、 俗稱氣壓調理組(三點組合)其示意圖如下
,是由哪些氣壓元件構成? (A) 潤滑器 (B) 梭動閥 (C) 空氣濾清器 (D) 調壓閥
複選題
46、 油壓迴路動作中油溫過高,改善方式為何? (A) 增加油箱的表面積 (B) 增加油的熱傳係數 (C) 於油中加入適量降溫劑 (D) 改善機房之通風
複選題
47、 有關基本用電與電學知識,下列選項何者正確? (A) 國內家庭用電的頻率約 60Hz (B) 三用電錶量測 AC 110V 指的是電壓的平均值 (C) 波形產生器訊號可直接驅動馬達正反轉 (D) 乾電池是直流電源
複選題
48、 發現機器漏電時,其可能產生的原因有哪些? (A) 導線破損 (B) 主線路斷線 (C) 變壓器未固定好 (D) 接地不良
複選題
49、 有關數值控制車床的敘述,下列何者正確? (A) 以 X 軸表示車刀橫向(或徑向)進給,Y 軸表示車刀縱向(或軸向)進給 (B) 以 G96 切削工件端面時,刀具愈往端面中心移動,則主軸轉速愈快 (C) G97 用於車削螺紋、鑽孔等情形 (D) 適合大量而形狀少變化之生產
複選題
50、 有關影響切削力之敘述,下列選項何者正確? (A) 進刀量愈大,切削力愈大 (B) 切削深度愈深,切削力愈大 (C) 加切削劑可略為降低切削力 (D) 刀鼻圓弧半徑加大,會增加切削力
複選題
51、 下列何者採用細實線繪製? (A) 尺度線 (B) 指線 (C) 隱藏線 (D) 中心線
複選題
52、 已知前視圖如下,請選出符合正投影的右側視圖?
複選題
53、 下列各種破壞理論中,何者適用於延性材料? (A) 最大剪應力理論 (B) 最大正向應力理論 (C)畸變能理論 (D) 最大應變能理論
複選題
54、 有關國家標準之敘述,下列選項何者錯誤? (A) AS (美國國家標準) (B) NF (法國國家標準) (C) BS (德國國家標準) (D) IS (印度國家標準)
複選題
55、 有關提高普通碳鋼之表面硬度的處理方式,下列選項何者正確? (A) 退火 (B) 氮化 (C) 淬火 (D) 滲硼
複選題
56、 下列對鋼材敘述何者正確? (A) 鋼材含碳量增加,強硬度及韌性隨之增加 (B) 低碳鋼:含碳量於 0.3%以下之碳鋼,易於切削 (C) 中碳鋼:含碳量約在 0.3%至 0.6%之間,具有熱處理價值也有適度的延展性 (D) 高碳鋼:含碳量約在 0.6%以上的碳鋼,具有高硬度與高耐磨耗性,適宜刀具之製作
申論題 (0)
相關試卷
112年 - 112 中國鋼鐵股份有限公司_新進人員甄試試題_員級-機械:1.機械概論 2.機械製造與識圖#116006
112年 · #116006
111年 - 111 年 中國鋼鐵股份有限公司_新進人員甄試_員級_機械:1.機械概論 2.機械製造與識圖#110917
111年 · #110917
110年 - 110 中國鋼鐵股份有限公司_新進人員甄試_員級_機械:1.機械概論 2.機械製造與識圖#97715
110年 · #97715
108年 - 108 中國鋼鐵股份有限公司_新進人員甄試_員級_機械:1.機械概論 2.機械製造與識圖#75960
108年 · #75960
107年 - 107中國鋼鐵股份有限公 司 107 年新進人員甄試試題-員級專業A卷-機械#68080
107年 · #68080
106年 - 106年中鋼新進人員員級-1.機械概論 2.機械製造與識圖#60090
106年 · #60090
104年 - 104年中鋼員級 機械 - 1.機械概論 2.機械製造與識圖#59855
104年 · #59855
104年 - 中鋼104師級機械#23379
104年 · #23379