阿摩線上測驗
登入
首頁
>
輪機保養與維修(概要)(包括輪機基本知識)
> 105年 - 105年第三次航海人員特考輪機保養與維修二等管輪#57195
105年 - 105年第三次航海人員特考輪機保養與維修二等管輪#57195
科目:
輪機保養與維修(概要)(包括輪機基本知識) |
年份:
105年 |
選擇題數:
40 |
申論題數:
0
試卷資訊
所屬科目:
輪機保養與維修(概要)(包括輪機基本知識)
選擇題 (40)
1. 表示滑油黏度和溫度間之變化關係稱為什麼? (A) 黏度 (B) 黏度指數 (C) 流動指數 (D) 潤滑指數
2. 二級空壓機中,要如何將第一級氣缸的餘隙容積增大,下列敘述何者正確? (A) 改變缸蓋墊片的厚度增大 (B) 改變缸蓋墊片的厚度減少 (C) 連桿及活塞桿間之墊片厚度增加 (D) 連桿及活塞桿間之墊片厚度減少
3. 下列何者不是空壓機排氣溫度過高的原因? (A) 氣閥漏洩 (B) 氣缸或冷卻器冷卻不良 (C) 吸氣溫度過低 (D) 排氣壓力過高
4. 冷凍系統中,溫度控制器的安裝和使用,下列敘述何者錯誤? (A) 可靠地固定於無振動和環境溫度高於所控溫度之處 (B) 感溫棒安裝高度宜低於本體 (C) 更換溫度控制器,應盡量採用相同型號 (D) 感溫棒毛細管可穿過比被控制庫溫度低的其他庫房或走廊
5. 離心式泵的葉輪進口處若發生不嚴重之偏磨或劃傷,可以下列何者進行修復? (A) 金鋼砂噴磨 (B) 水洗式研磨 (C) 砂布打磨 (D) 黃銅補焊
6. 針對串聯電路特性的敘述,如下圖,下列何者正確?
(A) 總電流大小為
(B) 總電阻大小為
(C) 流經任一電阻之電流大小與該電阻值大小成正比 (D) 跨過任一電阻之電壓降與該電阻值大小成反比
7. 當變壓器次級繞組中有數匝線圈短路,請問該變壓器會發生什麼狀況? (A) 輸出端電壓將會下降,且變壓器會因次級端電流增大而過熱 (B) 輸出端電壓將會上昇,且變壓器會因次級端電流增大而過熱 (C) 輸出端電壓將會下降,且變壓器次級端歐姆讀數較正常為大 (D) 輸出端電壓將會上昇,且變壓器次級端歐姆讀數較正常為大
8. 某泵運轉經年後發生奇怪的「噪音」,請問該馬達故障的可能原因為何? (A) 馬達工作電壓不符 (B) 馬達負載過大或超載 (C) 馬達軸承磨蝕 (D) 馬達軸承太緊
9. 鍋爐水位一元控制是檢測汽鼓之水位變化,以控制下列何種泵? (A) 燃油泵 (B) 循環水泵 (C) 給水泵 (D) 凝水泵
10. 分室燃燒可控制鍋爐過熱度,其自動燃燒控制系統之主要功用為何? (A) 保持鍋爐給水溫度不變 (B) 保持降熱器蒸汽出口溫度不變 (C) 保持過熱器蒸汽出口溫度不變 (D) 保持燃油出口溫度不變
11. 碳鋼的分類是以其含碳量高低來區分,請問下列敘述何者正確? (A) 所謂高碳鋼,是含碳量2.0%以上的碳鋼 (B) 所謂中碳鋼,其含碳量是在0.6~2.0%之間的碳鋼 (C) 所謂低碳鋼,其含碳量是在0.3~0.6%之間的碳鋼 (D) 所謂低碳鋼,是含碳量在0.3%以下的碳鋼
12. 為了滿足機器密封性的要求,柴油機活塞桿與氣缸體底板孔之間用何種方式來密封? (A) 迫緊 (B) 墊片 (C) 填料函 (D) 迷宮
13. 將金屬材料拉成細線而不斷之性質,稱之為下列何者? (A) 展性 (B) 延性 (C) 韌性 (D) 脆性
14. 下列哪一種鉗子,一般裝設於機艙工作桌上,可調整鉗口的開度,用於固定零件? (A) 尖嘴鉗 (B) 鯉魚鉗 (C) 萬能鉗 (D) 虎鉗
15. 下列何者不屬於滑油使用後劣化之特徵之一? (A) 黏度增加 (B) 有稀釋現象 (C) 總量減少 (D) 乳化現象
16. 下列何者不是造成柴油機壓縮壓力過低的原因? (A) 活塞裙太舊 (B) 排氣閥膠著 (C) 活塞環膠著 (D) 墊圈漏氣
17. 冷凍系統中,冷卻水量調節閥的設定及安裝,下列何者錯誤? (A) 裝於冷凝器的進水口管路上 (B) 裝於冷凝器的出口水管路上 (C) 以壓縮機的排氣壓力(冷凝壓力)作自控信號,調節冷卻水流量 (D) 可保持冷凝壓力在設定的範圍內
18. 冷凍裝置的氣密試驗時,當壓力達到多少時,先要檢查是否有明顯的洩漏? (A) 0.3~0.5 MPa (B) 0.6~0.8 MPa (C) 0.9~1.1 MPa (D) 1.2~1.4 MPa
19. 氟利昂冷媒,其洩漏可使用探漏燈探漏,探漏燈的火焰會變色原因,是因為氟利昂中含 有何種原素? (A) 氟 (B) 氯 (C) 碳 (D) 氫
20. 使用探漏燈探漏到氟利昂微量洩漏,火焰顏色會從藍色轉變為何種顏色? (A) 淺紅色 (B) 維持藍色 (C) 淺綠色 (D) 澄色
21. 低速大型柴油主機為檢查活塞環是否膠著時,需運用何種方式檢查之? (A) 以目視檢查活塞環是否膠著 (B) 以手指檢查活塞環是否膠著 (C) 以木棒檢查活塞環是否膠著 (D) 以鐵柱檢查活塞環是否膠著
22. 發電機缸套上部,有一個防磨環,下面敘述何者正確? (A) 幫助冷卻 (B) 直徑較缸套大 (C) 延長活塞使用時間 (D) 可磨去活塞頭上的積碳
23. 小型柴油機拆卸氣缸蓋螺絲,有何原則? (A) 對角平均鬆開 (B) 依順時鐘方向鬆開 (C) 依困難鬆開的螺絲先鬆開 (D) 依容易鬆開的螺絲先鬆開
24. 柴油機氣缸蓋大修保養後裝回到機體時,下列注意事項何者錯誤? (A) 水套部分之O-ring 須換新並塗以少量油脂 (B) 墊圈(Gasket)上塗石墨油膏(Molykote) (C) 依規定的力矩上緊螺帽 (D) 螺帽無須與原來之螺栓配對
25. 電動往復式泵之缸套輕微擦傷,可採取下列那一方式處理? (A) 缸套應換新 (B) 泵活塞環換新 (C) 泵活塞環經細砂布拋光 (D) 缸套經細油石打磨
26. 鍋爐水之給水的pH值通常控制在多少? (A) 07~08 (B) 08~10 (C) 10~12 (D) 12~14
27. 船舶艉軸密封系統的設計是解決船舶推力軸系貫穿過船體產生的何種問題? (A) 效率、軸線、振動 (B) 水密、潤滑、冷卻 (C) 推力、效率、防蝕 (D) 減阻、軸線、定位
28. 中間軸法蘭的連接多使用緊配合圓柱螺栓、安裝前宜用何方式處理才好安裝? (A) 徹底清潔,浸泡潤滑油 (B) 乾冰等方式冷凍處理 (C) 利用油壓工具壓入 (D) 利用重錘打擊方式
29. 船舶螺槳產生之推力經過艉軸、中間軸,傳到推力軸承上,最終作用到何處? (A) 推力塊 (B) 推力軸承座 (C) 主機機座 (D) 船體
30. 下列何者不是商船上壓縮空氣的用途? (A) 起動主柴油機 (B) 起動發電柴油機 (C) 壓力水櫃中保持輸出壓力 (D) 海水淡化設備
31. 利用磁鐵與電樞相對旋轉所產生之電壓,用以量測旋轉速度為下列何者? (A) 電力式轉速計 (B) 電子轉速表 (C) 脈波轉速計 (D) 同步式閃光測速儀
32. 下列何者不是造成鍋爐汽水共騰的主要原因? (A) 爐水呈過飽和狀態而導致爐水急劇沸騰 (B) 鍋爐負荷劇增或壓力驟然下降 (C) 汽鼓空間過大或蒸發平面面積過大 (D) 爐水品質不良
33. 鍋爐滿水停爐期間,應定期注意事項為何? (A) 化驗鹼度及火側防潮 (B) 適量加水及以防洩漏 (C) 適度吹放及以防沉澱 (D) 加投小蘇打
34. 鍋爐水位過低之應急處理,下列敘述何者錯誤? (A) 停止燃油供應,熄滅爐火 (B) 增加供水量,將水位升回正常 (C) 用手拉開安全閥,逐漸排放鍋爐壓力 (D) 停止鼓風機,使鍋爐逐漸冷卻
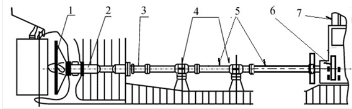
35. 船舶推力軸系以下所示4 &5為何?
(A) 尾軸管&軸承 (B) 中間軸承&間軸 (C) 推力軸承&力軸 (D) 螺槳軸&槳軸承
36. 燃油「比重」的定義:係指「何種相同單位」的油品在15℃下與水在4℃時之重量比值 ,且該值沒有單位? (A) 面積 (B) 體積 (C) 容積 (D) 材積
37. 對於柴油機活塞環的敘述,下列何者為非? (A) 保持活塞與缸套間氣密作用 (B) 活塞環直徑相同,所以上下環可互換使用 (C) 將活塞的熱量傳遞給缸套 (D) 調節氣缸潤滑作用
38. 柴油機運轉中當發現膨脹水櫃上下波動,及缸套冷卻水壓力也不穩定,可能的原因為何? (A) 壓力表故障 (B) 汽缸蓋或缸套有穿透性裂紋 (C) 外面風浪大,主機負荷大 (D) 引擎過負荷運轉
39. 四行程柴油機曲柄軸與凸輪軸轉數比為何? (A) 1:1 (B) 2:1 (C) 3:1 (D) 4:1
40. 一般柴油機噴油嘴噴油孔,孔徑擴大,超過原孔徑多少,就應報廢? (A) 5% (B) 10% (C) 15% (D) 20%
申論題 (0)
相關試卷
115年 - 115-1 航海人員測驗_二等管輪:輪機保養與維修概要(包括輪機基本知識)#138329
115年 · #138329
115年 - 115-1 航海人員測驗_一等管輪:輪機保養與維修概要(包括輪機基本知識)#137835
115年 · #137835
114年 - 114-3 航海人員測驗_三等管輪(新):輪機保養及維修#133731
114年 · #133731
114年 - 114-4 航海人員測驗_二等管輪:輪機保養與維修概要(包括輪機基本知識)#133725
114年 · #133725
114年 - 114-3 航海人員測驗_二等管輪:輪機保養與維修概要(包括輪機基本知識)#130415
114年 · #130415
114年 - 114-2 交通部航港局_船員岸上晉升適任性評估筆試測驗_三等管輪(新):輪機保養及維修#128996
114年 · #128996
114年 - 114-2 交通部航港局_船員岸上晉升適任性評估筆試測驗_三等管輪(新):輪機概論#128995
114年 · #128995
114年 - [無官方正解]114-2 航海人員測驗_二等管輪:輪機保養與維修(包括輪機基本知識)#128258
114年 · #128258
114年 - 114-1 交通部航港局_船員岸上晉升適任性評估筆試測驗_三等管輪(新)﹕輪機保養及維修#126804
114年 · #126804
114年 - 114-1 航海人員測驗_二等管輪:輪機保養與維修概要(包括輪機基本知識)#125850
114年 · #125850