所屬科目:國營事業◆1.流體力學 2.水文學
2. 薄層流體的黏度性質若以速度梯度(velocity gradient)與剪應力的關係 表示(如右圖),則下列敘述何者正確? (A) P為流性固體( flow solid ),流沙屬於此類 (B) L為理想流體( ideal fluid ),簡化分析中之通常以此為假設條件 (C) Q為膨脹流體( dilatant fluid ),高濃度之糖水屬於此類 (D) Y為無黏性流體( inviscid fluid ),現實中幾乎不存在
9. 今利用一U形壓差計連結a管與b管(如右圖),則a管與b管的壓 力差值為何?(油的相對密度為0.9) (A) 37.9 KN/m2 (B) 41.6 KN/m2 (C) 51.5 KN/m2 (D) 58.3 KN/m2
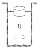
10. 將一底面光滑平坦之圓柱體垂直沉放入液槽中(如右圖),圓柱體高度為 3.2 m、截面積為1 m2 ,液體相對密度為1.26,液體深度為10 m,液槽截面 積為5 m2 且底面亦為光滑平坦。當該圓柱體下沉至底部時,若圓柱體底面 與液槽底部完全密合黏結,則此時受到之浮力大小為何? (A) 0 (B) 40 KN (C) 124 KN (D)以上皆非
12. 一注射器內裝有液體,今於柱塞下方施一外力,使液體自針孔處噴流而出(如右 圖)。假設該液體為理想流體且為穩定流場,則根據白努利方程式( Bernoulli equation ),對於流線上之a、b、c三點之敘述,下列何者有誤? (A) a點之速度水頭為0 (B) b點之壓力水頭為0 (C) c點之速度水頭為0 (D) c點之壓力水頭為0
14. 某二維流場的速度被定義為,其中k和r為常數,則下列各位置中,何處之 粒子速度方向係與x軸夾45°? (A) (0,1) (B) (1,1) (C) (1,2) (D) (2,1)
15. 有a、b兩輸送管,a管之直徑為180 mm,用來輸送43.3 ℃之水(相對密度為 0.991,運動黏性為 ;(b管之直徑為200 mm,用來輸送10 ℃之汽油(相對密度為 0.733,運動黏性 為 ,(則有關(低)臨界速度Vc,下列敘述何者正確? (A) a管之Vc> b管之Vc (B) a管之Vc= b管之Vc (C) a管之Vc< b管之Vc (D)條件不足,無法判斷
16. 今欲裝置一鑄鐵圓管以 輸送燃油(運動黏性為,( 若管內欲 保持為層流( laminar flow )狀態,則最經濟的圓管直徑應為下列何者? (A) 250 mm (B) 300 mm (C) 400 mm (D) 500 mm
18. 針對二維流場中的兩個速度分量,下列敘述何者正確? (A) ,此為不可壓縮流( incompressible flow ) (B),此為不可壓縮流 (C),此為不可壓縮流 (D)以上皆非
19. 下列計算結果之物理量何者具有因次?(l為長度,ρ為密度,s為速度,a為加速度,p為壓力 ,ν為運動黏性,ω為角頻率) (A) (B) (C) (D)
22. 利用一長度為5 km、直徑為50 cm之圓管輸送汽油(運動黏性為(假設摩擦係 數為0.02,則當流量為0.2 m3 /s時,其水頭損失約為何? (A) 40.8 cm (B) 10.6 m (C) 21.1 m (D) 52.9 m