所屬科目:港務局◆工程力學與鋼筋混凝土學概要
2.試繪製下圖所示梁之剪力圖與彎矩圖(須清楚標示圖上各轉折點數值)。
3.以虛功法(method of virtual work)或稱單位力法(unit-load method)求下圖 梁自由端 b 點之垂直位移∆b。l 為梁長度、w 為均佈載重、M0為 b 點之 施加力矩、EI=常數、E 為彈性模數、I 為慣性矩。
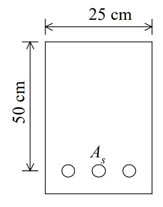
4.下圖單筋矩形梁寬(b)為 25 cm、有效深度(d)為 50 cm、拉力鋼筋量(As) 為 20 cm2、混凝土規定抗壓強度( fc' )為 280 kgf / cm2 、鋼筋規定降伏強度( fy )為 4200 kgf / cm2 。依第一題所列規範(內政部營建署「混凝土結構設計規範」(內政部 100.6.9 台內營字第 1000801914 號令;中國土木水利學會「混凝土工程設計規範」 (土木 401-100)) 求取該斷面之計算彎矩強度 ( Mn )。