阿摩線上測驗
登入
首頁
>
技檢◆電腦輔助機械設計製圖-乙級
> 107年 - 107年 電腦輔助機械設計製圖 乙級 工作項目05:工作圖 1-100#42326
107年 - 107年 電腦輔助機械設計製圖 乙級 工作項目05:工作圖 1-100#42326
科目:
技檢◆電腦輔助機械設計製圖-乙級 |
年份:
107年 |
選擇題數:
100 |
申論題數:
0
試卷資訊
所屬科目:
技檢◆電腦輔助機械設計製圖-乙級
選擇題 (100)
1. CNS 表面織構符號中,MRR Ra1.6 之評估長度為(A)8(B)2.5(C)0.8(D)0.25 mm。
2. 1μ 之物理量為(A)0.1(B)0.01(C)0.001(D)0.000001。
3. 表面粗糙度值使用的單位為(A)m(B)mm(C)cm(D)μm。
4. 一般拋光工作最適合採用的評估長度為(A)0.8mm(B)2.5mm(C)8mm(D)25mm。
5. 工件之表面粗糙度值愈小,則(A)工件表面愈光滑(B)切削方法愈多(C)基準長度愈大(D)刀痕愈明顯。
6. 1μm 相等於(A)0.1(B)0.01(C)0.001(D)0.000001 mm。
7. 一般機械工廠中,俗稱的『一條』相等於公制單位的(A)0.1mm(B)0.01mm(C)0.001mm(D)0.000001mm。
8. 表面織構符號中,評估長度的標準值所使用單位為(A)m(B)mm(C)μ(D)μm。
9. 表面織構符號中,評估長度值愈大,則所指之表面粗糙度值(A)成定值(B)愈小(C)愈大(D)無關。
10. 一般而言,工件之表面粗糙度值愈大,則所需的加工成本(A)愈高(B)愈低(C)無影響(D)視加工方法而定。
11. 零件圖中,一般可省略不畫者為(A)齒輪(B)導螺桿(C)栓槽軸(D)開口銷。
12. 零件圖繪製所使用的投影法為(A)透視投影(B)斜投影(C)正投影(D)等角投影。
13. 一般鑽孔加工所得之表面粗糙度,Ra 值約為(A)50~12.5(B)25~6.3(C)6.3~1.6(D)1.6~0.4。
14. 欲判別機件之表面粗糙度時,可採用的量具為(A)游標卡尺(B)分厘卡(C)標準片(D)鋼尺。
15. 組合圖中,件號線用(A)細實線(B)中心線(C)隱藏線(D)粗實線。
16. 零件表如用單頁書寫時,資料填寫次序之原則應為(A)由上向下(B)由下向上(C)由左向右(D)由右向左。
17. 標題欄(畫
處),一般置於圖紙的(A)
(B)
(C)
(D)
。
18. 下列尺度修改之標註正確的為(A)
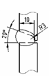
(B)
(C)
(D)
。
19. 銲接符號之基線為(A)粗實線(B)細實線(C)虛線(D)細鏈線。
20. 銲接符號之副基線為(A)粗實線(B)細實線(C)虛線(D)鏈線。
21. 填角銲接道之表面必須磨平,其符號為(A)
(B)
(C)
(D)
。
22. 下圖之銲接型式屬於(A)搭接(B)隅角接合(C)T 形接合(D)邊緣接合。
23. 下圖之銲接符號為(A)
(B)
(C)
(D)
。
24.
左圖之銲接符號為(A)
(B)
(C)
(D)
。
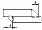
25. 間接熔接之位置有八處,銲接長度 10mm,採用全周填角銲接之符號為(A)
(B)
(C)
(D)
。
26. 下圖為一工件之前視圖,下列輔助視圖何者正確?(A)
(B)
(C)
(D)
。
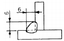
27. 填角銲接以腳長標註之銲接符號為(A)
(B)
(C)
(D)
。
28. 繪製立體組合圖時,通常可予以剖切的零件為(A)實心軸(B)螺帽(C)螺釘(D)彈簧。
29. 半視圖上可在對稱軸之中心線兩端標明符號,下列圖中那一個正確?(A)
(B)
(C)
(D)
。
30. 根據我國國家標準 CNS 的規範,表面織構符號中的輪廓參數包含那三種表面輪廓?(A)C、R、Z 輪廓(B)R、 K、Z 輪廓(C)R、W、P 輪廓(D)A、C、K 輪廓。
31. 根據我國國家標準 CNS 的規範,表面織構符號之參數型態包含那三大類?(A)輪廓參數、圖面參數、比例曲 線參數(B)輪廓參數、實體參數、材料參數(C)輪廓參數、視圖參數、表面比例參數(D)輪廓參數、圖形參數、 材料比曲線參數。
32.
表面織構符號中 Rz 0.4 之單位,下列那一個正確(A)μm(B)nm(C)dm(D)mm。
33. 一般鍵槽與鍵座的表面織構 Ra 值為(A)1.6(B)3.2(C)12.5(D)25。
34. 半圓鍵的鍵座尺度公差,下列何者正確?(A)F9(B)H9(C)JS9(D)N9。
35. 半圓鍵的鍵槽尺度公差,下列何者正確?(A)F9(B)H9(C)JS9(D)N9。
36. 浮凸銲接屬下列何種銲接方法?(A)電弧銲接(B)電阻銲接(C)氣體銲接(D)感應銲接。
37. 設有一圓孔 30mm,內裝配一般標準滾珠軸承,其公差設計下列何者較為恰當(A)
30H7(B)
30h7(C)
30M 7(D)
30g6。
38. 工作圖中表面處理範圍,應繪製下列何種線條?(A)細一點鏈線(B)細兩點鏈線(C)粗一點鏈線(D)粗兩點鏈線。
39. 在工作圖中須註記視圖名稱時,下列寫法何者正確?(A)粗線,視圖的下方(B)中線,視圖的下方(C)粗線,視 圖的上方(D)中線,視圖的上方。
40. 工程圖中拉丁字母與阿拉伯數字,字高約為筆劃粗細之(A)10 倍(B)14 倍(C)1/10 倍(D)1/14。
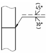
41. 下圖銲接符號,下列敘述何者錯誤﹖(A)箭頭邊之銲接深度為 8mm(B)箭頭邊之根隙為 4mm(C)起槽角度為 60° (D)為 V 形槽銲接。
42. 軸與油封相配合部位之軸面刀痕方向與軸線之間線成(A)平行(B)垂直(C)交叉(D)不特定方向。
43. 下列何者為正確之螺孔深度標註?(A)
(B)
(C)
(D)
。
44. 下列何者為適當的孔深尺度標註?(A)
(B)
(C)
(D)
。
45. 下列何者為適當的孔深尺度標註?(A)
(B)
(C)
(D)
。
46. 表面織構符號中,紋理方向符號「C」,表示紋理成(A)傾斜相交(B)無一定方向(C)同心圓狀(D)放射狀。
47. 組合圖中,可省略的線條為(A)剖面線(B)折斷線(C)中心線(D)隱藏線。
48. 在組合剖視圖中,下列機件應該以剖切表示者為(A)軸(B)軸承(C)鍵(D)銷。
49. 下圖中 A 表示(A)說明事項(B)銲接道形狀(C)起槽角度(D)銲接道深度。
50. 下圖中 S 表示(A)說明事項(B)銲接道形狀(C)起槽角度(D)銲接道深度。
51. 在鐵碳合金中,細波來鐵、粗波來鐵及球化鐵間,硬度之關係為(A)細波來鐵>球化鐵>粗波來鐵(B)細波來 鐵>粗波來鐵>球化鐵(C)粗波來鐵>細波來鐵>球化鐵(D)球化鐵>細波來鐵>粗波來鐵。
52. 回火的熱處理可使麻田散鐵的延展性和韌性提高且使內應力釋放,回火係在溫度介於(A)100~250℃(B)250~65 0℃(C)650~900℃(D)900~1200℃ 實施。
53. 可用來作淬火處理的不銹鋼為(A)沃斯田鐵型(B)肥粒鐵型(C)麻田散鐵型(D)沃斯田鐵與肥粒鐵混合型。
54. 低碳鋼的熔點約為 1538℃,含碳量 4.2%的鑄鐵其熔點約為(A)1655℃(B)1455℃(C)1355℃(D)1155℃。
55. 鑄鐵的含碳量為(A)0.008~1.0(B)1.0~2.14(C)2.14~6.7(D)6.7~8.5 wt%(重量比)。
56. 一般軟銲材料常使用 60wt%錫,配 40wt%鉛之合金,主要是(A)熔點最低(B)熔點最高(C)強度最強(D)顏色最亮 麗。
57. 常用來淬火之三種介質為空氣、油及水,其冷卻速率之順序為(A)空氣>水>油(B)水>油>空氣(C)油>水> 空氣(D)水>空氣>油。
58. 下列何種類型的不銹鋼屬無磁性?(A)沃斯田鐵型(B)肥粒鐵型(C)麻田散鐵型(D)雪明碳鐵型。
59. 銲接件為 T 型接合,其剖視圖正確的為(A)
(B)
(C)
(D)
。
60. 使用氧乙炔銲接時,其氧氣與乙炔的開關順序為(A)先開氧氣後開乙炔(B)先開乙炔後開氧氣(C)先關氧氣後關 乙炔(D)氧氣與乙炔同時開關。
61. 利用兩個滾子為電極,銲接件夾於電極間,沿一定路線銲接之方法為(A)電弧銲(B)點銲(C)浮凸銲(D)縫銲。
62. 下列銲接法中,銲接表面較為乾淨的為(A)硬銲(B)氣銲(C)電弧銲(D)電阻銲。
63.
左圖所示之銲接符號為(A)
(B)
(C)
(D)
。
64.
左圖所示之銲道詳圖,其符號標註為(A)
(B)
(C)
(D)
。
65. 下圖所示之銲接符號,下列敘述何者錯誤?(A)單斜形槽銲接,兩邊銲道槽角相等(B)斜 Y 形槽銲接,兩邊銲 道深度相等(C)兩邊填角銲接,銲道腳長 6mm(D)兩邊全周銲接。
66. 以點銲機實施點銲時,下列敘述何者正確?(A)使用高電阻電極作銲接(B)使用高電壓低電流作銲接(C)使用於 薄鐵板以搭接方式銲接(D)金屬板表面不要清潔以增大電阻。
67. 單邊錐坑孔近邊錐坑,現場鑽鉚釘孔符號為(A)
(B)
(C)
(D)
。
68. 單邊錐坑孔遠邊錐坑,工廠鑽鉚釘孔符號為(A)
(B)
(C)
(D)
。
69. 現場鉚接兩邊錐坑孔,現場鑽鉚釘孔符號為(A)
(B)
(C)
(D)
。
70. 下圖所標註之符號表示為(A)前後兩面之全周邊緣狀況相同(B)圓弧部位之邊緣狀況(C)前面之邊緣狀況(D)全周 之表面狀況。
71. 下圖之註解,下列敘述何者正確?(A)所有外邊緣為-0.3(B)內邊緣為-0.3(C)外邊緣為+0.3(D)多數內部邊緣為+0. 02。
72. 下圖所標註之符號表示為(A)外邊緣毛頭可向垂直方向凸出 0.3(B)內邊緣毛頭可向垂直方向凸出 0.3(C)外邊緣 讓切可向垂直方向凸出 0.3(D)內邊緣讓切可向垂直方向凸出 0.3。
73. 下圖之邊緣型態標註表示(A)外邊緣之讓切方向為垂直方向(B)內邊緣之避尖之方向為水平方向(C)內邊緣之讓 切方向不定(D)內邊緣之避尖方向不定。
74. 下圖之邊緣型態標註表示(A)可向垂直方向凸出(B)可向水平方向凸出(C)不限定方向凸出(D)讓切 0.3mm。
75. 下圖為凸輪之位移線圖,從動件之位移行程與凸輪軸為同工作平面,當凸輪旋轉角度 0°~120°時,從動件的 行程運動為(A)等速直線運動(B)等加速度運動(C)拋物線運動(D)簡諧運動。
76. 下圖之邊緣型態標註表示(A)內邊緣之讓切或避尖之方向為垂直方向(B)內邊緣之讓切或避尖之方向為水平方 向(C)內邊緣之讓切或避尖,視為銳邊讓切方向不定(D)內邊緣之讓切或避尖,視為避尖方向不定。
77.
左圖所示之銲道詳圖,其銲接符號標註為(A)
(B)
(C)
(D)
。
78.
左圖所示之銲道詳圖,其銲接符號標註為(A)
(B)
(C)
(D)
。
79.
左圖所示之銲道詳圖,其銲接符號標註為(A)
(B)
(C)
(D)
。
80.
左圖之銲道詳圖為(A)
(B)
(C)
(D)
。
81.
左圖之銲道詳圖為(A)
(B)
(C)
(D)
。
82.
左圖之銲道詳圖為(A)
(B)
(C)
(D)
。
83. 下圖之銲道詳圖為(A)
(B)
(C)
(D)
。
84. 將二片或二片以上同材質之板金膠黏接合在一起的方法,稱為(A)膠合(B)黏合(C)鉤合(D)壓合。
85. 將二片同材質或不同材質之板金邊緣鉤扣接合在一起的方法,稱為(A)膠合(B)鉤合(C)扣合(D)壓合。
86. 將二片或二片以上的板金用圓柱形或長方形壓具,從二面同時衝壓成型接合的方法,稱為(A)膠合(B)扣合(C) 衝合(D)壓合。
87.
左圖所示為二片板金作接合,其符號表示法為(A)
(B)
(C)
(D)
。
88.
左圖所示為二片板金作接合,其符號表示法為(A)
(B)
(C)
(D)
。
89.
左圖所示為二片板金作成型接合,其符號表示法為(A)
(B)
(C)
(D)
。
90. 鉚釘孔符號
代表為(A)直孔(B)近邊錐坑孔(C)遠邊錐坑孔(D)兩邊錐坑孔。
91. 結構工程圖中之符號
,代表(A)兩邊錐坑孔之工廠接合螺栓(B)兩邊錐坑孔之工廠接合鉚釘(C)兩邊錐坑 孔之現場接合螺栓(D)兩邊錐坑孔之現場接合鉚釘。
92.
左圖鉚釘符號之右側視圖為(A)
(B)
(C)
(D)
。
93. 下圖鉚釘孔符號表示(A)工廠鑽直孔(B)現場鑽直孔(C)工廠鑽錐坑孔(D)現場鑽錐坑孔。
94. 下圖鋼板接合符號表示(A)鉚釘頭裝在右側(B)螺栓頭裝在右側(C)墊圈裝在右側(D)螺帽裝在右側。
95. 下列何者為工廠鑽孔現場栓接之符號?(A)
(B)
(C)
(D)
。
96. 下列何種材料具有良好之吸振性且易於加工,常用於機械外部結構件?(A)SCM1(B)S45C(C)FC250(D)SUP3。
97. 軸類機件常須承受動態負荷,應具有較佳之機械強度、撓度及耐疲勞性,且易於熱處理及表面硬化。下列 何種材料較不適合應用於軸類機件?(A)S45C(B)SNC2(C)PBC1(D)SCM1。
98. 下列何種材料較適合用於鍵、銷等機件?(A)SS400(B)S50C(C)FC250(D)PBC1。
99. 下列何種材料較不適合用於傳動齒輪?(A)FC250(B)SCM4(C)S45C(D)SNC2。
100. 下列何種材料較不適合用於滑動軸承?(A)BC3(B)PBC2(C)LBC1(D)SC420。
申論題 (0)
相關試卷
115年 - 20800 電腦輔助機械設計製圖 乙級 工作項目 07:實物測繪 51-116(2026/01/07 更新)#136487
115年 · #136487
115年 - 20800 電腦輔助機械設計製圖 乙級 工作項目 07:實物測繪 1-50(2026/01/07 更新)#136486
115年 · #136486
115年 - 20800 電腦輔助機械設計製圖 乙級 工作項目 06:3D模型圖 101-121(2026/01/07 更新)#136485
115年 · #136485
115年 - 20800 電腦輔助機械設計製圖 乙級 工作項目 06:3D模型圖 51-100(2026/01/07 更新)#136484
115年 · #136484
115年 - 20800 電腦輔助機械設計製圖 乙級 工作項目 06:3D模型圖 1-50(2026/01/07 更新)#136483
115年 · #136483
115年 - 20800 電腦輔助機械設計製圖 乙級 工作項目 05:工作圖 101-139(2026/01/07 更新)#136482
115年 · #136482
115年 - 20800 電腦輔助機械設計製圖 乙級 工作項目 05:工作圖 51-100(2026/01/07 更新)#136481
115年 · #136481
115年 - 20800 電腦輔助機械設計製圖 乙級 工作項目 05:工作圖 1-50(2026/01/07 更新)#136480
115年 · #136480
115年 - 20800 電腦輔助機械設計製圖 乙級 工作項目 04:機件元件 151-200(2026/01/07 更新)#136479
115年 · #136479
115年 - 20800 電腦輔助機械設計製圖 乙級 工作項目 04:機件元件 101-150(2026/01/07 更新)#136478
115年 · #136478