所屬科目:捷運◆機械概論
9. 之立體圖,箭頭方向為目視方向,則其前視圖為 (A) (B) (C) (D)
11. 如圖由三條繩索固定之 100 kg 重物,則 BC 繩受力大小最接近多少 kg? (A)50 (B)90 (C)100 (D)125
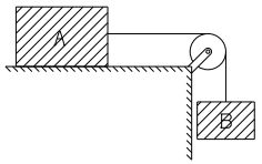
21. 如下圖所示,物體 A 的質量為 5 kg,物體 B 的質量為 3 kg,物體 B 與地板間的摩擦係數為 0.2。若連結 A、B 二物體的繩索長度不變,且忽略滑車的摩擦力與繩索重量,則物體 B 的 加速度最接近多少 m/s2?(不計滑車摩擦) (A)0.5 (B)1.5 (C)2.5 (D)3.5
22. 若 36H8 的實際尺寸是 ,則 36H13 的尺寸是 (A) (B) (C)36±0.0195 (D)
23. 之三視圖,其俯視圖除了 之外,下列那一個圖也是合理的俯視圖?
(A) (B) (C) (D)
25. 運動公式 ,其中 kx(t) 是 (A)慣性力 (B)阻尼力 (C)彈性力 (D)外力
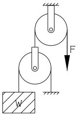
30. 下圖之滑車組的機械利益為多少(F 為施力,W 為抗力,不計摩擦)? (A)0 (B)1 (C)2 (D)0.5
34. 之立體圖,箭頭方向為目視方向,則其前視圖為
35. 下圖力系平衡,則 A 點支撐的垂直反力最接近若干 kg? (A)40 (B)60 (C)30 (D)20
36. 圖示游標卡尺,其游尺(下方刻度)與本尺(上方刻度)對齊之刻度為標記『×』處,則圖示之 尺寸為 (A)27.36 (B)9.36 (C)27.28 (D)9.28
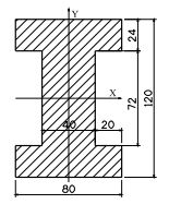
44. 圖示均質材料,其單位為 mm,求此面積對 x 軸(重心軸)的慣性矩最接近多少 mm4? (A)106 (B)107 (C)108 (D)109
48. 一個表面均由平面組成的物品(無曲面)之前視圖,那一個有可能正確? (A) (B) (C) (D)
49. 下圖最有可能是下列何種圖? (A)Admittance Plot (B)Bode Phase Plot (C)Bode Magnitude Plot (D)Nyquist Plot