所屬科目:技檢◆鋼管施工架-丙級
14. 如右圖所示 ,依照 CNS 建築製圖規定為(A)級配(B)玻璃(C)卵石(D)合板。
18. 如下圖所示,此項個人防護具為何?(A)背負式安全帶(B)斜式安全帶(C)腰掛式安全帶(D)降落傘。
35. 如右圖所示 ,依照 CNS 建築製圖規定為(A)昇降機(B)出入口(C)坡道(D)樓梯。
38. 如右圖所示 ,依照 CNS 建築製圖規定為(A)單開門(B)雙向門(C)折疊門(D)旋轉門。
52. 如下圖所示,依照 CNS4750 規定為(A)附工作板橫架(B)腳柱接頭(C)壁連座(D)連接片。
60. 依照 CNS4750 規定,如下圖示 A 為(A)接榫(B)插銷(C)橫材(D)交叉拉桿釦釘。
69. 如右圖所示 ,依照 CNS 建築製圖規定為(A)鋼筋混凝土(B)混凝土(C)石材(D)木材。
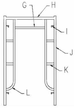
78. 依照 CNS4750 規定,如下圖示 G 為(A)橫材(B)水平加勁材(C)腳柱(D)交叉拉桿釦釘。