所屬科目:技師◆鋼筋混凝土
2 有一箱涵梁斷面配筋如下圖,四邊厚度皆為 10 cm,已知混凝土規定抗壓強度為 280 kgf/cm2, 底層鋼筋 5 支 D29 鋼筋截面積總共 32.35 cm2,有效深度為 43 cm,鋼筋規定降伏強度為4,200 kgf/cm2,試求此中空斷面達到正彎矩標稱強度 Mn 時之中性軸深度: (A) 11.4 cm (B) 13.5 cm (C) 15.9 cm (D) 17.6 cm
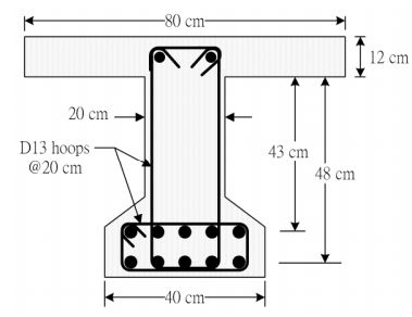
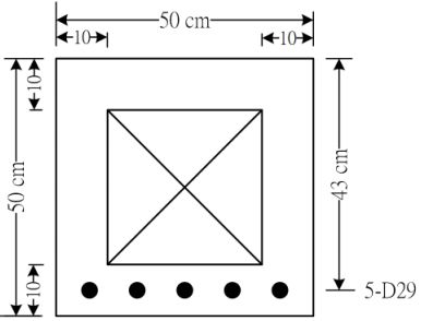
4 T 型梁斷面尺寸和配筋如下圖所示,注意其底層筋為 10 支 D25 鋼筋分兩層排列,已知 D25 鋼筋單支截面積為 5.07 cm2,D13 鋼筋單支截面積為 1.27 cm2,箍筋間距為 20 cm。假設混凝 土強度=280 kgf/cm2,所有鋼筋降伏強度為 4,200 kgf/cm2,試問此 T 型梁斷面之標稱剪力強度 Vn 為何? (A) 32.3 tf (B) 40.1 tf (C) 45.6 tf (D) 53.3 tf
8 雙筋梁斷面設計配筋如下圖所示,已知鋼筋規定降伏強度為 4,200 kgf/cm2,混凝土規定抗壓強度為 280 kgf/cm2,斷面寬度 b=30 cm、底層拉力鋼筋面積 As=39 cm2、有效深度 d=58.5 cm, 經檢核無法符合單筋梁拉力控制斷面。假設壓力筋深度為d' =6.5 cm,若以下圖所示之應變 分布為目標,試計算所需之頂層壓力鋼筋面積至少需要: (A) 5.51 cm2 (B) 6.61 cm2 (C) 7.74 cm2 (D) 8.82 cm2
9 某一矩形柱斷面 60 cm×40 cm 配置 8 支 D25 鋼筋如下圖所示,請問下列那一種假設條件下, 方可求得此柱斷面最大的平衡破壞彎矩強度? (A)中性軸平行 X 軸 (B)中性軸平行 Y 軸 (C)中性軸與 X 軸夾 30 度角 (D)中性軸與 X 軸夾 45 度角
10 如下圖一圓柱斷面直徑 60 cm 配置 8 支 D25 鋼筋,假設混凝土抗壓強度 =350 kgf/cm2,鋼 筋降伏強度為 4,200 kgf/cm2,同時抵抗軸力和彎矩,已知計算標稱強度時中性軸位於 a-a 軸恰好通過形心,試問此斷面是屬於何種斷面? (A)拉力控制斷面 (B)壓力控制斷面 (C)過渡斷面 (D)過量配筋斷面
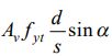
12 如下圖所示剪力鋼筋為斜向肋筋,肋筋與構材縱軸之交角為α ,其剪力鋼筋之剪力計算強度 Vs 應按下列何式計算?(Av 為剪力鋼筋於間距 s 內之截面積、fyt 為剪力筋降伏強度、d 為有效深度) (A) (B) (C) (D)
13 有一正方形 RC 柱斷面採用 280 kgf/cm2 常重混凝土,配置 8 根降伏強度 4,200 kgf/cm2 的 D29 主筋(db=2.87 cm,Ab=6.47 cm2),如下圖所示。請問在單軸撓曲與壓力作用下,此斷面平衡破壞時的軸壓強度最接近下列何值? (A) 200 tf (B) 225 tf (C) 250 tf (D) 275 tf
16 下圖為一單向版與梁構造之立面圖,其中為版之淨跨度。假設版受設計均佈載重wu,試依下表求 b 位置之近似彎矩值為: (A)(B) (C) (D)
19 規範建議混凝土的開裂模數之經驗公式,即利用混凝土標準圓柱試體抗壓 強度推算其受彎開裂模數。對同一值混凝土若準備 30 個以上的純混凝土梁執行抗彎試驗取得之f r試驗值,與計算值相比較,下列敘述何者正確? (A)試驗值的平均值大約等於計算值 (B)大部分的試驗值會高於計算值 (C)大部分的試驗值會低於計算值 (D)所有的試驗值都會等於
21 一單向版帶寬 100 cm,厚度 12 cm,有效深度 9.5 cm 配置單層 D10@20 cm,已知混凝土強 度,鋼筋降伏強度,單支 D10 鋼筋截面積為 0.71 cm2。試問 版單位帶寬之彎矩設計強度ΦMn為若干? (A) 0.92 tf-m/m (B) 0.90 tf-m/m (C) 0.83 tf-m/m (D) 0.71 tf-m/m
23 對於雙向作用基腳剪力設計的規定,下列敘述何者錯誤? (A)基腳所提供的混凝土計算剪力強度 Vc,與其承載柱斷面的長寬比值有關 (B)當基腳的混凝土剪力強度 Vc 不足以抵抗剪力時,可以依規定配置剪力鋼筋 (C)基腳配置剪力鋼筋時,基腳的有效深度不得小於 15 cm,亦不得小於 16 倍剪力鋼筋直徑 (D)基腳剪力鋼筋所提供的最大計算剪力強度為,b0 =基腳中臨界斷面周長,d=基 腳版有效深度
25 有一雙向版系統之部分平面圖如下,長向柱心跨距為 6 m,短向柱心跨距為 5 m,各柱均為40 cm×40 cm 斷面,此雙向版上必須承受 800 kgf/m2 的設計載重。若採用直接設計法,請問圖中 AB 跨對應設計帶之總靜定設計彎矩最接近下列何值? (A) 11,850 kgf-m (B) 12,696 kgf-m (C) 15,000 kgf-m (D) 15,680 kgf-m
31 有關設計剪力(Vu)的臨界斷面標示,下列何者錯誤? (A) (B) (C) (D)
35 混凝土的彈性模數 Ec 通常須由混凝土壓力試驗的應力-應變曲線決定,下列有關目前的混凝 土結構設計規範中 Ec建議值的敘述何者正確? (A)由壓應力為 0 至之斜率決定 (B)會隨混凝土單位重增加而降低 (C)會隨壓力試驗應變率增加而降低 (D)會隨混凝土抗壓強度增加而降低
一、已 知 一 矩 形 柱 ( 30 cm × 50 cm ) 厚 度 40 cm 配 置 矩 形 基 腳 (150 cm × 200 cm)如下圖所示,承受使用靜載重軸壓 PD = 48 tf、使 用活載重軸壓 PL = 40 tf 及地震力引致之軸壓 PE = 32 tf,超載重 0.5 tf/m2,若容許土壓力為 33.5 tf/m2,基腳面上之土及混凝土平均重 為 2 tf/m3,試檢核此基腳面積是否足夠?採用強度設計法計算時,設 計土壓力值為何?
二、懸臂式擋土牆底厚度為 50 cm,牆底承受土壓力造成之每單位寬度設 計彎矩值 Mu = 54 tf-m/m,依照設計規範混凝土保護層之規定,且主 筋採用鋼筋 D22(標稱直徑 db = 2.22 cm,單根面積 ab = 3.871 cm2), 。試問此懸臂式擋土牆底主筋配置 D22 鋼筋之間距為何?