所屬科目:技檢◆油壓-丙級
9. 左圖表示(A)保險絲(B)指示燈(C)電動機(D)電磁線圈。
10. 下列何者為節能標章?(A) (B) (C) (D)
12. 如下圖係表示下列哪一種控制閥?(A)直動式溢流閥(re lie f valve)(B)直動型減壓閥(C)引導動作型溢流 閥(relief valve)(D)引導型減壓閥。
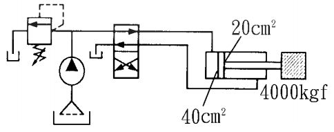
15. 下圖中油壓缸驅動之負載為 4000kgf,油壓缸內部運動阻力為 80kgf,管路及閥之阻力不計,當油壓 泵之流量輸出一定,油缸運動速度(A)速度相同(B)壓力相同(C)向左快(D)向右快。
18. 下列何者為兩側附有止回閥之快速接頭? (A) (B) (C) (D)
27. 左圖符號表示為(A)油面計(B)壓力計(C)溫度器(D)溫度調節。
31. 1m 表示為(A)(B)(C)(D)109 nm。
46. 下列何者為油面計之符號?(A) (B) (C) (D)
51. 如下圖為壓力控制閥之符號,該閥為(A)外部引導、外部排洩(B)內部引導、內部排洩(C)內部引導、外 部排洩(D)外部引導、內部排洩。
54. 下列何者為重力式蓄壓器之符號?(A) (B) (C) (D)
56. 左圖符號為何種管路?(A)排洩管路(B)可撓管路(C)引導管路(D)主管路。
60. 如下圖係表示換向閥之作動方式,下列敘述何者為正確?(A)人力按鈕式(B)人力手柄式(C)電磁式(D)機 械輥子式。
61. 如下圖為(A)快速接頭(B)止回閥(C)孔口(D)阻流管 之符號。
63. 下圖中之迴路,原接那一個開關可以啟動?(A)PB2(B)LS2 (C)PB1(D)LS1。
78. 下列何者為雙向變排量式液壓泵?(A) (B) (C) (D)