阿摩線上測驗
登入
首頁
>
漁具學
> 111年 - 111 高等考試_三級_漁業技術:漁具學#109570
111年 - 111 高等考試_三級_漁業技術:漁具學#109570
科目:
漁具學 |
年份:
111年 |
選擇題數:
0 |
申論題數:
5
試卷資訊
所屬科目:
漁具學
選擇題 (0)
申論題 (5)
一、請以縮結概念應用於拖網與圍網上,並比較說明兩類漁具縮結不同之 原因。(20 分)
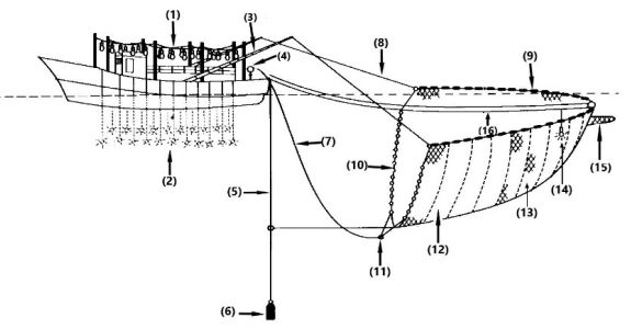
二、請問下面作業圖為何種漁業及其捕獲對象為何?並請依圖中標示(1)〜 (16)順序說明其名稱。(20 分)
三、延繩釣幹繩與刺網浮沉綱強度設計之安全係數有何不同?原因為何? (20 分)
四、針對拖網中排除大型漁獲物、捕獲蝦類排除魚類、捕獲大魚排除小魚之 BRD 設計,請以圖示說明。 (20 分)
五、請舉三種臺灣網漁業實例說明其網具結構所用網片編結法有那些不同 及其原因?(15 分)有大小網目網片連接時如何結法?(5 分)
相關試卷
113年 - 113 專技高考_漁撈技師:漁具學(包括漁業儀器)#123838
113年 · #123838
112年 - 112 高等考試_三級_漁業技術:漁具學#115568
112年 · #115568
111年 - 111 地方政府特種考試_三等_漁業技術:漁具學#112442
111年 · #112442
111年 - 111 專技高考_漁撈技師:漁具學(包括漁業儀器)#111831
111年 · #111831
110年 - 110 高等考試_三級_漁業技術:漁具學#102719
110年 · #102719
109年 - 109 專技高考_漁撈技師:漁具學(包括漁業儀器)#93257
109年 · #93257
109年 - 109 高等考試_三級_漁業技術:漁具學#88708
109年 · #88708
108年 - 108 地方政府特種考試_三等_漁業技術:漁具學#81266
108年 · #81266
108年 - 108 高等考試_三級_漁業技術:漁具學#77717
108年 · #77717
107年 - 107 地方政府特種考試_三等_漁業技術:漁具學#73483
107年 · #73483