所屬科目:輪機保養與維修(概要)(包括輪機基本知識)
1. 填料是用來保證具有相對運動的表面之間密封性的材料,故下列何者不屬於其特性要求?(A) 摩擦阻力小(B) 不損傷零件(C) 適當的耐用性(D) 價格便宜
2. 下列何者不是空壓機排氣溫度過高的原因?(A) 氣閥漏洩(B) 氣缸或冷卻器冷卻不良(C) 吸氣溫度過低(D) 排氣壓力過高
3. 將鋼料加熱至適當之溫度,維持此一溫度並保持一段適當之時間,再予以緩慢冷卻的過程,稱為何種「熱處理」?(A) 淬火處理(B) 退火處理(C) 回火處理(D) 表面硬化處理
4. 錶壓力與絕對壓力之關係式為何?(A) 絕對壓力=錶壓力+大氣壓力(B) 大氣壓力=錶壓力+絕對壓力(C) 錶壓力=大氣壓力+絕對壓力(D) 絕對壓力=錶壓力-大氣壓力
5. 對於柴油機燃油噴油閥的檢查維修,下列何者錯誤?(A) 以銅絲刷清除噴油嘴的外表面之積碳(B) 以比噴孔大一號的通孔工具疏通噴孔(C) 清洗後的套件放於清潔的專用容器中保存(D) 以低倍放大鏡對套件工作表面進行觀察
6. 柴油機作為發電機動力源時,需要保持轉速不變,當用電量變化時,配置何種裝置可自動改變油門大小,保證柴油機功率?(A) 渦輪增壓機(B) 燃油泵(C) 調速器(D) 啟動馬達
7. 增壓機內壓縮機葉輪背部氣封的作用為何?(A) 防止壓縮空氣洩漏(B) 防止廢氣進入壓縮機端(C) 防止壓縮機受熱(D) 防止空氣漏入渦輪機端
8. 在爐體內冷熱變化劇烈區域、孔洞的邊緣及管端擴管處,容易出現什麼現象?(A) 氧化(B) 苛性脆化(C) 析氫腐蝕(D) 裂紋
9. 青銅為何種金屬與銅之合金?(A) 錫(B) 鋅(C) 鎂(D) 鋁
10. 下列何者不是淡水製造機造水量減少的原因?(A) 加熱管群或疊板受水垢污損(B) 空氣漏入,破壞真空(C) 真空抽射器不良(D) 中央冷卻水溫過低
11. 下列何者並非輔鍋爐之主要功用?(A) 輔助動力(B) 加熱(C) 暖機(D) 推進用途
12. 下列何種狀況會導致柴油主機氣缸蓋溫差過大,使得熱應力增加而產生疲勞裂紋?(A) 啟動後加速太快(B) 長期低負荷運轉(C) 潤滑油溫度太高(D) 冷卻水溫度太高
13. 船舶柴油引擎燃油系統中某些部位所發生的波動空蝕,其主要原因為下列何者?(A) 燃油流動時產生嚴重節流現象(B) 引擎劇烈振動(C) 燃油流動時產生嚴重壓力變化(D) 油溫控制不當
14. 鍋爐產汽快速且水位變動頻繁時,汽鼓內之何種裝置,有助於提升鍋爐的蒸汽品質?(A) 降熱管(B) 給水噴嘴(C) 汽水分離器(D) 爐水吹放裝置
15. 某些鍋爐之水管上有鰭片,其功能為何?(A) 較美觀(B) 易於拆裝(C) 增加熱傳導面積提高效率(D) 增加強度
16. 汽鼓或水鼓頭之中心處均開設何種裝置,以便進入鼓內檢查、清潔、修理其內部之配件?(A) 窺視窗(B) 人孔(C) 手孔(D) 擋板
17. 螺槳與艉軸油壓無鍵套合,其液壓礦物油的黏度為何?(A) 50 cSt at 100°F(B) 50 cSt at 122°F(C) 60 cSt at 100°F(D) 60 cSt at 122°F
18. 採用鹼洗法對於清除機件表面的什麼最有效?(A) 水垢(B) 鐵銹(C) 油脂(D) 積碳
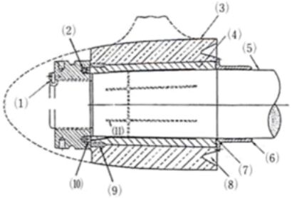
19. 無鍵螺槳(keyless propeller)圖中所示(3)之部分的名稱為:(A) 轂部(B) 套管(C) 軸套(D) 密封套
20. 選用熱力膨脹閥時,閥的容量與蒸發器的熱負荷相較大小如何?(A) 閥的容量比蒸發器的熱負荷大10~15%(B) 閥的容量比蒸發器的熱負荷小10~15%(C) 閥的容量比蒸發器的熱負荷大20~30%(D) 閥的容量比蒸發器的熱負荷小20~30%
21. 若低壓往復式空氣壓縮機的閥片破裂,則會導致以下何種結果?(A) 曲軸箱爆炸(B) 壓縮空氣受油污染(C) 空壓機容量減損(D) 無影響
22. 關於大型電機的絕緣測試,下列敘述何者錯誤?(A) 普通的歐姆表並不適用於絕緣測試(B) 接地偵測亦可用以檢查電機的絕緣狀況(C) 通常電機的絕緣正常值應為一百萬歐姆(M Ω)以上(D) 如發現絕緣下降應盡快找出原因並予以修復
23. 當螺槳迴轉時,槳葉不平衡質量因何項作用力之產生而引起不平衡力矩?(A) 摩擦阻力(B) 形狀阻力(C) 離心力(D) 扭力
24. 下列有關十六烷數(Cetane Number)的敘述,何者錯誤?(A) 十六烷數可表示柴油抗爆性或著火性的好壞(B) 十六烷數愈低,可節省燃料愈多(C) 十六烷數愈高,則抗爆性愈好(D) 十六烷數高,表示著火延遲時間短
25. 相對濕度為1時的空氣狀態為:(A) 乾空氣(B) 過熱空氣(C) 過冷空氣(D) 飽和空氣
26. 若變壓器初級線圈有電壓,但次級線圈沒有電壓,其可能的原因為何?(A) 初級繞組部分短路(B) 次級繞組斷路(C) 次級繞組部分短路(D) 初級繞組短路
27. 船舶中間軸承(Intermediate Bearing)需構造簡單、運轉可靠且安裝維修容易,下列何者是大多數大型船舶採用的中間軸承?(A) 飛濺式(B) 白合金滑動式(C) 圓盤式(D) 油環式
28. 下列何者是螺槳常用的材料?(A) 特殊錳黃銅(B) 鉛青銅合金(C) 鋁鎳合金(D) 高碳合金
29. 柴油機的氣缸蓋和氣缸套有裂紋時,將會出現何種現象?(A) 缸套冷卻水壓力波動,且膨脹水櫃會冒泡(B) 活塞有裂紋,且活塞冷卻水溫過高(C) 缸套冷卻水會增加,且水溫會降低(D) 活塞環產生膠著,高壓燃氣漏洩至曲軸室
30. 以下何種鍋爐附屬裝備無法提升鍋爐熱效率之裝置?(A) 過熱器(B) 節熱器(C) 空氣預熱器(D) 燃油加熱器
31. 空氣旋塞裝於鍋爐汽鼓頂上的最高部分,關於空氣旋塞之敘述下列何者錯誤?(A) 在放乾爐水時開啟讓空氣進入(B) 加爐水時開啟讓空氣排出(C) 鍋爐在壓力過高時開啟洩放壓力(D) 此閥構造與普通球型旋塞相同為耐高壓材質
32. 上緊尚存有壓力的液壓系統漏洩裝置時,會遭遇以下何種情況?(A) 每次都很順利達成(B) 裝置的壓力使上緊工作受到抵抗(C) 會使系統震動(D) 會很容易損及系統
33. 停爐時,為防止鍋爐內蒸汽冷凝產生真空,必須將爐水加至水位計顯示的何種位置?(A) 1/4之水位計高度(B) 2/5之水位計高度(C) 1/2之水位計高度(D) 3/4之水位計高度
34. 操舵裝置組成含有追逐機械部分,其英文書寫,下列何者正確?(A) Steering Station(B) Transmission Lines(C) Mechanical Advantage(D) Follow-up Mechanism
35. 螺漿所發出推力,經由軸承傳到何處,使船舶得以航行?(A) 曲拐軸承(B) 推力軸承(C) 飛輪(D) 主軸承
36. 於起動前須排除泵內空氣,稱起動引注,其英文書寫,下列何者正確?(A) Priming(B) Suction(C) Delivery(D) Intake
37. 下列何者不屬於滑油使用後劣化之特徵之一?(A) 黏度增加(B) 稀釋現象(C) 乳化現象(D) 總量減少
38. 欲測定機件材料的韌性,應進行下列何種試驗?(A) 衝擊試驗(B) 彎曲試驗(C) 抗拉強度試驗(D) 非破壞探傷試驗
39. 下列那一種情況最好立即停止鍋爐燃燒,以確保鍋爐的安全?(A) 蒸汽低壓警報響起時(B) 水位過低無法判讀(C) 水位過高時(D) 備用給水泵異常
40. 消除俥葉修理後之殘餘應力,應以瓦斯噴槍加熱至何溫度範圍退火?(A) 350℃~400℃(B) 450℃~500℃(C) 550℃~600℃(D) 650℃~700℃