所屬科目:教甄◆機械科/模具科/製圖科/生物產業機電/電腦機械製圖科
1. 一孔的軸配合,則裕度為下列何者? (A) 0.01 (B) 0.03 (C) 0.05 (D) 0.07
2. 刀具上的切削力之敘述下列何者 不 正確? (A) 進刀量及進刀深度越大,切削力越大 (B) 刀具之斜角、間隙角越小,切削力越大 (C) 切削劑之添加可減低切削力 (D) 切削力與所切材料性質無關
3. 一般圓孔加工至精確尺寸之加工順序下列何者正確?
①鑽孔 ②搪孔 ③鑽中心孔 ④內圓輪摩 (A)①②③④ (B)③①②④(C)③②①④(D)①③②④
4. 欲車削直徑 200/π mm 之工件,若最佳切削速度為 120 m/min,則最適當之車床主軸轉數約為下列多少 rpm? (A) 200 (B) 400 (C) 600 (D) 800
5. 下列何者 不 是粉末冶金法的優點? (A) 製程幾乎無餘料、節省材料成本 (B) 可製作多孔性工件 (C) 粉末的流動性良好,可製作如鑄件般複雜的製品 (D) 相較於切削加工,可減少製造程序及時間。
6. 下列有關量測工具之敘述何者 錯誤 ? (A) 一般缸徑規適合量測深孔徑 (B) 萬能分厘卡適合量測孔壁至邊緣的距離 (C) 使用整組式厚薄規的目的是量測偏心值 (D) 萬能量角器可畫線求圓柱中心
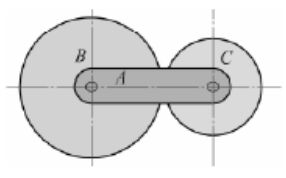
7. 右下方圖示為行星輪系,其中 A 為旋臂,B 和 C 各為具有 32 和 24 齒的齒輪,假若 輪 B 固定,旋臂依順時方向旋轉 150 rpm,則齒輪 C 之轉速及方向應為下列多少? (A) 125 rpm 順時針 (B) 125 rpm 逆時針 (C) 75 rpm 逆時針 (D) 350 rpm 順時針
8. 下列有關彈簧之敘述何者 錯誤 ? (A) 彈簧可儲存機械能 (B) 彈簧指數為彈簧之平均直徑與線徑之比 (C) 兩彈簧之彈簧常數分別為 20 及 60 N/mm,串聯後之總彈簧常數為 40 N/mm (D) 兩彈簧之彈簧常數分別為 30 及 50 N/mm,並聯後之總彈簧常數為 80 N/mm
9. 下列敘述螺紋何者 錯誤 ? (A) 利用螺絲模鉸製內螺紋 (B) 雙線螺紋導程為節距兩倍 (C) 滾軋法製作生產外螺紋最快且又節省材料 (D) 千斤頂使用鋸齒形螺紋
10. 鋼鐵材料經過退火處理後,會有下列何種現象? (A) 延展度降低 (B) 硬度增加 (C) 結晶變細 (D) 強度降低
11. 由庫倫經驗所得摩擦定律之敘述,下列何者 不 正確? (A) 最大靜摩擦力之大小與接觸面之正壓力有關 (B) 靜摩擦係數比動摩擦係數大 (C) 摩擦力之大小與接觸面積大小有關 (D) 摩擦力之方向與運動方向相反
12. 如圖所示的組合樑,為繩索,在平衡狀態下,試求 C 支承的負荷為多少 N? (A) 110 (B) 100 (C) 90 (D) 80
13. 如圖所示,樑在 A 端以鉸接固定於牆上,B 端以繩索支撐且另一端懸掛一物體,不計繩索與滑輪間之摩擦力,當樑上承受載重 P = 600 N,若要使樑保持水平位置,則繩索懸掛的物體應為多少 N? (A) 300 (B) 350 (C) 400 (D) 450
14. 一均質的桿子 AB,重 400 牛頓,桿子上荷重 800 牛頓,若保持水平,如圖所示,則繩子之張力為多少牛頓? (A) 25 (B) 50 (C) 250 (D) 500
15. 如圖所示,求 A、B 兩支點之反力分別為多少? (A)(B) (C) (D)
16. 分別自水平地面向上鉛直拋出質量相同的 A 球與 B 球,若不計空氣阻力,且已知 A 球的初速為 B 球初速的 3 倍,則甲球所到達的最大高度會是乙球所到達最大高度的 幾倍? (A) 1 (B) 3 (C) 6 (D) 9
17. 如圖所示,一列火車從南港站行駛到松山站的速度 V 與時間 t 關係,試求出兩站間的距離為多少 m? (A) 2800 (B) 2900 (C) 3000 (D) 3100
18. 如圖所示,有一物件重 100 kg 置於 1900 kg 重之升降機內,若繩之張力為 2700 kg, 試求升降機上升之加速度為多少 m/sec²?(重力加速度為 g =10 m/sec²) (A) 2.5 (B) 3.5 (C) 4.5 (D) 5
19. 如圖所示,A、B 兩木塊之質量分別為 = 30 kg 與 = 20 kg,且 A 木塊放置於光滑之水平面上。不計軟繩與滑輪之質量且忽略其間之摩擦,若 A、B 兩木塊由靜止狀態被釋放,當 B 木塊下降 1m 時,A 木塊仍在水平面上移動,此時 A 木塊之速度 為多少 m/sec?(假設重力加速度 g = 10m/sec²) (A) √2 (B) 2√2 (C) 4 (D) 8
20. 一台車重 1700 kg,以速度 72 公里/小時,等速行駛經過平面彎道,若輪胎與地面之 摩擦係數為 0.5,為避免使車子打滑,則此彎道半徑至少須為多少 m?(假設重力加 速度 g = 10 m/sec²) (A) 80 (B) 160 (C) 240 (D) 320
21. 如圖所示,有一質量 5 kg 的物體從 5 m 高的光滑曲面滑下(假設物體不滾動),將下方處的彈簧壓縮,若彈簧常數為 19.6 N/cm,且不計其它能量損失,則彈簧的壓縮量 為多少 m?(假設重力加速度 g = 9.8 m/sec²) (A) 2 (B) 1 (C) 0.5 (D) 0.25
22. 某一起重機其機械效率為 60 %,若藉此起重機以 10 sec 的時間,將 300 kg 的物品提 升 20m,則此起重機需要輸入的功率為多少 kW?(假設重力加速度 g = 10m/sec²) (A) 5 (B) 6 (C) 8 (D) 10
23. 某金屬之應力-應變圖如圖所示,在比例限內,若應變(ε)∕應力(σ)值愈大,表示此材料 (A) 彈性係數愈小 (B) 彈性係數愈大 (C) 彈性限度愈小 (D) 彈性限度愈大
24. 有一鋼桿面積 A = 10 mm2,長 L = 30 cm,承受一軸向力 P = 180 kN 之作用,若蒲松氏比 μ = 0.2,彈性係數 E = 200 GPa,則其橫應變為多少? (A) 0.018 (B) 0.09 (C) 0.18 (D) 0.9
25. 如圖所示有一材料受 3 力作用,若面積為 100 mm2,彈性係數為 100 GPa,則長度總變化量為多少 mm?(A) -1.5 (B) 0 (C) 1.5 (D) 4.5
26. 如圖所示,利用三個相同之鉚釘將三塊板材接合,若鉚釘之直徑為 30 mm,且其可 承受之剪應力為 60/π MPa,則施力 P 不 得超過多少 kN? (A) 30 (B) 60 (C) 81 (D) 125
27. 直徑 100 mm 之實心圓棒,在軸向承受 P = 200π kN 之拉力,則與橫截面夾 45°之斜 截面上的最大剪應力為多少 MPa? (A) 10 (B) 20 (C) 30 (D) 40
28. 如圖所示,有一斷面為矩形之外伸樑,若自由端 C 受集中載重 6 kN 作用,試求樑內 最大彎曲應力(絕對值)為多少 MPa? (A) 3 (B) 6 (C) 9 (D) 12
29. 下列何種尺寸範圍的分厘卡屬於一般市售規格(mm)? (A) 35~60 (B) 50~75 (C) 65~90 (D) 80~105
30. 銼削表面具有黑皮的工件, 不 宜先使用下列何種銼刀去除黑皮? (A) 廢棄舊銼刀 (B) 銼刀前端 (C) 新的粗齒銼刀面 (D) 銼刀邊
31. 下列何種刀具為單刀鋒刀具? (A) 砂輪 (B) 車刀 (C) 鋸片 (D) 銑刀
32. 關於直徑 20 mm 的麻花鑽頭敘述下列何者 不 正確? (A) 鑽柄具錐度 (B) 須使用鑽頭板手鎖緊 (C) 鑽根為扁平狀 (D) 具有兩個對稱的切刃
33. 列何者 不 是砂輪規格的構成要素? (A) 組織 (B) 粒度 (C) 硬度 (D) 結合度
34. 關於車床工作的轉速選擇下列何者最 不 適當? (A) 粗車選擇 400 rpm (B) 精車選擇 125 rpm (C) 倒角選擇 800 rpm (D) 切斷選擇 250 rpm
35. 一直徑為 D 的圓,則其圓面積對任一圓周切線的面積慣性矩為下列何者? (A)(B) 3 (C)(D)
36. 一升降機之功率為 8.6 KW,且其機械效率為 0.9,若欲將 70 公斤物體上升 56.4 公尺, 則使用此升降機需花費下列多少時間? (A) 5 秒 (B) 7.5 秒 (C) 10 秒 (D) 12.5 秒
37. 某齒輪組之傳遞功率為 20 KW,轉數為 1000 rpm,試求出其傳達之扭矩? (A) 171 N-m (B) 181 N-m (C) 191 N-m (D) 201 N-m
38. 關於彈簧功用之敘述,下列何者正確? (A) 車輛底盤懸吊裝置之彈簧其功用是用來吸收能量 (B) 離合器的彈簧其功用為吸收振動能 (C) 鐘錶發條的彈簧其功用是力的量度 (D) 鍋爐的安全閥彈簧的功用是產生作用力
39. 有一輪軸以方鍵做連結傳送動力,方鍵長度 50 mm,鍵材料之容許剪應力 50 MPa、 容許壓應力 80 MPa,傳送 800 N-m 扭矩,軸之外徑為 40 mm,在安全傳送下,求方 鍵之寬度最少需多少 mm? (A) 8 (B) 12 (C) 16 (D) 20
40. 有關機械利益與機械效率之敘述,下列何者正確? (A) 機械效率可以有效判斷機構是否省力 (B) 機械利益大於 1 則費力省時 (C) 任何機械的機械效率必小於 1 (D) 機械利益大則機械效率一定高