阿摩線上測驗
登入
首頁
>
(高等)工程力學(包括靜力學、動力學與材料力學)
> 96年 - 96 公務升官等考試_薦任_機械工程:工程力學(包括靜力學、動力學與材料力學)#50805
96年 - 96 公務升官等考試_薦任_機械工程:工程力學(包括靜力學、動力學與材料力學)#50805
科目:
(高等)工程力學(包括靜力學、動力學與材料力學) |
年份:
96年 |
選擇題數:
0 |
申論題數:
6
試卷資訊
所屬科目:
(高等)工程力學(包括靜力學、動力學與材料力學)
選擇題 (0)
申論題 (6)
⑴試求滑塊之靜態變形量(static deflection)δ。(10 分)
⑵試求滑塊在振動時之週期。(15 分)
【已刪除】二、如圖所示,一鐵球被一繩索 A 及一繩索 B 懸吊於一移動之框架內,該框架以加速度 a 移動。試求會使繩索 A 之張力(tension)兩倍於繩索 B 之張力時,該框架之加速 度為何?(25 分)
⑴試求能施加於該軸 B 處之最大扭力(torque)T 為何?(15 分)
⑵試求當扭力 T = 60kN.m 時,該軸在 B 處之旋轉角度為何?(10 分)
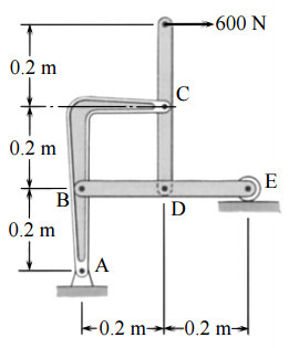
【已刪除】四、如圖所示之結構中,試求在 C 點的梢(pin)其所承受之力量為何?(25 分)