所屬科目:高中指考◆化學
3.家用的瓦斯有天然氣(主成分CH4)或液化石油氣(主成分C3H8)。若在同溫同壓,分別使同體積的CH4與C3H8完全燃燒,則C3H8所需空氣的量是CH4的幾倍? (A) (B) (C)2(D)2.5(E)3
4.在一個體積可變的密閉容器內,裝入氨氣2公升。若在溫度與壓力不變的條件下使氨分解: NH3(g)⇌N2(g)+H2(g)(係數未平衡) 試問當容器內氣體的體積由原來的2公升變成3公升時,有多少百分比(%)的 氨分解? (A)25(B)50(C)75(D)80(E)90
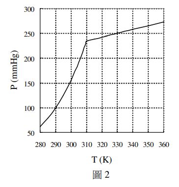
11.小華將8.4克的某液態化合物置於8.2升體積固定的密閉容器中,自280K開 始加熱,溫度逐漸升至360K。小華記錄容器內氣體壓力隨溫度的變化如圖2。 試問此化合物之分子量(g/mol)最接近下列哪一數值? (A)60(B)72(C)84(D)96(E)108
13.化合物甲的結構式如圖3,下列哪一選項是化合物甲的正確中文系統命名? (A)6-甲基-3-辛酮(B)2-乙基-5-庚酮(C)3-甲基-6-辛酮 (D)1,2-二甲基-5-庚醛(E)1,2-二甲基-3-庚醛
22.光合作用是大自然節能減碳的重要程序,其熱化學反應式如下: 6CO2(g)+6H2O(l)→C6H12O6(s)+6O2(g) ∆H°=2801kJ 下列關於光合作用的敘述,何者正確? (A)降低溫度有利於此反應的平衡往產物的方向移動 (B)由此反應式可知,葡萄糖的莫耳生成熱為2801千焦 (C)此反應每產生一個葡萄糖分子,至少需要6個二氧化碳分子共獲得24個電子 (D)此反應的平衡常數等於葡萄糖與氧氣反應的反應速率常數(k逆向)和二氧 化碳與水的反應速率常數(k正向)的商值 (E)葉綠素未出現在此反應式中,是因其不是反應物也不是生成物,但是葉綠 素實際上,確有參與光化學氧化還原反應
23.將反應物A和B各0.040M置於一密閉容器中,使其反應生成C,反應過程中 各物種濃度隨時間的變化如圖4所示。 下列有關此反應之敘述何者正確? (A)此反應可表示為A+3B→2C (B)當B和C的濃度相同時,A的濃度約為0.032M (C)此反應初速率的絕對值大小順序為B>C>A (D)此反應之平衡常數約為1.3×104(係數為最簡單整數者) (E)在圖中B和C的交點處,B的消耗速率與C的形成速率相同