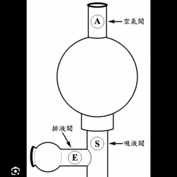
3.安全吸球有三個出口活瓣 A、E 及 S,其中 E 活瓣為何?
(A)吸氣栓
(B)排氣栓
(C)吸液栓
(D)排液栓
答案:登入後查看
統計: A(0), B(3), C(2), D(8), E(0) #3266621
統計: A(0), B(3), C(2), D(8), E(0) #3266621
詳解 (共 1 筆)
#6347080

0
0