題組內容
二、委託人據附件二,有關隱形眼鏡親水性聚合物之研發成果,希望於最短時間內取得專利證書。
附件二
親水性聚合物技術構想書
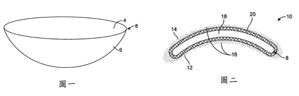
淚膜對於氧的輸送及潤滑眼睛表面等關鍵功能相當重要,其與眼瞼恆 定滑動接觸。乾眼症可能存在於淚膜易受損至破裂之範圍內,有些病患可 能因配戴習用隱形眼鏡致輕微程度之乾眼症,習用隱形眼鏡係如圖一所示。為克服此問題,委託人將所研發之親水性聚合物(20)搭配重要製程, 即便圖二鏡片(18)與圖一之習用隱形眼鏡相同的情況下,因親水性聚合物 (20)之顯著功效,確實解決隱形眼鏡造成淚膜破裂之問題。
參見圖二,親水性聚合物係由第一聚乙二醇(聚乙二醇,以下稱 PEG) 及第二 PEG 雙組分所組成,第一 PEG 包含反應性電子對接受基團,第二 PEG 包含反應性親核基團,此反應性電子對接受基團及反應性親核基團 具高反應效能。又,反應性電子對接受基團為碸部分,而反應性親核基團 係為硫醇部分,且第一及第二 PEG 為具有介於 2 至 12 個分支臂之間的分 支數。另,第一及第二 PEG 各具有介於約 1kDa 至 40kDa 之間的分子量; 相關反應詳細過程見圖三(a)~(d)。
有關親水性聚合物(20)噴至鏡片(18)之重要製程,係將第一 PEG 及第 二 PEG 雙組分同時滴在超音波噴嘴上,於該處混合並霧化成小液滴,然 後在空氣中將等小液滴噴至鏡片(18)。操作時,須調整反應速率以確保組 分反應足夠迅速,使其在鏡片(18)上形成實心結構,然又不致使雙組分在 噴嘴處混合時瞬間聚合。
委託人採用 Sonotek 儀器,此儀器具有兩個將溶液沉積至尖端之進料 管線的超音波驅動噴嘴。處理過程中,包括將 PEG 乙烯基碸組分溶解於 含有三乙醇胺之甲醇,並將 PEG 硫醇組分溶解於純甲醇,而後將這兩種 溶液以每分鐘 5 微升之速率輸送至噴嘴尖端,並調整每一 PEG 之濃度以 混合等體積的各種組分至最佳化,當溶液沉積至超音波尖端時,已均勻混 合並霧化成直徑大約 20 微米之液滴。
圖一習用隱形眼鏡。
圖二具有親水性聚合物之隱形眼鏡橫斷面圖。
圖三(a)~(d)反應詳細過程。
4 : 內凹面
6 : 外凸面
8 : 周緣
10 :隱 形眼鏡
12 :凹面表面
14 :凸面表面
16 : 淚膜
18 : 鏡片
20 : 親水性聚合物
