阿摩線上測驗 登入

申論題資訊

試卷:109年 - 109 臺灣菸酒股份有限公司_從業職員及從業評價職位人員甄試_從業職員-機械:機械設計#89143
科目:機械設計
年份:109年
排序:0

題組內容

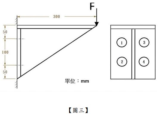
第三題: 如【圖三】所示(單位:mm)之架子以 4 支 M10 之螺栓(節距 p=1.5mm、節徑 9.026mm) 鎖於垂直牆面上,且螺栓事先鎖緊產生之預負荷為 6,000N。若螺栓之降伏強度Sy = 480MPA, 螺栓根部面積視為應力作用面積,安全因數 Fs=2.0,請回答下列問題:(若條件不足,請自行做合理假設)【未列出計算過程者, 不予計分】
5f1fcdc7acbf8.jpg

申論題內容

(6)若在負荷 F=5000[N]的作用下,最大剪應力發生在哪一支螺栓?最大剪應力的值 [MPa]為何?【5 分】