題組內容
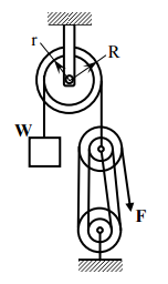
四、如圖所示之起重滑車,R = 60 mm,r = 40 mm,W = 500 N,總體之機械效率為 90%, 試求:

⑵等速下降重物 W 所需之施力 F。(10 分)
詳解 (共 1 筆)
詳解
555