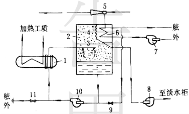
【已刪除】10.圖五為真空蒸發式造水裝置系統圖。請依圖上之符號標示,詳細說明此系統之動作原理
圖五
真空蒸發式造水裝置系統圖(1-主柴油機;2-加熱水調節閥;3-主機淡水冷卻泵;4-主機淡水冷卻器;5-主機滑油冷卻器;6-主機空氣冷卻器;7-主機海水泵;8-海水調節閥;9-蒸發冷凝器組;l0-造水裝置海水泵;1l-排污泵;12-真空泵;13-浮子流量計;14-彈簧穩壓閥;15-給水調節閥;16-凝水泵;17-凝水泵平衡管;18-鹽度計;19-鹽度感測器;20-回流電磁閥;21-淡水流量計;22-真空壓力表;23-真空破壞閥;24,25-放氣旋塞;26-蒸發溫度計;27-冷卻水進、出口閥;28-加熱淡水進、出口閥;29-取樣閥;30-淡水排出閥(停止止回閥);31-止回閥;32-水位計;33-洩水閥)