所屬科目:港務局◆工程力學(包括材料力學)
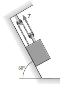
1.如下圖所示、斜面為完全光滑,若方塊重量為 100kg,請計算維持該方 塊為靜止平衡時繩纜所需之力 T。
2.如下圖所示、為一桁架式結構,各節點間之水平及垂直間距均為 1m, 節點 J 受 100KN 垂直力之作用時,請計算桿件 DG 之受力。
3.如下圖所示,為一簡支梁承受垂直載重作用,請繪出此梁之剪力圖及彎距圖。
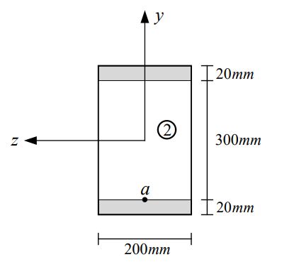
4.如下圖所示承受彎矩 Mz=20kN⋅ m及剪力Vy=25kN之梁斷面,上、下緣 為厚度20mm之第 1 種材料,中間為深度300mm之第 2 種材料,第 1、 2 種材料之彈性模數分別是E1= 200GPa 、E2=20GPa ,求梁彎曲之曲率, 與第 1、 2 種材料在 a 點(材料交界面處)之正向應力σx 及剪應力τxy 。
5.構件中某一點之應力狀態如下圖左所示,求其主應力、最大平面剪應力,及當 θ=30o 如下圖右所示,作用在 AB 斜面的應力分量 σx' τx'y' 。