所屬科目:機械設計
一、有一直徑 2 mm 之鋼絲(楊氏係數 E = 210 GPa)成型為如圖所示之半圓 (平均半徑為 40 mm) ,且 A、B 兩端皆為銷接(pinned)固定。試以卡 氏定理(Castigliano’s theorem)求在對稱中點 C 施加如圖之 30 N 集中力 時,A、B 端點之水平反力分量。(25 分)
二、如圖所示由一直徑 10 mm 的彈簧鋼線所成形之懸臂樑彈簧,其接近自由 端承受週期性之疲勞變動負載(= 60 N),鋼線材料之 抗拉強度為 1360 MPa,其表面接近熱軋加工,其考量尺寸、負載應力型 式、表面加工狀況等修正後之耐久限(endurance limit)為 220 MPa,且 彈簧固定端之疲勞應力集中係數為 1.3,試以古德曼理論(Goodman’s criterion)估算此彈簧之疲勞壽命次數。(25 分)
三、有一均勻鋼軸直徑為 25 mm、長度為 600 mm,可視為簡支撐(simply- supported)於兩端之軸承間。材料楊氏係數為 207 GPa、質量密度為 7650 kg/m3。試求此軸之最低臨界轉速(critical speed,單位為 rpm) ,以 及直徑、長度皆縮小一半之另一軸的臨界轉速,並說明軸臨界轉速之意涵。 (25 分) 供參考之公式: (rad/s)
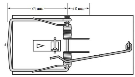
四、有一如圖所示之捕鼠夾係由兩個對稱配置的扭轉彈簧所驅動,彈簧由 2 mm 直徑鋼線繞成外徑 12 mm、有效圈數 11 圈之螺旋(材料楊氏係數 為 200 GPa),使用施力器量測設定捕鼠器所需於夾桿 A 點施加之力量 大小為 36 N,試求此設定時所需旋轉夾桿之彈簧扭轉變形角度以及彈簧 內鋼絲之最大應力。 (25 分) 供參考之公式: (unit: torque per turn)