阿摩線上測驗
登入
首頁
>
機械原理(機械概論、大意)
>
103年 - 103中央造幣-機械原理#93830
> 申論題
題組內容
二、 螺旋為斜面原理的應用,又稱為螺紋,請回答下列問題:
⑶一個 M10×1.5 之雙線螺紋,當每轉一圈則螺紋導程為多少 mm?【5 分】
相關申論題
⑴若一漸開線齒輪的節圓直徑為 100 mm,壓力角為 20°,試求基圓直徑為多少 mm? (sin 20°=0.34,cos 20°=0.94)【5 分】
#386690
⑵若一標準正齒輪的外徑為 180 mm,齒數為 58 齒,試求模數及周節分別為多少 mm?【10 分】
#386691
⑶若有兩個互相嚙合之外接正齒輪,轉數比為 2:1,模數為 2,兩齒輪軸中心距離 為 150 mm,試求兩齒輪的齒數?【10 分】
#386692
⑴L-3N-M40×2-1 為螺紋之標註方法,請寫出各標註之詳細涵義。【5 分】
#386693
⑵假設螺紋之導程角表示為 α,螺桿直徑表示為 D,請寫出導程 L 與 α 及 D 的關係 式?【5 分】
#386694
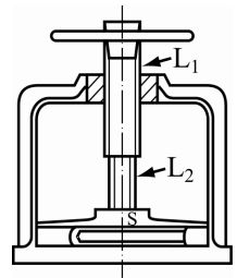
⑷如圖所示的螺桿機構,假設 L1、L2分別為導程 10 mm 和 5 mm 之右螺旋,可使滑板 S 上下運動,欲使滑板下降 15 mm,試求手輪需迴轉的圈數及方向? 【10 分】
#386696
⑴試求此圓軸之傳輸功率?【9 分】
#386697
⑵若此軸上有一方鍵,規格為 6×6×40(mm),試求該方鍵所承受之壓應力及剪應力? 【16 分】
#386698
⑴請說明摩擦輪之定義。【3 分】
#386699
⑵請列出摩擦輪之優點與缺點。【7 分】
#386700
相關試卷
115年 - 115 關務特種考試_四等_機械工程(選試英文):機械原理概要#138916
115年 · #138916
114年 - 114 關務特種考試_四等_機械工程(選試英文):機械原理概要#126566
114年 · #126566
113年 - 113-2 國營臺灣鐵路股份有限公司_從業人員甄試試題_第10階-助理技術員:機械原理概要#125611
113年 · #125611
113年 - 113 臺灣菸酒股份有限公司_年從業職員及從業評價職位人員甄試試題_從業評價職位人員:機械概論#123491
113年 · #123491
113年 - 113 中央印製廠新進人員甄試試題_印製技術員:機械概論#123139
113年 · #123139
113年 - 113 關務特種考試_四等_機械工程(選試英文):機械原理概要#119482
113年 · #119482
112年 - 112 中央銀行所屬中央印製廠、中央造幣廠_新進人員聯合甄試試題_印製技術員/機械技術員:機械概論#120212
112年 · #120212
112年 - 112 地方政府特種考試_四等_機械工程:機械原理概要#118123
112年 · #118123
112年 - 112 原住民族特種考試_四等_機械工程:機械原理概要#116511
112年 · #116511
112年 - 112 普通考試_機械工程:機械原理概要#115401
112年 · #115401