阿摩線上測驗
登入
首頁
>
統測◆02動力機械群◆(一)應用力學、引擎原理及實習
> 101年 - 101 四技二專統測_動力機械群_專業科目(一):動力機械概論、應用力學#18079
101年 - 101 四技二專統測_動力機械群_專業科目(一):動力機械概論、應用力學#18079
科目:
統測◆02動力機械群◆(一)應用力學、引擎原理及實習 |
年份:
101年 |
選擇題數:
40 |
申論題數:
0
試卷資訊
所屬科目:
統測◆02動力機械群◆(一)應用力學、引擎原理及實習
選擇題 (40)
1. 物料搬運機械中,下列何者屬於連續性搬運機械? (A) 揚升機械 (B) 拖曳及推拉機械 (C) 裙板輸送機 (D) 起重機
2. 在操作電動捲揚機(電動絞車)時,下列敘述何者不正確? (A) 應安裝在平坦無障礙的地方 (B) 所使用之捲筒最小直徑應為鋼索直徑的 8~10 倍 (C) 操作時,在電動絞車、滑車及鋼索附近 2 公尺內不准站人 (D) 當鋼索放鬆至所需長度時,留在捲筒上之鋼索不得少於 3 圈
3. 對於運用在揚升機械上之鋼索,下列敘述何者不正確? (A) 強度高、彈性好、能承受衝擊負荷 (B) 鋼索磨損後,外表會產生毛刺,易於檢查 (C) 可在較高溫度下工作,並耐重壓 (D) 鋼索應用在直徑較小之滑輪時,較不容易損壞
4. 一般應用在水壩工程及原木搬送之起重機為何? (A) 鋼索(纜索)起重機 (B) 伸臂起重機 (C) 橋式(橋型)起重機 (D) 移動式起重機
5. 在水輪機的開發實驗中,模型機是原型機等比例縮小 1 / 5 製造而成,已知兩者運作的流體 相同,也滿足相似原理。若欲使兩者的有效落差比是 1,則模型機的轉速應該是原型機 轉速的幾倍? (A) 125 倍 (B) 25 倍 (C) 5 倍 (D) 1 倍
6. 機械效率為 90%之引擎,若制動馬力為 90PS,則該引擎之摩擦馬力為多少 PS? (A) 12 (B) 11 (C) 10 (D) 9
7. 壓縮比為 10.5 之汽油引擎,在國內目前適用何種無鉛汽油? (A) 90 (B) 92 (C) 95 (D) 98
8. 下列哪款引擎之性能較佳? (A) 排氣量 2400CC,制動馬力 120PS (B) 排氣量 2000CC,制動馬力 105PS (C) 排氣量 1800CC,制動馬力 92PS (D) 排氣量 1500CC,制動馬力 76PS
9. 有關鍋爐的描述,下列何者正確? (A) 火管式鍋爐之加熱方式為水在爐管內循環,火焰在管外加熱 (B) 火管式鍋爐之建造費用低於水管式鍋爐 (C) 火管式鍋爐較適用於高壓及大容量系統 (D) 火管式鍋爐之蒸氣產能大於水管式鍋爐
10. 下列哪種內燃機於進氣行程時,係將進氣歧管中之混合氣導入曲軸箱中? (A) 四行程汽油引擎 (B) 四行程柴油引擎 (C) 二行程汽油引擎 (D) 二行程柴油引擎
11. 下列何者屬於再生能源? (A) 天然氣 (B) 煤氣 (C) 石油 (D) 水力能 公告試題 僅供參考動力機械群 專業科目(一) 第 3 頁 共 8 頁
12. 在使用帶式輸送機時,為使輸送帶保持必要之張力,常使用下列何種裝置? (A) 導料槽(供料器) (B) 張緊裝置(收緊器) (C) 驅動滾輪(驅動滑輪) (D) 卸載裝置(卸料器)
13. 有關魯氏鼓風機(Root's blower)的兩個轉子,下列敘述何者正確? (A) 轉向必須相同 (B) 可使流體的壓力上升 3kgf/ cm
2
以上 (C) 二個轉子彼此相差 180
o
的相位 (D) 適用於轉速常變化的機器
14. 下列何者可能為汽油引擎之汽缸產生爆震的原因? (A) 進氣壓力太低 (B) 燃燒室溫度太低 (C) 壓縮比太低 (D) 汽油燃點太低
15. 下列為某一引擎於不同運轉狀態下之燃料消耗率,何者較省油? (A) 以制動馬力 125PS 運轉 95 分鐘,消耗汽油 35kg (B) 以制動馬力 110PS 運轉 92 分鐘,消耗汽油 32kg (C) 以制動馬力 100PS 運轉 90 分鐘,消耗汽油 30kg (D) 以制動馬力 90PS 運轉 87 分鐘,消耗汽油 27kg
16. 迴轉式引擎因為轉子迴轉時密封不易,容易產生何種排氣污染物? (A) CO (B) HC (C) NO
x
(D) 黑煙
17. 有關帕爾登水輪機(Pelton water turbine )的運作,下列敘述何者不正確? (A) 設有轉向器或偏向板以利水鎚的作用 (B) 箕斗前緣有一缺口,以充分利用噴流提高水輪的效率 (C) 它是衝動式水輪機 (D) 噴嘴內之針閥可調整噴流量之大小
18. 水泵的輸出功率為 0.5 kPS,打水的流量為 0.85m
3
/s,已知水的密度為 1000kg/m
3
,則 水泵的打水揚程約為多少 m? (A) 22 (B) 30 (C) 44 (D) 60
19. 在開發地下深水井時,一般會採用何種泵? (A) 氣力揚升泵 (B) 旋轉泵 (C) 噴射泵 (D) 往復泵
20. A 與 B 兩個物體,A 質量是 B 質量的 4 倍,若已知兩物體動能相等,則 A 速度應該是 B 速度的幾倍? (A) 0.5 倍 (B) 1 倍 (C) 2 倍 (D) 4 倍
21. 如圖 ( 一 ) 所示,一梯子不計重量,視為剛體,長 2 m,以 45 ° 角斜靠在平滑牆壁上, 牆壁與地面互相垂直,梯子底端與地面之靜摩擦係數為 0.5。有一重量 20 kg 之小孩沿著 梯子上爬,若梯子不致滑動,則小孩可爬到離地面之最大高度為多少 m?
22. 在高度h 處之物體,由靜止自由落下,假設空氣阻力忽略不計且重力加速度為 g ,求物體 落至地面所需之時間為多少?
23. 如圖(二)所示,懸臂樑承受一直角三角形分佈力,若忽略樑之重量,試求固定端 A 處的 反作用力矩為多少 N-m?
(A) 450 (B) 900 (C) 1350 (D) 2700
24. 在機械設計應用上,下列機件何者並非利用摩擦力? (A) 皮帶輪 (B) 離合器 (C) 自鎖螺絲 (D) 彈簧
25. 依據力的單位及換算,下列敘述何者正確?(假設重力加速度為 9.8m/s
2
) (A) 牛頓(N)是質量常用的單位 (B) 1 牛頓是使質量 1kg 之物體產生 9.8m/s
2
之加速度 (C) 在 MKS 制單位中,1 牛頓等於 1kg-m/s (D) 1 公斤重等於 9.8 牛頓
26. 一初速度為v 之物體,在地面上與水平成Θ 之仰角斜向拋出,假設空氣阻力忽略不計且 重力加速度為 g ,求其水平射程為多少?
27. 一邊長為 L 之正方形,求其面積對底邊之迴轉半徑為多少?
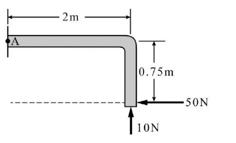
28. 如圖(三)所示,50N 及 10N 作用力對 A 點之合力矩為多少 N-m?
(A) 17.5 (B) 20 (C) 57.5 (D) 92.5
29. 一物體以 14m/s 之初速度直線滑行 25m 方停止,則滑行期間物體與地面之摩擦係數為何? ( g=9.8m/s
2
) (A) 0.3 (B) 0.4 (C) 0.5 (D) 0.6
30. 一風力發電機,其葉片以定角速度ω轉動,葉片最外緣至軸心之長度為 L ,求葉片最外緣 之速度大小為多少?
31. 如圖(四)所示,有一重量為 W 的箱子沿斜坡等速滑下,若箱子與斜坡接觸面的摩擦力 不可忽略,則下列自由體圖中,何者標示的正向力N 及摩擦力F ,所求出的數值皆為正值?
32. 一初速度為 v 之物體,由地面鉛垂上拋,假設空氣阻力忽略不計且重力加速度為 g , 求其最大高度為多少?
33. 一高度及底邊長皆為h 之三角形,求其面積對底邊之慣性矩為多少?
34. 下列有關加速度之定義,何者不正確? (A) 加速度為向量 (B) 加速度方向與合力方向一致 (C) 向心加速度數值大小正比於切線速度數值大小 (D) 牛頓第二運動定律為描述力、質量及加速度三者之關係
35. 一汽車之每一驅動輪產生 600N 之驅動力,且輪胎直徑為 60cm,若無發生打滑及無任何 能量損失,則作用在單一驅動輪之扭矩為多少 N-m? (A) 180 (B) 240 (C) 360 (D) 720
36. 一質量為 10kg 之物體,靜止於光滑水平面上,在一固定水平力作用下進行直線等加速度 運動。物體開始運動 2 秒內,此力所作之功為 8000J,則此作用力之大小為多少 N? (A) 100 (B) 200 (C) 300 (D) 400
37. 下列關於功之描述,何者正確? (A) 功屬於純量 (B) 功之單位由力與速度之單位組成 (C) 功之正負號代表功之方向 (D) 作用力與受力物體之位移互相垂直時,作功最大
38. 一直徑為 D 之圓形,求其面積對圓心之極慣性矩為多少?
39. 一彈簧被壓縮 10cm 時,其儲存之彈性位能為 40J,若將其壓縮 6cm 時,需施加之作用力 為多少 N? (A) 400 (B) 480 (C) 500 (D) 580
40. 一機械設備之機械效率為 80%,若欲運用此設備將一重量 4000N 之物體,以等速度於 5 秒內升高 10m,則此設備所需之輸入功率為多少仟瓦? (A) 4 (B) 6.4 (C) 8 (D) 10
申論題 (0)
相關試卷
114年 - 114 四技二專統測_動力機械群_專業科目(一):應用力學、引擎原理、 底盤原理#137786
114年 · #137786
114年 - 114 身心障礙學生升學大專校院甄試試題_四技二專組(動力機械群):應用力學、引擎原理、 底盤原理#137231
114年 · #137231
113年 - 113 身心障礙學生升學大專校院甄試試題_四技二專組_動力機械群_專業科目(一):應用力學、引擎原理、底盤原理#125673
113年 · #125673
113年 - 113 四技二專統測_動力機械群:應用力學、引擎原理、底盤原理#122434
113年 · #122434
112年 - 112 身心障礙學生升學大專校院甄試試題_四技二專組_動力機械群_專業科目(一) :應用力學、引擎原理、底盤原理#118613
112年 · #118613
112年 - 112 四技二專統測_動力機械群_專業科目(一):應用力學、引擎原理、 底盤原理#114348
112年 · #114348
111年 - 111 身心障礙學生升學大專校院甄試試題_四技二專組_動力機械群_專業科目(一):應用力學、引擎原理、底盤原理#118912
111年 · #118912
111年 - 111 四技二專統測_動力機械群:專業科目(一)應用力學、引擎原理、底盤原理#107811
111年 · #107811
110年 - 110 四技二專統測_動力機械群_專業科目(一):應用力學、引擎原理及實習#98512
110年 · #98512
100年 - 100 四技二專統測_動力機械群_專業科目(一):動力機械概論、應用力學#18057
100年 · #18057