阿摩線上測驗
登入
首頁
>
建築結構系統
> 104年 - 104 專技高考_建築師:建築結構#41617
104年 - 104 專技高考_建築師:建築結構#41617
科目:
建築結構系統 |
年份:
104年 |
選擇題數:
40 |
申論題數:
3
試卷資訊
所屬科目:
建築結構系統
選擇題 (40)
1 在鋼筋混凝土剛構架結構中,若上下樓層之垂直構件錯位,以圖中之 AB、BC、CD 構件為例,相較 於垂直構件無錯位之狀況,在垂直載重下可能產生之構件應力變化,下列何者正確?
(A)AB 柱之軸力增加,但彎矩無明顯變化 (B)BC 梁承受額外扭矩 (C)CD 柱之彎矩增加 (D)BC 梁之剪力及彎矩不變
2 某地區之土層振動週期約為 1.1 秒,就正常樓房而言,則下列那一種樓層數之建築物最容易出現共振 效應? (A)5 (B)10 (C)30 (D)50
3 關於拱結構之敘述,下列何者正確? (A)拱之基礎設置地梁連接兩端部時,地梁承受拉力 (B)若總垂直載重相同,拋物線型拱之端部水平力小於半圓拱 (C)純受壓拱之合理形狀可由其倒懸索決定,因此只考慮拱本身自重時,純受壓拱應為拋物線形 (D)雙鉸拱為一次靜不定結構,若為分析簡便,可將其中一鉸改為輥支承(roller),即成靜定拱結構
4 關於隔震結構之敘述,下列何者錯誤? (A)使用天然橡膠系隔震器之隔震結構,因僅配置隔震器恐消能不足,故要配置阻尼器 (B)採用基礎隔震結構,必須確保地震時,下部結構和上部結構之相對位移不宜過大 (C)採用中間層隔震結構時,考慮火災的發生,必須於隔震裝置施以防火被覆 (D)於設計地震力下,隔震設計之基本原則為隔震系統上部之結構體保持彈性,且必須檢核強柱弱梁
5 有關韌性構材與脆性構材之敘述,下列何者正確? (A)構材之破壞變形與降伏變形比值越大者,韌性越佳 (B)非金屬材料因為有應變硬化現象,故為脆性 (C)鋼筋混凝土構件屬於脆性構材,毫無韌性可言 (D)韌性構材進入塑性階段後再卸載,不會留下殘留變形
6 下圖圓木桿件於受下列何種外力作用下,可能產生圖中所示之縱向劈裂:
(A)繞 x 軸扭矩 (B)繞 y 軸彎矩 (C)繞 z 軸彎矩 (D)y 方向剪力
7 半球形之圓球薄殼(dome)若其底部並無拘束,其在自重作用下,於殼面靠近球頂與底面處之水平 緯線所受之張壓應力為何? (A)近球頂處與近底面處皆為壓應力 (B)近球頂處與近底面處皆為拉應力 (C)近球頂處為壓應力,近底面處為拉應力 (D)近球頂處為拉應力,近底面處為壓應力
8 我國古蹟木構造建築之樑柱卯榫接頭,如下圖所示,在承受外力 P 作用時,其產生之彎矩 M 與桿件 相對旋轉角 θ 之間的關係,較類似下列那一個選項?
9 下列何者不屬於單摺板所具有的三重承載機制? (A)纜吊作用 (B)桁架作用 (C)板作用 (D)梁作用
10 依「建築物耐風設計規範」規定,下列那一項不是影響風速(Vl0)計算之因素? (A)建築物之平面配置 (B)建築物之高度 (C)建築物附近地表特性 (D)建築物所在位置
11 下圖所示之鋼製桁架受外力作用,則斜桿 ab 所承受的內力為:
(A)壓力 25 t (B)壓力 9 t (C)拉力 25 t (D)拉力 9 t
12 具有延展性的結構鋼材,其應力到達某一臨界值時,變形曲線趨於平緩,卻隨之會出現較大的伸長 量,此臨界值為: (A)零強度(zero strength) (B)降伏強度(yielding strength) (C)極限強度(ultimate strength) (D)破裂強度(fracture strength)
13 下列三圖之鋼梁斷面、跨度、材料均相同,受圖中之垂直靜載重作用時,中央點 B 之變形量,由大 到小之排列順序為:
(A)a>b>c (B)b>a>c (C)a=b=c (D)c>a>b
14 下圖所示梁結構靜不定度為:
(A)1 (B)2 (C)4 (D)3
15 一般建築使用之結構鋼材,其「彈性模數 E」約為「剪力模數 G」的多少倍? (A)1.3 (B)2.6 (C)3.9 (D)5.2
16 圖示虛線為建築物受地震側力之力與位移之非線性曲線,而 OCE 則為規範理想化之彈塑性系統。我 國耐震設計的基本原則係考量三種地震水準,分別為中小度地震、設計地震與最大考量地震,約略 位於彈塑性系統之 A 點、D 點與 E 點,則建築物實際進行結構設計時,其最小設計水平總橫力大小 約位於圖示彈塑性系統內的那個區間?
(A)約在 A 點~B 點之間的範圍 (B)約在 C 點之彈塑性轉折點附近 (C)約在 D 點之塑性段中央點附近 (D)約在 E 點之塑性段終點附近
17 下圖的桁架結構,那一桿件有發生挫屈之可能性?
(A)OA (B)OB (C)OD (D)AB
18 有一長 3 m 的鋼構懸臂梁,在懸臂最外端(自由端)受到垂直集中載重作用,若載重、材料與斷面 皆保持不變,將懸臂跨距改成 6 m,此 6 m 懸臂梁最外端變位是 3 m 懸臂梁最外端變位的幾倍? (A)2 (B)4 (C)6 (D)8
19 如圖所示構架結構受一水平力作用,其中梁之剛度遠大於柱,使得構架呈現剪力屋架(shear building) 變形模式,若已知左柱負擔側力為 54 kN,則右柱負擔側力應大約為多少 kN? 註:E=彈性模數、I=面積慣性矩。
(A)27 (B)32 (C)36 (D)40
20 一邊長為 b 之正方形斷面實心桿件,受軸向壓力時,彈性挫屈(elastic buckling)載重為 P。若以相 同材料,製作一邊為 2b,另一邊為 b 之長方形斷面實心桿件,當長度不變時,則彈性挫屈載重為: (A)P (B)2P (C)P/2 (D)4P
21 下圖結構物於 P 力作用下,A 點反力為多少?
(A)P 向上 (B)P 向下 (C)
P 向右上方 45° (D)
P 向左下方 45°
22 下圖構架中,A 點為固定端,C 點為輥支承(roller),若 B 點無法傳遞軸力(見下圖)時,則 A 點 之彎矩為:
(A)0 (B)2.5 L (C)5 L (D)10 L
23 鋼骨構造採用偏心斜撐構架(EBF)系統時,有關連桿(link)之設計,下列敘述何者正確?①增加 連桿長度,有助於增加構架抗震之韌性 ②增加連桿中的腹板數,主要是用來提升鋼梁抵抗彎矩作 用 ③地震來襲時,EBF 系統之連桿可發揮吸收構架變形能量 ④改變連桿長度,可用以調整鋼骨 構架的週期 (A)①④ (B)①③ (C)②③ (D)③④
24 下圖各柱之斷面及長度 L 皆相同,當出現彈性挫屈時,其有效長度表示為 KiL,Ki 為有效長度因子, 其中 i=a, b, c, d。下列敘述何者正確?
(A)Ka>Kc>Kd (B)Kb>Ka>Kd (C)Kd>Ka>Kc (D)Kb>Kd>Kc
25 根據「建築物耐震設計規範及解說」,「二元系統」若以剪力牆、斜撐構架及特殊抗彎矩構架或混 凝土部分韌性抗彎矩構架抵禦地震力,其中有關抗彎矩構架應設計能單獨抵禦多少以上的設計地震 力? (A)15% (B)25% (C)35% (D)50%代號:80120頁次:8-6
26 支承 B 之垂直反力為多少 kN?
(A)2 (B)1 (C)4 (D)0.5
27 承上題,則最大內力矩為多少 kN-m? (A)4.0 (B)4.5 (C)5.0 (D)5.5
28 下圖桁架中,那些桿件可改以鋼索取代?
(A)a、c (B)b、d (C)a、b (D)b、c
29 如下圖所示之構架,其懸臂端承受集中載重 P。下列何者為正確之彎矩圖?
30 鋼筋混凝土懸臂梁在自由端承受外力 P,則張力鋼筋須配置在此梁斷面的何處?
31 下圖構架中,A 點為固定端,C 點為輥支承(roller),若 B 點構造無法傳遞彎矩,則 C 點之垂直反 力為:
(A)0 (B)2.5 (C)5 (D)10
32 若簡支梁承受均布載重,則最大內力矩應發生在何處? (A)左右端點 (B)梁中央 (C)距端點 L/4 (D)均勻內力矩分布
33 下列那一項不是鋼筋混凝土梁韌性設計應考量之項目?(A)拉力鋼筋比 ρ 不得大於(f'c+100) / 4 fy
,亦不得大於 0.025
(B)鋼筋之極限強度記為 f
u
、降伏強度 fy > 4,200 kgf/cm
2
且 fu /fy ≦ 1.25
(C)梁斷面深度表示為 h、梁斷面寬度 b 不得小於 25 cm 且寬深比 b/h 不得小於 0.3
(D)第一個閉合箍筋須配置在距梁柱接頭交接面之距離≦ 5 cm
34 有關混凝土性質的敘述,下列何者錯誤? (A)抗壓強度試驗中,加載速度愈快者,所得強度值愈小 (B)單位水泥量較少的混凝土,較不容易發生水化熱所導致之裂縫 (C)混凝土抗壓強度愈大者,中性化速度愈緩慢 (D)混凝土規定抗壓強度 f c' 為混凝土 28 日齡期之試驗極限強度
35 鋼筋混凝土方形柱斷面(柱主筋分布均勻),承受軸向壓力與雙向彎矩,可利用軸力、對 x 軸彎矩、 對 y 軸彎矩等三軸座標系統,將強度值繪成「破壞包絡面(failure envelope)」。下列敘述何者錯誤? (A)破壞包絡面對軸力軸呈對稱形狀 (B)當鋼筋比增加時,破壞包絡面向外擴張 (C)破壞包絡面之橫斷面略呈正方形 (D)破壞包絡面之橫斷面略呈四分之一圓形
36 鋼筋混凝土結構耐震設計要求的“強柱弱梁”概念係指下列何者? (A)柱的斷面積要比梁的斷面積大 (B)柱的長度要比梁的長度長 (C)柱的抗彎強度要比梁的抗彎強度大 (D)梁的抗彎強度要比柱的抗彎強度大
37 鋼筋混凝土結構設計中,以「極限強度設計法」設計撓曲構材時,混凝土壓力側最外緣之最大應變 假設為: (A)0.003 (B)0.03 (C)0.005 (D)0.05
38 下圖鋼結構梁柱桿件皆為 H 型鋼斷面,利用雙角鋼與螺栓鎖固接合,此種接合裝置在分析時不能傳 遞下列那一種力?
(A)梁拉力 (B)梁壓力 (C)梁剪力 (D)梁彎矩
39 鋼骨建築結構中,有時會考慮將箱型鋼柱內中空部分注入結構混凝土而形成 CFT 柱(concrete filled steel tubes),除經濟性的效益外,下列各項因素中,何者並非採用 CFT 柱的可能原因? (A)減少斷面尺寸 (B)增加承壓能力 (C)提高抗拉強度 (D)提高側向勁度
40 鋼構造之外牆以帷幕牆系統為主,其材質有金屬帷幕牆、玻璃帷幕牆、PC 帷幕牆等,惟不適宜採用 現場搗實澆鑄之鋼筋混凝土牆,下列何者最不可能為其原因? (A)會增加施工架費用 (B)鋼構造側向變形較大,鋼筋混凝土牆容易產生龜裂及面磚剝落 (C)增加抵禦側力之結構系統 (D)施工工期加長
申論題 (3)
一、比較建築結構中,採用鋼骨結構與鋼骨鋼筋混凝土結構的優缺點?(20 分)
【已刪除】二、求下圖桁架系統中,A 與 H 兩點之支承反力及 CD、CE 桿之內力。(10 分)
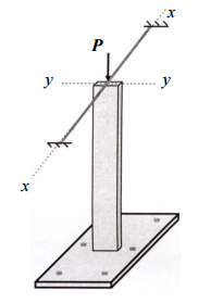
【已刪除】三、如下圖所示,某鋁製柱高 5 m,其下端固定,上端於 x 向有纜繩束制,因此在 x 向無法移動。若僅考慮挫屈的破壞模式並取安全係數 3.0,請計算此結構的容 許 柱 軸 力 P 。 相 關 材 料 性 質 、 斷 面 資 料 為 : E
al
= 70 GPa, A = 0.00075 m
2
, I
x
= 61.3 × 10
-6
m
4
, I
y
= 23.2 × 10
-6
m
4
。(10 分)
註:E
al
= 彈性模數、A = 斷面面積、I
x
, I
y
= 對應 x, y 軸之面積二次矩(慣性矩)。
相關試卷
114年 - 114 專技高考_建築師:建築結構#133658
114年 · #133658
114年 - 114 公務升官等考試_薦任_建築工程:建築結構系統#133157
114年 · #133157
113年 - 113 臺灣菸酒股份有限公司_評價職位人員轉任職員甄試試題_建築工程(北一區)_專業科目 1:建築結構系統、建築構造施工#137380
113年 · #137380
113年 - 113-2 國營臺灣鐵路股份有限公司_從業人員甄試試題_第9階-技術員-建築工程:建築結構系統概要#137152
113年 · #137152
113年 - 113-2 國營臺灣鐵路股份有限公司_從業人員甄試_第8階-助理工程師-建築工程:建築結構系統#137128
113年 · #137128
113年 - 113 國營臺灣鐵路股份有限公司_從業人員甄試_第 8 階-助理工程師-建築工程:建築結構系統#137101
113年 · #137101
113年 - 113 專技高考_建築師:建築結構#123947
113年 · #123947
112年 - 112 臺灣菸酒股份有限公司_評價職位人員轉任職員甄試試題_從業職員_建築(土木)工程_專業科目 1:建築結構系統、建築構造施工#137423
112年 · #137423
112年 - 112 地方政府特種考試_三等_建築工程:建築結構系統#118181
112年 · #118181
112年 - 112 專技高考_建築師:建築結構#117513
112年 · #117513