阿摩線上測驗
登入
首頁
>
技檢◆機電整合-乙級
> 105年 - 17000 機電整合 乙級 工作項目 07:試車與調整#41007
105年 - 17000 機電整合 乙級 工作項目 07:試車與調整#41007
科目:
技檢◆機電整合-乙級 |
年份:
105年 |
選擇題數:
60 |
申論題數:
0
試卷資訊
所屬科目:
技檢◆機電整合-乙級
選擇題 (60)
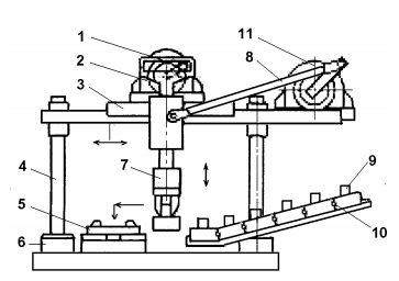
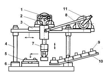
1. 自動化機械首次試車的步驟,下列何者較安全、合理?(A)半自動循環→全自動循環→步進操作(B)全自動循環 →步進操作→半自動循環(C)步進操作→半自動循環→全自動循環(D)全自動循環→半自動循環→步進操作。
2. 自動化機械之動作時序(流程)圖一般是依(A)機械動作程序(B)程式編寫難易(C)操作者喜好(D)維修難易 而訂。
3. 下列何者以夾爪挾持後,當外力可克服工件與治具之間摩擦力,工件仍有 2 自由度? (A)
(B)
(C)
(D)
。
4. 下列何者以夾爪挾持後,當外力可克服工件與治具之間摩擦力,工件仍有 3 個自由度? (A)
(B)
(C)
(D)
。
5. 下列何者以夾爪挾持後,當外力可克服工件與治具之間摩擦力,工件仍有 4 個自由度? (A)
(B)
(C)
(D)
。
6. 下列何者以夾爪挾持後,當外力可克服工件與治具之間摩擦力,工件仍有 5 個自由度? (A)
(B)
(C)
(D)
。
7. 如下圖為一附緩衝器之線性驅動單元。1 為氣壓缸活塞桿,2 為固定支配板,3 為螺紋檔塊,4 為緩衝器,5 為氣壓缸。若氣壓缸做前後運動時,無法到達正確的端點,應調整(A)1 或 2(B)2 和 3(C)3 或 4(D)4 和 5 的位置 較為迅速。
8. 如下圖為一附緩衝器之線性驅動單元。1 為氣壓缸活塞桿,2 為固定支配板,3 為螺紋檔塊,4 為緩衝器,5 為氣壓缸。若氣壓缸做前後運動時,到達端點的緩衝阻尼太小,可能的原因是(A)1 的直徑太大(B)3 的螺距太小 (C)5 的行程太短(D)5 的供給流量太大。
9. 如下圖為一平移夾爪取放裝置。1 為平移臂(parallelgram arm),2 為夾爪,3 為旋轉盤,4 為馬達。若要縮短取 放循環時間,應從何者著手最為迅速方便?(A)更換較大扭矩的 4(B)3 的直徑加大(C)增加 4 的轉速(D)縮短 2 的移 動行程。
10. 如圖為一平移夾爪取放裝置。1 為平移臂(parallelgram arm),2 為夾爪,3 為旋轉盤,4 為馬達。下列何者轉盤 與夾爪平移運動方向不合理? (A)
(B)
(C)
(D)
。
11. 下列每一個圖之左邊為主動件,右邊為從動件。何者為旋轉運動轉成左右直線運動? (A)
(B)
(C)
(D)
。
12. 下列每一個圖之左邊為主動件,右邊為從動件。何者為旋轉運動轉成搖擺運動? (A)
(B)
(C)
(D)
。
13. 下列每一個圖之左邊為主動件,右邊為從動件。何者為左右直線運動轉成旋轉運動? (A)
(B)
(C)
(D)
。
14. 下列每一個圖之左邊為主動件,右邊為從動件。何者為左右直線運動轉成上下直線運動? (A)
(B)
(C)
(D)
。
15. 如下圖為 2 個輸送帶與工件分配裝置。1 為進給輸送帶,2 為工件,3 為導向邊條,4 為搖臂,5 為 2 支氣壓 缸的連接套件,6 為氣壓缸,7 為感測器。欲達成工件可分配到等距的三個不同通道,則 6 的 2 支氣壓缸須具 備(A)相同的活塞直徑(B)相同的活塞桿長短(C)相同的活塞速度(D)約相同的行程。
16. 如下圖為 2 個輸送帶與工件分配裝置。1 為進給輸送帶,2 為工件,3 為導向邊條,4 為搖臂,5 為 2 支氣壓 缸的連接套件,6 為氣壓缸,7 為感測器。欲達成三種不同工件的判別,則 7 的感測器至少須具備(A)1(B)2(C)3 (D)4 點數位輸出接至控制器以供運算。
17. 如下圖為 2 個輸送帶與工件分配裝置。1 為進給輸送帶,2 為工件,3 為導向邊條,4 為搖臂,5 為 2 支氣壓 缸的連接套件,6 為氣壓缸,7 為感測器。欲達成 8 種不同顏色工件的判別,則 7 的感測器須有色階辨識能力。 下列何者有此功能?(A)電感式(B)電容式(C)光學式(D)超音波 感測器。
18. 如下圖為 2 個輸送帶與工件分配裝置。1 為進給輸送帶,2 為工件,3 為導向邊條,4 為搖臂,5 為 2 支氣壓 缸的連接套件,6 為氣壓缸,7 為感測器。欲順利達成工件可分配到等距的三個不同通道,則分類輸送帶 V1 與進給輸送帶 V2 之關係為(A)V1>V2(B)V1<V2(C)V1=V2(D)V1≧V2。
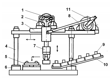
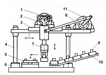
19. 如下圖為一取放裝置。控制滑塊 3 做左右直線運動的是(A)迴轉驅動器 11 與搖桿 8 所組成曲柄機構單元(B)迴轉 驅動器 11 與搖桿 8 所組成曲柄機構單元及支架 4(C)迴轉驅動器 11 與推桿 2 所組成曲柄機構單元(D)迴轉驅動 器 11 與推桿 2 所組成曲柄機構單元及支架 4。
20. 如下圖為一取放裝置。控制做上下直線運動的是(A)迴轉驅動器 11 與搖桿 8 所組成曲柄機構單元(B)迴轉驅動器 11 與搖桿 8 所組成曲柄機構單元及支架 4(C)迴轉驅動器 11 與推桿 2 所組成曲柄機構單元(D)迴轉驅動器 11 與 推桿 2 所組成曲柄機構單元及支架 4。
21. 如下圖為一取放裝置。若迴轉驅動器 11 與連桿 8 所組成曲柄機構單元推動滑塊 3 的移行距離設計不良,不會 導致(A)夾爪 7 無法正確將工件 9 從進給導槽 10 取出(B)夾爪 7 無法正確將工件 9 放入承托板 5(C)工件 9 無法在 進給導槽 10 進料(D)夾爪 7 會與工件 10 產生碰撞。
22. 如下圖為一取放裝置 。若迴轉驅動器 11 與推桿 2 所組成曲柄機構單元的移行距離設計不良,可能導致(A)夾 爪 7 在上方無法正確打開與閉合(B)工件承托板 5 下方的雙輸送帶 6 不能運轉(C)工件 9 無法在進給導槽 10 進料 (D)夾爪 7 會與工件 9 產生碰撞。
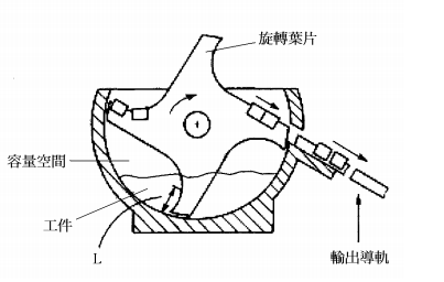
23. 如下圖為一輪葉送料器,L 為葉片可裝載的長度 。若每一工件長度是 L/2,且可跨入葉片,當輪葉由馬達帶 動每轉一圈,從出料導軌送出的工件數量是(A)≧8(B)≦8(C)8(D)>8。
24. 如下圖為一輪葉送料器。每一工件均可跨入葉片 2,當輪葉由馬達帶動,工件便會從出料導軌送出。本裝置 除了送料外還有(A)定位(B)分揀(C)整列(D)旋轉 的功能。
25. 如下圖為物料分類裝置。1 為電磁鐵,2 為氣壓噴嘴,3 為物料在進給導槽,4 為二個不同型式物料的輸出通 道,5 為運送轉盤。當電磁鐵通電後,不同的物料經過其(A)電流(B)磁場(C)電壓(D)電子 所產生不同的磁吸力, 再由氣壓噴嘴將輕質量的物料噴向內軌道。
26. 如下圖為物料分類裝置。1 為電磁鐵,2 為氣壓噴嘴,3 為物料在進給導槽,4 為二個不同型式物料的輸出通 道,5 為運送轉盤。當電磁鐵通電後,經氣壓噴嘴的作動與否,可將物料分類到不同的通道上。則物料受力 的強度與下列何者無關?(A)電磁線圈電流(B)電磁鐵的導磁性(C)物料的種類(D)氣壓噴嘴。
27. 夾爪挾持工件的長度最好是工件總長度的(A)1/8(B)1/4(C)1/2(D)3/4。
28. 如將三相感應電動機之任意兩電源線對調,則此馬達的(A)轉速增快(B)轉速減慢(C)轉向相反(D)轉向不變。
29. 在高速、高振動之處,為確實防止螺絲鬆動應該用何種方式處理?(A)加平墊圈(B)加彈簧墊圈(C)鎖兩個螺帽(D) 堡型螺帽加銷。
30. 自動化機器在規劃編輯程式時,應先編輯(A)急停(B)步進(C)順序動作(D)復歸 程式,以防撞機或爆炸的危險 。
31. 氣壓缸推動平台通常需用下列何種傳動來保持作動順暢,並避免承受側向力?(A)聯軸器(B)齒輪機構(C)連桿機 構(D)滑動導軌。
32. 一般而言,自動化機構(械)在組裝時,下列何者是首先要組裝的元件?(A)機構(B)感測器(C)氣油壓管路(D)電 氣線路。
33. 壓力表進氣口加裝何種裝置,用以抑制浪壓?(A)節流口(B)較大接管(C)直接連結(D)梭動閥。
34. 壓力表進氣口加裝何種裝置,用以抑制浪壓?(A)梭動閥(B)較大口徑接管(C)直接連結(D)小型儲氣桶。
35. 有關空氣壓縮機安裝時,下列何者有誤?(A)將機器靠牆壁安裝以節省使用空間(B)安裝機房要通風良好(C)需有 堅固的安裝基礎(D)避免陽光直射及靠近熱源。
36. 有關空氣乾燥器安裝,何者有誤?(A)入出口間不可裝置旁通線路,防止空氣沒有經過乾燥器(B)乾燥器之前加 裝後冷卻器及分離器,以防水份直接進入(C)系統操作壓力須大於或等於乾燥器的額定壓力(D)安裝點之環境溫 度 5~50℃之間。
37. 有關氣壓管路安裝,何者是對?(A)應與電氣管線安裝在一起,以防碰觸損壞(B)分歧管應從主管線下方引出, 以方便凝結水排出(C)為防止管路流動壓降過大,應避免加裝切斷閥(D)主管路在順著氣流方向應有 1~2%的向下 傾斜梯度,以利凝結水排出。
38. 有關氣壓管路安裝,何者有誤?(A)管線長度很長時,可採用環狀配管方式(B)管路與設備連接處應加裝空氣過 濾器,以防異物進入氣壓設備(C)為防止管路流動壓降過大,應避免加裝切斷閥(D)主管路與空壓機連接處應有 伸縮配管的裝置,以防止震動傳遞。
39. 電磁閥使用電源容許變動電壓範圍為(A)80~100%(B)85~105%(C)90~110%(D)95~115%。
複選題
40. 拆解一般小型減速機金屬齒輪組需要使用到敲擊工具時,應採用下列哪些工具比較適合,以免齒輪損壞?(A) 膠鎚(B)銅鎚(C)鐵鎚(D)香檳鎚。
複選題
41. 在已知工作電壓的情況下,若要量測或計算馬達消耗功率時可使用以下哪些量表?(A)電流錶(B)電壓錶(C)阻抗 計(D)功率計。
複選題
42. 在工廠中,伺服馬達驅動器發生過電流現象時,可能是因為以下哪些情況造成?(A)負載過重(B)環境太乾燥(C) 粉塵堆積引起(D)馬達轉速過慢。
複選題
43. 在生產線更換氣壓缸並安裝上/下定位感測器,試機時發現氣壓缸動作相反,但 PLC 程式顯示正常,是因下列 哪些原因造成的結果?(A)氣源壓力太高(B)氣壓管接反(C)定位感測器接反(D)電磁閥誤動作故障。
複選題
44. PLC 階梯圖程式的執行順序,下列哪些正確?(A)由下而上(B)由上而下(C)由右而左(D)由左而右。
複選題
45. 一伺服馬達以齒輪直接驅動高負載轉盤之齒輪盤旋轉定位,現在發現伺服馬達軸上負責驅動齒輪盤之小齒輪 崩裂,可能是下列哪些情況造成?(A)減速太快(B)加速太快(C)馬達震動(D)轉盤慣性。
複選題
46. 以下哪些是對照式光電開關能夠應用的功能?(A)工件檢測(B)近距離資料傳輸(C)震動檢測(D)距離檢測。
複選題
47. 有一對照式光電開關用來檢測金屬罐是否在正確的軌道位置上,現在該對照式光電開關損壞而感測器與金屬 罐的距離只有 1 公分,則維修人員可使用以下哪幾種感測器暫時代用?(A)鏡片反射式光電開關(B)近接開關(C) 磁簧開關(D)擴散反射式光電開關。
複選題
48. 以伺服馬達驅動導螺桿帶動滑塊,至少要設定哪幾個位置?(A)前極限(B)螺桿中間位置(C)後極限(D)原點(Home) 位置。
複選題
49. 有一以氣壓缸推動之垂直升降搬運機構,可採用哪些方式或電磁閥來達成於氣壓缸中間區域停止不掉落?(A)5 /2電磁閥+引導式逆止閥(B)5/3中位閉氣型電磁閥(C)5/3中位排氣型電磁閥+引導式逆止閥(D)5/3中位加壓型電磁 閥。
複選題
50. 光電開關與變頻器安裝在一起時若發生干擾現象該如何解決?(A)更改光電開關位置(B)調整變頻器的輸出頻率 (C)調整光電開關強度(D)調整變頻器的基頻。
複選題
51. 以下哪些功能是減速機所能達到的?(A)降低馬達轉子轉速(B)降低所需輸出轉速(C)不需加大馬達瓦數來增加扭 力(D)改變馬達動力輸出方向。
複選題
52. 當設備上的氣壓調理組的集水杯中發現水氣時,下列判斷哪些錯誤?(A)空氣壓縮機異常(B)儲氣桶異常(C)空氣 乾燥機異常(D)氣壓調理組異常。
複選題
53. 在安裝設備時,從機構端將纜線或電線整理至配電箱的原則是(由配電箱位置來看)?(A)由近至遠(B)由遠至近 (C)由粗到細(D)由細到粗。
複選題
54. 三倍速輸送鏈條與皮帶式輸送帶比較,具有下列哪些優點?(A)提高搬運速度(B)減低摩擦力(C)具排列堆疊功能 (D)具強制搬運功能。
複選題
55. 機構拆解維修時,拆解/組裝零件於工作桌上的擺放/取用方式為何?(A)拆解擺放-由內向外(B)組裝取用-由內向 外(C)拆解擺放-由外向內(D)組裝取用-由外向內。
複選題
56. 在進行首次試機送氣前,必須先檢查下列哪些項目?(A)電磁閥配管(B)氣壓管粗細(C)氣壓缸配管(D)供氣壓力。
複選題
57. 在已完成供電與供氣檢查,準備執行程式測試前,必須先檢查下列哪些項目?(A)機構位置(B)感測器位置(C)電 磁閥位置(D)控制盤位置。
複選題
58. 當生產線配管末段壓縮空氣之流量與壓力不足時,該如何改善?(A)提高空氣壓縮機輸出馬力(B)生產線配管末 段多接幾個氣壓輸出接頭(C)加大送氣管徑(D)生產線配管末段安裝小型儲氣桶。
複選題
59. 當控制盤配線完成與機構盤連結前,需進行哪些測試?(A)短/斷路(B)電壓(C)電流(D)I/O 接點 測試。
複選題
60. 當全新設備已完成供電/供氣後,尚需要進行哪些測試?(A)I/O 接點(B)電壓(C)負載(D)急停功能 測試。
申論題 (0)
相關試卷
114年 - 17000 機電整合 乙級 工作項目 08:維修 1-68(2025/12/26 更新)#135806
114年 · #135806
114年 - 17000 機電整合 乙級 工作項目 07:試車與調整 1-65(2025/12/26 更新)#135805
114年 · #135805
114年 - 17000 機電整合 乙級 工作項目 06:控制器的使用 51-118(2025/12/26 更新)#135804
114年 · #135804
114年 - 17000 機電整合 乙級 工作項目 06:控制器的使用 1-50(2025/12/26 更新)#135803
114年 · #135803
114年 - 17000 機電整合 乙級 工作項目 05:電動機選用 101-141(2025/12/26 更新)#135802
114年 · #135802
114年 - 17000 機電整合 乙級 工作項目 05:電動機選用 51-100(2025/12/26 更新)#135801
114年 · #135801
114年 - 17000 機電整合 乙級 工作項目 05:電動機選用 1-50(2025/12/26 更新)#135800
114年 · #135800
114年 - 17000 機電整合 乙級 工作項目 04:電控、感測、轉換元件認識 51-98(2025/12/26 更新)#135799
114年 · #135799
114年 - 17000 機電整合 乙級 工作項目 04:電控、感測、轉換元件認識 1-50(2025/12/26 更新)#135798
114年 · #135798
114年 - 17000 機電整合 乙級 工作項目 03:氣壓、油壓系統、迴路設計 151-177(2025/12/26 更新)#135797
114年 · #135797