所屬科目:捷運◆機件(械)原理
1. 機構 分 析時 , 會將 機件 視 為連 桿 ,而 各連 桿 之連 接 則以 規定 的 符號 表 示, 下 列何 種 符號 表 示 三 個機 件 連接 在一 起 , 而 且 皆可 繞同 一 個樞紐分別旋 轉?(A)(B)(C)(D)
2. 機件 結 合成 如圖所 示之連桿組 , 若 N代表機件數,P代 表對 偶數 , 則下列 何者 正確?(A)N=8,P=7 (B)N=8,P=6 (C)N=6,P=7 (D)N=6,P=6
9. 阿基米德曾表示適當的槓桿可以 撐起 地球 ; 如圖 所示是利用第幾種 槓桿, 要 將重 物撐起 ?(A)第四種槓桿 (B)第三種槓桿 (C)第二種槓桿 (D)第一種槓桿
10. 一對 皮 帶輪 傳 動如 圖所 示 , A為 主動 輪 ,直 徑 為 300mm, 轉速 為3000rpm 逆時 針 轉動 , B為從 動輪 , 直徑 為 900mm,則 B之 轉 速及 轉 動方 向 為?(A)1000rpm、逆時針(B)1000rpm、順時針(C)9000rpm、逆時針(D)9000rpm、順時針
15. 二個 彈 簧組 成 一個 量測 系 統, 如 圖所 示, 若 彈簧 常 數分 別為 K1= 2N/mm,K2=4N/mm,則 此 系 統之 總 彈 簧常 數 為 ?(A)4/3N/mm (B)3/4N/mm (C)6N/mm (D)8N/mm
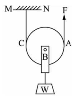
16. 如圖 所 示之 動 滑車 系統 , 若 W代 表要 吊升 之 物體 重 量, F為垂 直 向上 的 施力 , 在不 計 摩擦 力影 響 的情 況 下, 此動 滑 車之 機 械利 益為 ?(A)1 (B)2 (C)4 (D)8
17. 有一 周 轉輪 系 如圖 所示 , 以 A齒 輪的 軸 心為 共 轉中 心 , C為 旋臂 , D齒 輪 分別 與 A齒輪及 B齒 輪嚙 合 ,各 齒 輪之 齒數 分 別為 A齒輪 90齒、 D齒輪 20齒、 B齒 輪30齒 ,若 NA(A齒 輪之 轉 速 )為 逆 時針 3rpm, NC(C旋臂 之 轉速) 為 順時 針5rpm,則 B齒 輪之 轉 速為 ?(A)逆時針25rpm (B)逆時針22rpm (C)逆時針19rpm (D)逆時針16rpm
21. 車床 上 使用 以 減速 之回 歸 輪系 如 圖所 示, A、 B、C、 D四 個齒 輪 均使 用 相 同的 模 數, 若 A齒 輪 的齒 數TA = 40、 B齒 輪的 齒 數TB = 72、 D齒 輪 的齒 數TD = 28, 則C齒輪 的齒 數TC 應該 為 ?(A)18 (B)24 (C)36 (D)60
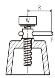
22. 如圖 所 示為 節 距12 mm的 雙線 螺 旋起 重 機, 具 有 25 cm長 的 操作 手 柄。 若 機械 效 率為 60%, 當荷 重 為785牛 頓 時 ,抬 升負荷 所需施力最少 應該 為何?(A)10牛頓 (B)20牛頓 (C)30牛頓 (D)40牛頓
24. 如圖 所 示之 滑 車組 ,若 不 考慮 各 處的 摩擦 影 響, 施 力 F須 多少 牛 頓, 才 可 以吊 起1000牛 頓的 重物W?(A)250牛頓 (B)500牛頓 (C)475牛頓 (D)750牛頓
25. 由A、 B、C三 輪 所 組成 的 周轉 輪 系如 圖所 示 ,若 A、C齒 輪為 同 軸心 且 環 形內 齒 輪C固 定 不動 ,m為 旋 臂 ,各 齒 輪 之齒 數 分別 為 A輪 20齒、 B輪40齒、C輪100齒, 若 A輪轉速12 rpm順 時 針, 則 B齒輪之轉速為 ?(A)13 rpm順時針(B)13 rpm逆時針(C)3 rpm順時針(D)3 rpm逆時針
26. 如圖 所 示之 滑 輪組 ,若 施 力 P為 1960 N,重 物 於20秒 內被 吊起 15 m,不計 各處 之 摩擦 損 失, 則須 輸 入的 功 率為 多少馬 力 (PS)?(A)2 PS(B)4 PS(C)8 PS(D)16 PS
30. 如圖所示一 單線螺紋, 其螺紋的各部分名稱何者標註錯誤? (A)螺紋角 (B)螺旋角 (C)節圓直徑 (D)螺距
41. 如圖 所 示之 輪 系, 齒輪 A、 B、C及 D之 齒數 分 別為 20齒、 50齒 、10齒 及40 齒, 若 主動 輪 A轉 速 200 rpm順 時針 方 向 迴轉 , 則此 輪 系之 輪系 值 e為多少及D輪 之轉 速ND為 多少 rpm?(A)e = – 0.1;ND= 20逆時針(B)e = + 0.1;ND = 20順時針(C)e = – 10;ND = 2000逆時針(D)e = + 10;ND = 2000順時針