所屬科目:工程力學(含靜力學、動力學與材料力學)
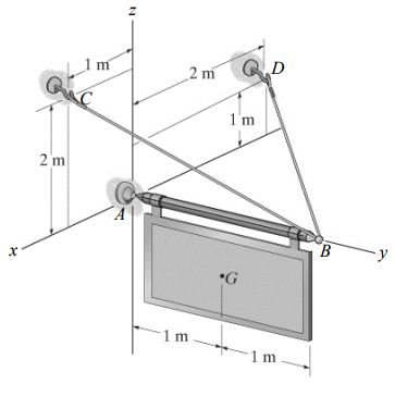
一、如圖所示之招牌質量為100 kg,重心位於 G 點,由位於 A 點處之球窩接頭(ball-and-socket joint)及兩根連接於 B 處之纜繩支撐,試求 A 處之反力及纜繩 BC、BD 之張力。(20分)
二、如圖所示之桿件(質量可忽略)兩端分別安裝質量4 kg 與2 kg 之質量塊 (可視為質點),在θ= 60o時從靜止釋放,並在垂直平面上繞 O 點轉動(無 摩擦),試求2 kg質量塊撞擊彈簧前一瞬間之速度及撞擊後彈簧之最大壓 縮變形量(假設此撞擊變形極小,桿件仍可視為維持水平)。(20分)
三、如圖所示之均質圓盤(質量 m)在邊緣 O 點處由一軸承(無摩擦)懸掛, 當此圓盤由圖示水平位置從靜止釋放,試求圓盤釋放瞬間之角加速度與軸承之反力。(20分)
四、如圖所示之組合桿件由鋼(Steel)製與黃銅(Brass)製實心圓柱所串接 組成,在不受力下剛好可塞入固定長度之剛性間隙 AE 內並於兩端焊接 固定。鋼及黃銅材料之楊氏係數分別為 Es = 200 GPa、Eb = 105 GPa,試 求在 B、D 處施加圖中所示負載後,A、E 處分別之反力及 C 點處之變形 位移量。(20分)
五、如圖所示之簡支樑承受集中負載,試求在 n-n 截面上之最大橫向剪應力。(20分)