所屬科目:工程力學(含靜力學、動力學與材料力學)
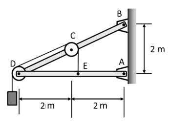
一、圖示為用來支撐質量為 100 kg 物體之構架,其中 BCD 桿之 C 處安裝了 半徑為 0.2 m 之滾輪。BCD 桿與 AED 桿在 D 處以銷與半徑為 0.2 m 之 滾輪結合。A 與 B 處也皆為銷,試求 A 與 B 處之反作用力為若干 N? (重力加速度 g 以 9.8 m/s2 計算) 。(25 分)
二、均勻細長桿件(長度為 10 m,質量為 6 kg)在 B 點有銷支撐,在 A 點 連接一條繩索如圖所示。請計算當此繩索斷掉瞬間,此桿件之角加速度 及銷支撐點 B 之反作用力為若干 N?假設此細長桿件為剛體,系統靜力 平衡時,桿件位於水平位置(重力加速度 g 以 9.8 m/s2 計算) 。(答案計 算至小數點第 2 位以下四捨五入)(25 分)
三、如圖所示之簡支樑 AC,樑之 BC 段承受均勻分布負載(50 N/m)作用, B 點承受一集中負載 80 N。若不計樑本身的重量,請分別畫出簡支樑之剪力圖與彎矩圖,請在彎矩圖中明確標示簡支樑最大彎矩值及其發生最大彎矩值之位置。(25 分)
四、請計算如圖所示之灰色面積對 x 軸之慣性矩。(25 分)