所屬科目:流體力學
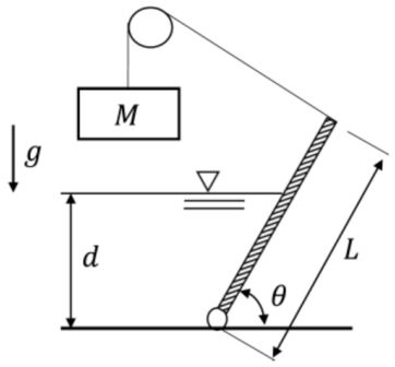
一、考慮如圖所示之具寬度 b 之矩形閘門,其經繩索與滑輪與具質量 M 之質量塊相連。另外,閘門同時與具密度ρ之液體接觸,且g為重力加速度。 請找出維持閘門於圖示之靜平衡狀態之液體高度 d,其中閘門重量不予考慮。(20 分)
二、考慮如圖示之水槽以無阻抗方式於水平軌道運動。水槽內水初始質量為 M0、且水槽經外界由具常數截面積 A、等速度 V、等密度 ρ 之噴射水流 撞擊從靜止開始運動。若進入之噴射水流經葉片導引留在槽內,請找出水槽速度U與水槽內水質量M與時間之關係。(20 分)
三、考慮如圖所示於斜板上具密度ρ 之不可壓縮等溫牛頓流體之流動。此流動被假設為二維且遠離其啟動位置,故可被近似為穩態且完全發展層流 (fully-developed laminar flow)。令流體厚度 h 為常數,請找出流體於 x 與 y 方向之速度分量,其中g為重力加速度。(20 分)
四、考慮如圖所示於傾斜閘門下方水流運動、流體為理想流體(不可壓縮且無摩擦力),其密度為ρ 。請以圖示變數找出水流流量,其中垂直紙面閘 門寬度為 b。 (20 分)
五、考慮某不可壓縮黏性流體於水平直管內之穩態流動、其壓力差 △ p 與管長、管徑 d、管壁表面粗糙度 e、平均流速 V、流體密度ρ 與流體動力黏性 μ 有關。請找出可用於實驗之無量綱(無因次)參數。(20 分)