所屬科目:流體力學
一、有一三角形門,該三角形門鉸接在底邊,尺寸如下圖所示。若不計三角形門的本身的重量,請計算三角形門壓力中心的作用力 F,並計算三角形上角的反作用力 RT。水的比重量為 γ 。(20 分)
(一)模型船的拖曳速度(6 分) 、
(二)實船與模型船的拖曳力比值(7 分)及
(三)實船與模型船的功率比值。(7 分)
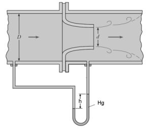
三、如下圖所示,水在圓形水管內流動,圓形水管內安裝一座流量噴嘴,噴嘴下方及噴嘴前端水管連接一座壓力計。若壓力計內的流體為水銀,壓力計兩端水銀高差為 h,水管的直徑為 D,噴嘴的直徑為 d,噴嘴流量係 數為 Cd,水及水銀的比重量分別為γ及 γHg ,試依前述條件,計算水管的流量。(20 分)
四、如下圖所示,彎管內的水流流量為 5 m3/s,彎管的體積為 10 m3,入口端的壓力為 650 kPa。若彎管的能量損失為 10 m,且能量修正係數α = 1.0, 水的比重量為 9810 N/m3。固定彎管所需的力為何?(20 分)
五、水經漏斗底部管子流出,管子的流速及直徑分別為 3e^(-0.05t)m/s 及 10 mm 。當時間 t = 0 時,水位 y = 200 mm 。試問當水面降至 y = 100 mm 時之流速為何?(20 分)