阿摩線上測驗 登入

申論題資訊

試卷:114年 - 114 專技高考_水利工程技師:流體力學#133675
科目:流體力學
年份:114年
排序:0

申論題內容

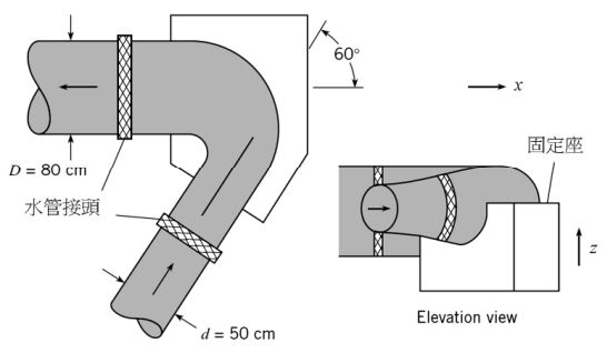
四、如下圖所示,彎管內的水流流量為 5 m3/s,彎管的體積為 10 m3,入口端的壓力為 650 kPa。若彎管的能量損失為 10 m,且能量修正係數α = 1.0, 水的比重量為 9810 N/m3。固定彎管所需的力為何?(20 分)