所屬科目:台電◆數位邏輯(設計)
1.求0.10112換算成十進制______。
2.求4510換算成二進制______。
3.求11010112換算成十進制________。
4.如圖1所示,當A=1,B=0時,求Q=_________。
5.卡諾圖如圖2,求POS表示式________。(請以標準項布林代數表示)
6. SR 電栓(Latch)如圖3,當t=t1時,求Q=________。
7. SR 正反器如圖4,當t=t1時,求Q=________。
8. JK正反器如圖5,當t=t₁時,求Q=_______。
9.具有預置(PRE)和清除(CLR)輸入腳的JK正反器如圖6,當t=t₁時,求Q=_________。
10. BCD同步式上數計數器(up counter),初值1000(最右邊為LSB),經過9個時脈後,輸出值為______。
11.在一個二進位(有正負號)系統之加減法運算中,(01011000)₂ - (11000000)₂=(A)H,其中A為計算結果,而下標H表示十六進位,則A=_______。
12.圖7中,A、B、C為某類邏輯閘X之輸入,F為該邏輯閘的輸出,試問X為__閘。(以下列OR、AND、NAND、NOR、XOR、XNOR 中的一種來填入)
13.布林函數F=(A + B) · (A + B • C) + ,經化簡後之最簡式F=__________。
14.圖8為某工廠之多工器,其所用脈衝頻率均為2MHz,若X信號與Y信號在某期間分別為:X= 10011100,Y=01100101,M=00011100,那麼輸出信號S在此期間之位元串應為__。
15.某32位元的移位暫存器分別使用時脈10MHz與5MHz,並分別將此暫存器內32位元的串列轉為並列,則完成轉換所花的時間,使用頻率10MHz是使用頻率5MHz的__倍。
16.有A、B兩個分別使用最少同型正反器與邏輯閘來做除n的漣波計時器(ripple counter),其中A是除7的漣波計時器,而B是除5的漣波計時器。若每個正反器與”及閘(AND)”邏輯閘的延遲時間均為40奈秒(ns),則A漣波計時器可使用的最高頻率是B漣波計時器可使用的最高頻率的______倍。
17. 某電廠控制器使用一個具有 16 支位址輸入腳及 32 支資料輸出腳之可程式唯讀記憶體 (PROM) 來取代原有具 8 支位址輸入腳及 16 支資料輸出腳,則新的可程式唯讀記憶體可儲存的位元數 (bits) 是舊的________倍。
18. A、B 兩個編碼器,A 是將按鍵 0 至 9 轉成對應的二進位碼,B 則是將按鍵 0 至 7 轉成對應的 二進位碼;X、Y 分別是 A、B 編碼器需用到的最少輸出線,則 X+Y =________。
19. 現行電腦 IP 網路位址係用 32 個位元來定址,並依序以 8 個位元為一組來闡明(如 00001010 00000111 00000010 00000001 以 10.7.2.1 表示),再以另一 32 位元當子遮罩(submask) 來做”AND”運算得其網段。若某單位的電腦主機 IP 位址為 10.18.100.200,子遮罩為255.255.0.0,則該網段位址應為:_________。(請以 X.X.X.X 型式來表示)
20. 某一電廠某 4 個組件形成的控制邏輯如圖 9 所示,當 A、B、C、D 均為正常時 (邏輯為 0), 則系統為可用 (X=1);當 A 和 B 同時故障 (A=B=1) 或 C 和 D 同時故障 (C=D=1),則系統會跳脫 (X=0),請問方塊內之邏輯閘為_______閘。(以 AND、OR、NAND、NOR、XOR、 XNOR 中的一種填入)
1. 某電廠某 4 個組件形成的控制邏輯電路如圖 10 所示,F=(A + B) • (C + D),今控制系統更新案,該廠手上僅有"NOR”閘的 IC 卡片 (具有足夠所需的 NOR 閘),請你以此 IC 來完成原功能的控制邏輯 (新舊均為正邏輯,且輸入/輸出均不變);請繪出類似原控制邏輯電路之電路圖。
(A)正確的漢明碼應為?(5 分)
(B) 原始正確資料 (S0S1S2S3) 為何?(5分)註:漢明碼的偵錯與改正的演算法則 (algorithms):(以 8 個位元為例)a、P1P2m3P4m5m6m7P8m9m10m11m12 檢查碼 (C8C4C2C1)2b、檢查碼 C₁=P1⊕m3⊕m5⊕m7⊕m9⊕m11 其中⊕為”XOR”邏輯運算C2=P2⊕m3⊕m6⊕m7⊕m10⊕m11C4=P4⊕m5⊕m6⊕m7⊕m12C8=P8⊕m9⊕m10⊕m11⊕m12c、檢查碼 (C8C4C2C1)2 不為 0 時,表示在第 (C8C4C2C1)2 個位元有錯
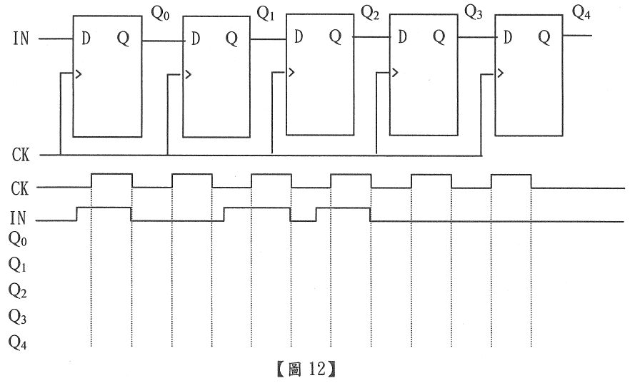
4. 就圖 12 各 D 型正反器, 請繪出 Q0, Q1, Q2, Q3, Q4 輸出波形圖(請於答案卷依題目加繪 CK 及虛線)