所屬科目:台電◆數位邏輯(設計)
1. 下列哪一種ROM是可以用紫外線將內部資料清除?(A) PROM (B) EPROM (C) EEPROM (D) FLASH
2. 下列哪一種元件不是可程式規劃的邏輯元件?(A) PAL (B) PLA (C) GAL (D) DRAM
3. 在數位電路或邏輯閘內有“”符號(如: AF )者,具有什麼功能?(A)鎖相 (B)記憶 (C)振盪器 (D)樞密特激發
4. 在布林代數之化簡過程中,最常用的工具為:(A)卡諾圖 (B)邏輯圖 (C)電路圖 (D)方塊圖
5. 一般邏輯系統中,高電位代表“1”,低電位代表“0”,我們稱之「正邏輯」;反之,則稱 「負邏輯」,那麼正邏輯的「或(OR)」閘是負邏輯的: (A) NOR閘 (B) XOR閘 (C) NAND 閘 (D) AND 閘
6. 有關數位系統,二進制(01011000)2之BCD碼為?(A) (01011001)BCD (B) (10100110)BCD (C) (10001000)BCD (D) (10011000)BCD
7. 下列有關布林代數的運算,何者錯誤?(A) A + Ā• B = A + B (B) A•(Ā+B)= A + B (C) A•B+ A•= A (D) A•Ā= 0
8. 下列何者為布林函數F = (A+B)•(A+B+C)+之最簡式?(A) (B) A+B (C) 1 (D) A•B
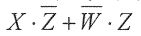
9. 如【圖1】所示,則輸出F之布林函數為: (A) (B) A+B (C) (D)
10. 一般 TTL 74/54系列IC,當輸入的接腳為空腳或浮接時,視為:(A)“1″(高電位) (B) “0″(低電位) (C)高阻態 (D) Don't Care
11.有一個8位元左移暫存器內含數為10101010,每次移位會將“0”填入空位中,當經過n次 移位脈波過後,此暫存器內含數為01010000,則n=? (A) 2 (B) 3 (C) 4 (D) 1
12. 有一種三態閘,如【圖2】所示,當E(Enable)信號為“0″ 時,其輸出Y為高阻抗狀態,試問當E=1,X=1時,其輸出為:
(A)高阻抗狀態 (B) 1 (C) 0 (D) Don't Care
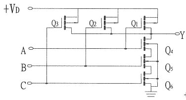
13. 有一電路如【圖3】所示,當A、B、C、D四個輸入都為“1”狀態時,其輸出狀態為何?
(A) X = 1,Y= 0 (B) X = 0,Y= 1 (C) X = 0,Y= 0 (D) X = 1,Y= 1(E)一律給分
14. 如【圖4】所示,此觸發信號為:(A)正緣觸發 (B)負緣觸發 (C)正電位觸發 (D)負電位觸發
15. 相同數個正反器串接所形成的電路,如【圖5】所示,試問此電路為:(A)同步計數器 (B)全加法器 (C)非同步計數器 (D)除法器
16.當A輸入由“0″ 變為“1”之瞬間,試問Y之輸出為: (A) 1 (B) 0 (C) Don't Care (D)0與1交互動作
17. 承上題之電路,若輸入B=“1”,當A輸入由“0”變為“1”且經過5秒後,試問Y之輸出為: (A) 1 (B) 0 (C) Don't Care (D)0與1交互動作
18.承【題16】之電路,B=“0″,當A輸入由“0”變為“1”且經過1秒後,試問Y之輸出為: (A) 1 (B) 0 (C) Don't Care (D)0與1交互動作
19. 避免資訊傳遞時,在通路(channel)上受雜訊干擾,通常會利用何種技術來避免錯誤?(A)多工/解多工器 (B)保密協定(C)編碼/解碼技術(D)相移技術
20. 若一個移位暫存器想要把一個16位元(bit)的串列式變成並列式,其每次完成所需的時間為 1.6μs,則其時脈頻率為多少MHz? (A) 1 (B) 2 (C) 10 (D) 5
21.布林代數F=A+,則F = ?(A) 0 (B) (C) (D) 1
22. 試問二進制數值(10111111.11)2等於十進制之數值為?(A) 195.55(B) 198.75(C) 189.75(D) 191.75
23. 一般DIP包裝14pin的TTL74系列IC,其第7腳(pin7)是接:(A) GND(B) CLR(C) Vcc(D) NC(空腳)
24. 有一裝置其輸入 F = f(X,Y) = (X + Y). (X +),試問布林代數之最簡式為?(A) X (B) Y (C) X•Y (D)
25. 利用狄摩根定理(DeMorgan Theorem),可以將轉換成:(A) (B) (C) (D)
26.一個組合電路之輸出 F = f(W,X,Y,Z) = ∑ {1,3,4,6,9,11,12,14},試問其布林代數之最簡式為: (A) (B) (C) (D)(E)一律給分
27. 一般 TTL 數位IC的VIH=2V,VIL = 0.8V,VOH = 2.4 V,VOL = 0.4 V,試問其高位準雜訊容限度 (High Level Noise Margin)為多少? (A) 2 V (B) 0.8 V (C) 2.4 V (D) 0.4 V
28. 有一個 BCD/7-Segment 顯示器如【圖7】所示, 若輸入為 0101 時,試問哪幾段 LED 會點亮?(A) abcde (B) acdfg (C) adefg (D) acdeg
29. 有一電腦用 ASCII Code(7 Bits) 來表達文字 (character) 並將最高位元 (MSB) 做為同位元 (parity bit), 共八位元來儲存, 如果 “B” 在該電腦中是 (42)H, 則 “E” 在該電腦中為: (A) (45)H (B) (4E)H (C) (C5)H (D) (85)H
30. 下列敘述何者錯誤?(A) (0.11001)2 之 2 的補數為 0.00111(B) (0.10110)2 之 1 的補數為 1.01001 (C) 十進制 (27)10 之 10 的補數為 (73)10 (D) (01011011)2 之 2 的補數為 (245)8(E)一律給分
31. 【圖8】為 CMOS 之邏輯電路, A、B、C 為輸 入, Y 為輸出, 試問 Y 屬於何種運算邏輯?(A) 反或閘 (B) 反及閘 (C) 或閘 (D) 及閘
32. 試問當 A、B、C、D 輸入分別為 “0”、“0”、“1”、“1” 時, 繼電器的接點狀態為: (A) 閉合 (close) (B) 打開 (open) (C) ON/OFF 交互動作 (D) Don't Care
33. 承上題, 若 A、B、C、D 輸入都為 “1” 時, 繼電器的接點狀態為:(A) 閉合 (close)(B) 打開 (open)(C) ON/OFF 交互動作(D) Don't Care
34. 在數位系統中, 有時需要將許多通道訊號合成一條訊號, 以利傳送輸出, 這種裝置稱為:(A) 編碼器(B) 加法器(C) 算數單元(D) 多工器
35. 一個三位元偶同位產生器, 當輸入資料都是 “1” 時, 其同位輸出為:(A) 1(B) 0(C) 高阻態(D) Don't Care
36. 一般 CMOS IC 空腳之處理方式為:(A) 固定接 “1”(B) 固定接 “0”(C) Don't Care(D) 視邏輯特性接 “0” 或 “1”
37. 下列敘述何者錯誤?(A) J=1, K=1, 時序脈波輸入後, 輸出端 Qn+1 = (B) J=0, K=0, 時序脈波輸入後, 輸出端 Qn+1 = Qn (C) J=1, K=0, 時序脈波輸入後, 輸出端 Qn+1 為 “1” (D) 當時序脈波一直維持在 “1” 的狀態, 也會產生競賽狀況(race condition)
38. 承上題, 若 J、K 兩輸入端連接在一起, 則此正反器成為:(A) RS 正反器(B) D 型正反器(C) 反相器(D) T 型正反器
39. 承【題37】, 當在 t 週期時輸出端 Q 為 “1”, 在下四個週期之 JK 訊號分別為11→01→10→00, 則輸出端 Q 在此四個週期期間之變化為:(A) 1→0→1→0(B) 0→0→1→1(C) 1→1→0→0(D) 1→0→1→1
40. 則至少要用幾個正反器?(A) 7(B) 8(C) 6(D) 5
41. 承【題40】, 若每個正反器的延遲時間為 12.5 ns (1 ns = 10-9秒), 則輸入計時脈衝的最高 頻率不可超過多少 MHz? (A) 50 (B) 20 (C) 10 (D) 80
42. 如【圖 11】所示, 則系統 S 之可靠度為: (A) S = (A + B) · (C + D) (B) S = (C) S = (D) S = A · B + C · D
43. 承上題, 若組件 D 故障(可靠度為 0)的情況下, 下列敘述何者正確?(A) 若組件 A 手動使其失效來維護(即故障), 不會影響系統 S 的可靠度(B) 若組件 B 手動使其失效來維護(即故障), 不會影響系統 S 的可靠度(C) 若組件 C 手動使其失效來維護(即故障), 不會影響系統 S 的可靠度(D) 系統 S 可靠度僅與 C 是否故障有關(即與組件 A、B 無關)
44. 假設控制一台泵起動的信號 F (=1)有 A、B、C 三個輸入, 其控制邏輯為三選二(2 out of 3), 即任二個信號為“1”時, 泵就會起動, 則下列何者為其正確的邏輯? (A)(B) (C)(D)
45.試問當 B3B2B1B0 = 1101 時, G3G2G1G0 = ?(A) 1010(B) 1011(C) 0110(D) 1110
46. 承上題, 當格雷碼輸出 G3G2G1G0 = 1100 時, 則輸入 B3B2B1B0 = ?(A) 1000(B) 0111(C) 0101(D) 1011
47. 【圖 13】為一全加器(X 為和之輸出, Y 為進位輸出), 若 XOR 閘之傳遞延遲時間為 40 ns, 其它邏輯閘之傳遞延遲時 間為 10 ns, 試求輸出端 X 與 Y 之傳遞延遲時間分別為:
(A) 50 ns ; 60 ns(B) 80 ns ; 50 ns(C) 80 ns ; 60 ns(D) 50 ns ; 50 ns
48.布林代數函數 F = ?(A) (B) (C) (D)
49. 承上題, 其邏輯輸出之結果與下列哪個邏輯之運算結果相同?(A) XOR(B) XNOR(C) NAND(D) NOR
50. 若邏輯閘 XNOR(互斥反或閘)兩輸入端分別同時送入二列 4 位元信號(假設每位元脈衝波形時間間隔一致)1100 與 1010, 試問該閘輸出結果為: (A) 1001 (B) 1100 (C) 1010 (D) 0110