阿摩線上測驗
登入
首頁
>
國營事業◆1.熱力學與熱機學 2.流體力學與流體機械
>
101年 - 101 經濟部所屬事業機構_新進職員甄試_機械:1.熱力學與熱機學 2.流體力學與流體機械#34286
> 申論題
題組內容
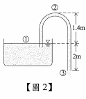
七、有一直徑為75 mm之虹吸管如【圖2】所示,彎管段高於水平面1.4 m,且在低於水平面 2 m處排至大氣,若摩擦損失忽略不計,試求:
(二)管内流量(m
3
/s)。( 5分)
相關申論題
(一)不可逆性(Irreversibility)。( 5 分)
#87073
(二)相對濕度(Relative Humidity)。( 5 分)
#87074
(一)最初之容積(m3)。(2分)
#87075
(二)最後之容積(m3)。(2分)
#87076
(三)最後之溫度(K)。(3分)
#87077
(四)功(kJ)。(3 分)
#87078
(一)推導在定壓過程中,TdS方程式可以TdS = dh表示。(3分)
#87079
(二)在1標準大氣壓定壓狀態下,水由20 °C升至100 °C之平均比熱(kJ/kg-K)。(提示:已 知 Cp = dh/dT) (3 分)
#87080
(三)水在1標準大氣壓、100 °C情況下之熵(kJ/kg-K)。(4分)
#87081
(一)性能係數(COP)。(5分)
#87082
相關試卷
114年 - 114 經濟部所屬事業機構_新進職員甄試試題_機械:1 .熱力學與熱機學 2 .流體力學與流體機械#136978
114年 · #136978
113年 - 113 經濟部所屬事業機構_新進職員甄試_機械:熱力學與熱機學、流體力學與流體機械#131206
113年 · #131206
112年 - 112 經濟部所屬事業機構_新進職員甄試_機械:熱力學與熱機學、流體力學與流體機械#116951
112年 · #116951
111年 - 111經濟部所屬事業機構_新進職員甄試_機械:1.熱力學與熱機學 2.流體力學與流體機械#111365
111年 · #111365
110年 - 110 台灣電力公司_僱用人員升任派用人員甄試:機械類#105321
110年 · #105321
110年 - 110 經濟部所屬事業機構_新進職員甄試_機械:1.熱力學與熱機學 2.流體力學與流體機械#103707
110年 · #103707
109年 - 109 經濟部所屬事業機構_新進職員甄試_機械:1.熱力學與熱機學 2.流體力學與流體機械#92853
109年 · #92853
108年 - 台灣電力公司108年度僱用人員升派用人員甄試#105371
108年 · #105371
108年 - 108 台灣電力公司_僱用人員升任派用人員甄試:機械類#105370
108年 · #105370
108年 - 108 經濟部所屬事業機構_新進職員甄試_機械:1.熱力學與熱機學 2.流體力學與流體機械#81708
108年 · #81708