阿摩線上測驗
登入
首頁
>
國營事業◆1.熱力學與熱機學 2.流體力學與流體機械
>
100年 - 100 經濟部所屬事業機構_新進職員甄試_機械:1.熱力學與熱機學 2.流體力學與流體機械#37274
> 申論題
申論題
試卷:100年 - 100 經濟部所屬事業機構_新進職員甄試_機械:1.熱力學與熱機學 2.流體力學與流體機械#37274
科目:國營事業◆1.熱力學與熱機學 2.流體力學與流體機械
年份:100年
排序:0
申論題資訊
試卷:
100年 - 100 經濟部所屬事業機構_新進職員甄試_機械:1.熱力學與熱機學 2.流體力學與流體機械#37274
科目:
國營事業◆1.熱力學與熱機學 2.流體力學與流體機械
年份:
100年
排序:
0
題組內容
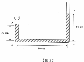
七、有一 U字型管如下【圖3】,内裝水銀,若以AB轴為回轉轴回轉時,試求以下情形之回 轉速度為多少RIM? (10分)
申論題內容
(二)A點絕對壓力P
a
為20公分汞柱(cmHg)。(3分)
詳解 (共 1 筆)
詳解
提供者:xuan8462
0.2918