阿摩線上測驗
登入
首頁
>
國營事業◆1.熱力學與熱機學 2.流體力學與流體機械
>
101年 - 101 經濟部所屬事業機構_新進職員甄試_機械:1.熱力學與熱機學 2.流體力學與流體機械#34286
> 申論題
申論題
試卷:101年 - 101 經濟部所屬事業機構_新進職員甄試_機械:1.熱力學與熱機學 2.流體力學與流體機械#34286
科目:國營事業◆1.熱力學與熱機學 2.流體力學與流體機械
年份:101年
排序:0
申論題資訊
試卷:
101年 - 101 經濟部所屬事業機構_新進職員甄試_機械:1.熱力學與熱機學 2.流體力學與流體機械#34286
科目:
國營事業◆1.熱力學與熱機學 2.流體力學與流體機械
年份:
101年
排序:
0
題組內容
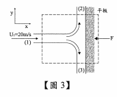
八、如【圖3】所示,有一直徑76 mm、流速為20 m/s之水柱垂直喷在平板上,假設喷至平板 後其往上往下分流量相同,水之密度為1000kg/m
3
,忽略摩擦力及重力,試求:
申論題內容
(二)需施加多少力F以維持平板固定(N)。(5分)
詳解 (共 1 筆)
詳解
提供者:楊燿銘
F=Qm * V