題組內容
題目二:【15分】
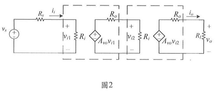
如圖2所示的電路為採用兩個相同的電壓放大器所形成之串級放大器,假設該電壓放大器 之輸入阻抗Ri=9kΩ,輸出阻抗Ro=1kΩ,開路電壓增益
=10V/V,且所連接之信號源電阻Rs=6kΩ,負載
=3kΩ。求此電路之

=10V/V,且所連接之信號源電阻Rs=6kΩ,負載
=3kΩ。求此電路之
(2)電流增益
【5分】
=10V/V,且所連接之信號源電阻Rs=6kΩ,負載
=3kΩ。求此電路之
(2)電流增益
【5分】