阿摩線上測驗 登入

申論題資訊

試卷:94年 - 94年 - 94 大學入學考試中心_指定科目考試:物理#110062
科目:高中指考◆物理
年份:94年
排序:0

題組內容

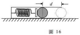
一 、 一 圓 筒 位 在 水 平 桌 面 上,力 常 數 為 k 的 彈 簧 之 一 端 固 定 在 圓 筒 的 一 個 端 面 上、另 一 端頂著一顆小彈珠,如圖 1 6 所示。當彈簧既不被壓縮或伸長時,彈珠的中心剛好 位在圓筒的開口端。小明緩緩施水平力於彈 珠,使彈簧被壓縮一段距離 d 後放開, 使彈珠由靜止被彈出。設圓筒與彈珠的質量分別為 M 及 m,且所有摩擦力、彈簧 質量及頂著彈珠的平板質量均可不計。
62eca8d94594d.jpg

申論題內容

(2) 若圓筒可以自由滑動,則當彈珠位在圓筒開口端 時,其相對於桌面的速率為何? (以 M, m, k 及 d 表 示 ) (4 分 )