阿摩線上測驗
登入
首頁
>
中山◆電機◆計算機結構
>
107年 - 107 國立中山大學_碩士班招生考試_電機系(己組):計算機結構#110036
>
題組內容
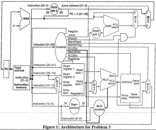
3.[20%] Figure 1 shows a complete datapath with control for MIPS CPU.
(b) [5%] Explain in detail how the architecture shown in Figure 1 is used to execute a jump instruction (e.g., j Ll) step-by-step.
其他申論題
(b) [5%] Add X and Y, and represent the result using IBEE 754 single precision format
#471346
(c)5%] Multiply X and Y, and represent the result using IEEE 754 single precision format
#471347
2.[20%] Translate the following C code to the minimum MIPS assembly instructions At the beginning of this code segment, the only values in registers are the base address of arrays A and B in registers $a1 and $a2. Assume that the values of i is stored in the register $s0
#471348
(a) [5%] Explain in detail how the architecture shown in Figure 1 is used to execute an I-type instruction (e.g., addi $s3, $s3, 1) step-by-step.
#471349
(c) [5%] Describe in detail how this architecture is used to execute a load instruction (e.g., Iw $t0, 32($s3) ) step-by-step.
#471351
(d) [5%] Explain in detail how the architecture shown in Figure 1 is used to execute a branch instruction (e.g., beq $t0, $s5, Exit) step-by-step.
#471352
(a) [5%] Explain the functions of the five pipeline stages of the pipelined MIPS CPU, respectively.
#471353
(b) [6%] Use examples to explain the three types of hazards of the pipelined MIPS CPU, respectively.
#471354
(c)[9%] Explain in detail how we can solve the three types of hazards of the pipelined MIPS CPU based on the architecture shown in Figure 2, respectively.
#471355
(a) [4%] Explain what two localities of memory data are and give examples, respectively.
#471356