所屬科目:高中◆資優◆物理
2. 兩木塊自左向右運動,現用高速攝影機在同一底片上多次曝光,記錄兩木塊每次曝光時的位置,如 圖所示,連續兩次曝光的時間間隔是相等的。則下列選項何者正確?(單選) 。(A)在時刻 t2以及時刻 t5兩木塊速度相同 (B)在時刻 t3兩木塊速度相同 (C)在時刻 t3和時刻 t4之間某瞬時兩木塊速度相同 (D)在時刻 t4和時刻 t5之間某瞬時兩木塊速度相同
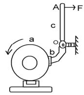
5. 如圖所示是一種手控制動器,a 是一個轉動著的輪子,b 是摩擦制動片,c 是槓桿,O 是其固定轉動 軸,手在 A 點施加一個作用力 F 時,b 將壓緊輪子,使輪子制動(即減速), 若使輪子制動所需要的力矩是一定的,則下列說法何者正確?(單選) ________ 。 (A)輪 a 逆時針轉動時,所需的力 F 較小 (B)輪 a 順時針轉動時,所需的力 F 較小 (C)無論 a 逆時針還是順時針轉動,所需的力 F 相同 (D)無法比較力 F 的大小
7. 如圖所示,在水平地面上放著 A、B 兩個物體,質量分別 M、m,且 M>m,它們與地面的動摩擦係數分別為μA、μB,用一細線連接 A、B, 細線與水平方向成θ角,在 A 物上加一水平拉力 F,使兩物體作直線運 動,則下列選項何者敘述正確? 。(複選,全對才給分) (A)若μA=μB,F 與θ無關 (B)若μA=μB,θ越大,F 越大 (C)若μA<μB,θ越小,F 越大 (D)若μA>μB,θ越大,F 越大 (E)若μA>μB,θ越小,F 越大
6. 如圖所示,質量為 M 的木箱放在水平地面上,一輕質彈簧上端固定在木箱 上,下端掛一個質量為 m 的小球,小球上下振動時,木箱始終沒有跳起,設 重力加速度為 g,當木箱對地面的壓力為零的瞬間,小球加速度的大小為 ________。(以 M、m 及 g 表示之)
14.右圖中有三個電阻器,每個電阻都是 4Ω,安培計的電阻不計。若在 b 和 c 兩點之 間加上 6V 的固定電壓,則安培計的讀數為 ___________A?
16.如右圖所示,在一直線上有兩個點電荷,電量為+4Q 的點電荷固定 於 x=5a 處,電量為-Q 的點電荷固定於 x=9a 處,將一點電荷-Q 置於直線上_________ 處時,此-Q 電荷所受的靜電力為 0?
17.如附圖所示,實線為一列向右方行進的橫波在 t=0 時之波形,而虛線 則為此列橫波在 t=5 秒時之波形,已知此列橫波週期 T 大於 5 秒,則 此列橫波波速為 __________m/s?
19.有一臺冷氣機,當壓縮機運轉時,其電功率為 2000 W,當只送風時, 電功率為 500 W。今冷氣機運轉後,發現其電功率與時間的關係如附圖 所示,請問用電 1 小時後,總共用了________ 度電?