所屬科目:捷運◆機件(械)原理
3. 如圖所示,其合力位置與 A 點的距離為多少 m? (A)1 (B) 2 (C)4 (D)6。
4. 如圖所示之矩形斷面對形心軸 y – y 之面積慣性矩 Iyy為: (A)216 mm4 (B) 864 mm4 (C)1296 mm4 (D)592 mm4 。
6. 如圖所示,纜繩 AB 及 BC 一起懸掛重量 105 N 的木箱 W,已知纜 繩 AB 所受到之張力為 TAB = 100 N,則纜繩 BC 的張力 TBC為多少 N? (A)50 (B)65 (C)87 (D)156。
9. 如圖所示之樑 AB 受分布力作用,試求支點 A 處之反力為多少 N? (A)1050 (B)1350 (C)1800 (D)2250。
12. 如圖所示的矩形鐵板,長度為 200 mm,寛度為 60 mm,厚度為 10 mm,其正中央有一直徑 10 mm 的圓孔。若兩端承受拉力 P = 2400 N,該鐵板承受最大拉應力為: (A) 0.2 Mpa (B) 0.4 Mpa (C)4.8 Mpa (D) 5.4 Mpa。
33. 如下圖所示,螺旋之導程為 10mm,迴轉半徑 R 為 25cm,摩擦的損 失為 20%,則以 20N 之力 F 能旋起懸於 B 螺旋套上之重物 W 多少 N? (註:π≒3.14)? (A)3140 (B)2512 (C)3000 (D)3500。
35. 如下圖所示之齒輪 A 有 100 齒,B 有 50 齒,C 有 125 齒,D 有 25 齒之輪系,若 A 輪是主動輪,D 輪是從動輪,則輪系值是 (A)0.1 (B)1 (C)10 (D)20。
36. 設 A 及 B 兩個正齒輪組成之周轉輪系,如下圖所示,A 輪有 30 齒, B 輪有 10 齒, 且 A 輪固定不動,若旋轉臂 m 順時鐘方向每分鐘 10 轉,則 B 輪之轉速為 (A)200 (B)30 (C)40 (D)60 rpm。
37. 有一制動器如下圖所示,輪徑為 400 mm,摩擦係數為 0.4,今輪子 承受一扭矩 800 N-cm,欲將此旋轉輪完全煞住,則需煞車力 P 約為 多少 N ? (A)31 (B)55 (C)63 (D)74。
38. 如下圖所示滑車組,不考慮摩擦及滑輪重,其機械利益為 (A)2 (B)3 (C)4 (D)5。
39. 如下圖所示之滑車,若施力 F 為 100N,且機械效率 80%,則可吊起 重物 W 為 (A)120(B)240 (C)300 (D)360 N。
40. 如下圖所示為一曲柄滑塊機構, =40cm,AB 桿以 60rpm 逆時針方向迴轉,滑塊之最大速度為 (A)20 (B)40 (C)20π (D)40π cm/sec。
41. 如下圖所示之運動鏈為 (A) 拘束鏈 (B) 呆鏈 (C) 無拘束鏈 (D) 固定鏈。
43. 如下圖所示,一半徑 10 in 輪以皮帶傳動一半徑 5 in 之輪,當大 輪轉速為 100 rpm 時,上方皮帶的線速度為 (A)2000 (B)6280 (C)3140 (D)4710 in/min。
46. 如下圖所示,有一螺旋千斤頂,螺旋導程 10 mm,手柄作用之力臂 R = 200 mm,端點處作用力 F = 50 N,則不計摩擦損失,能舉起重 量 W 若干?又機械利益 M 為若干? (A) W=6280 N,M= 125.6 (B) W=6000 N,M=100 (C) W =4280 N, M=120 (D) W=5280 N,M=115。
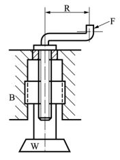
49. 如下圖所示,則 P 與 Q 之關係為 (A)Q=P (B)Q=(a/A)P (C)P=(A/a)Q (D)P=(a/A)Q。