所屬科目:工程力學(含靜力學、動力學與材料力學)
一、如圖所示之均勻桿件於底部0點銷接可轉動,並裝設一彈簧常數為炙之 扭轉彈簧支撐。桿件質量為m、長度為I,並與垂直方向重力(重力加 速度為g )之夾角座標為θ,θ = 0°時彈簧沒有扭轉力矩。試求θ = 0°為 其靜平衡位置且若為穩定平衡(stable equilibrium)則桿件長度之限制。
(20 分)
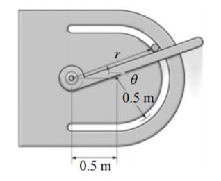
二、如圖中有一質點質量為0.75 kg,在圖中水平面上之圓形溝槽藉由搖桿移 動(即重力垂直於圖面)。圓形溝槽之半徑為0.5 m。當逆時針旋轉0 = 30° 之瞬間,搖桿之角速度為2 rad/s,角加速度為0.4 rad/s2,在無摩擦之情 形下,試求溝槽作用於質點上之力量。(20分)
四、如圖所示之兩根實心轴由轴端凸緣(flange )及螺拴連接,但因螺栓與 凸緣孔間有些許間隙,因此造成兩凸緣在受力矩耦合前會有1.5°的相對 空轉。已知材料剪力模數G = 77 GPa,試求如圖施加T = 570 N-m力矩 後,兩根轴分別之最大扭轉剪應力。(20分)