所屬科目:技師◆材料力學
(一)請計算混凝土塊之體積變化量△V ( mm3 )。
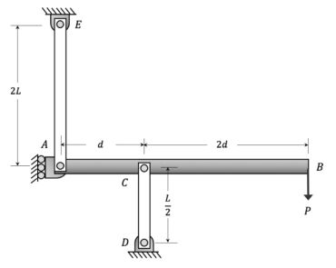
四、一樑 AB 由兩柱 CD 柱及 AE 柱支撐(如圖所示) ,兩柱有相同之彈性模 1 數(E)及慣性矩(I) ,長度分別為 L 及 2L 。若在 B 點受一向下力 P,請計算臨界載重,並使用 E、I、L 表示。(25 分)