所屬科目:應用力學
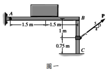
一、如圖一所示,樑AB承受一重量為2800 N的均勻石塊,樑的左端受銷支撐、右端受一重量為400 N的短柱支撐。樑的質量及厚度與短柱的厚度皆可忽略不計。在B及C處的靜摩擦係數皆為0.32,試求可使短柱移動的最小外力 P為多少。(25分)
四、如圖四所示,大塊木料B的重量為1260 N。所有接觸面的靜摩擦係數皆為=1/3 。楔子A的重量可以忽略不計。試求能使楔子A往右移動的最小力量 P。 (25分)