所屬科目:應用力學
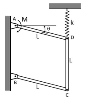
三、連桿機構如圖所示,每根桿件質量為 m,長度為 L。彈簧彈性常數為 k。 當轉角 θ 等於 0 時,彈簧無伸長量。請推導力矩 M(作用在 A 點)與轉 角 θ 之平衡關係式(將 M 用 L、θ、k、m 等來表示) 。假設連桿機構作動時,彈簧均保持在垂直方向。(25 分)