題組內容
二、請依據〔A 技術〕 、〔B 技術〕及〔C 技術〕作為申請案之技術內容及請求項,回答以下問題:(每小題 10 分,共 30 分)
〔A 技術〕
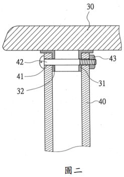
一種桌腳固定結合結構,主要是針對組合桌之桌面(30)與桌腳(40) 的組裝結合而設計(如圖一、圖二),使其在組裝上更為簡速且穩固 者;其特徵係在於:該桌腳(40)乃具有中空之內徑孔,而該桌面(30) 底部欲結合組設桌腳(40)的預定部位則預製有套合體(31),該套合體(31)上設有相對貫穿之栓孔(32)(41),套合體的型態及尺徑 乃與桌腳的中空內徑相符,據以將桌腳套設於套合體的外部,再以螺栓(42)及螺帽(43)加以固定,即得快速取得套合體與桌腳套合關係之定位維持,進而以套合體為介面而完成桌面與桌腳的組裝結合, 並賦予極佳之結合穩固性者。


〔B 技術〕
一種桌腳固定結合結構,……,再以螺釘加以固定,……(省略段落如〔A 技術〕之文字記載,差異部分以方框標示) ,並賦予極佳之結 合穩固性者。
〔C 技術〕
一種桌腳固定結合結構,……,再以固定元件加以固定,……(省略段落如〔A 技術〕之文字記載,差異部分以方框標示),並賦予極佳 之結合穩固性者。
一種桌腳固定結合結構,主要是針對組合桌之桌面(30)與桌腳(40) 的組裝結合而設計(如圖一、圖二),使其在組裝上更為簡速且穩固 者;其特徵係在於:該桌腳(40)乃具有中空之內徑孔,而該桌面(30) 底部欲結合組設桌腳(40)的預定部位則預製有套合體(31),該套合體(31)上設有相對貫穿之栓孔(32)(41),套合體的型態及尺徑 乃與桌腳的中空內徑相符,據以將桌腳套設於套合體的外部,再以螺栓(42)及螺帽(43)加以固定,即得快速取得套合體與桌腳套合關係之定位維持,進而以套合體為介面而完成桌面與桌腳的組裝結合, 並賦予極佳之結合穩固性者。


〔B 技術〕
一種桌腳固定結合結構,……,再以螺釘加以固定,……(省略段落如〔A 技術〕之文字記載,差異部分以方框標示) ,並賦予極佳之結 合穩固性者。
〔C 技術〕
一種桌腳固定結合結構,……,再以固定元件加以固定,……(省略段落如〔A 技術〕之文字記載,差異部分以方框標示),並賦予極佳 之結合穩固性者。