題組內容
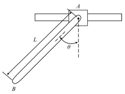
二、一根質量 5 公斤,長度 3 公尺的均勻桿 AB,透過銷釘連接至滑塊 A。滑塊 A 的質量為 4 公斤,且可沿著光滑的水平導軌滑動。系統最初處於靜止狀態時,桿位於如圖所示位置θ = 45°位置。重力加速度 g = 9.81 m/s2。求系統釋放後的瞬間狀態:
(二)滑塊 A 的加速度(含方向)。
二、一根質量 5 公斤,長度 3 公尺的均勻桿 AB,透過銷釘連接至滑塊 A。滑塊 A 的質量為 4 公斤,且可沿著光滑的水平導軌滑動。系統最初處於靜止狀態時,桿位於如圖所示位置θ = 45°位置。重力加速度 g = 9.81 m/s2。求系統釋放後的瞬間狀態:
(二)滑塊 A 的加速度(含方向)。